makita 2414EN Portable Cut-Off

SPECIFICATIONS
| Model | 2414EN | |
| Wheel diameter | 355 mm | |
| Hole diameter | 25.4 mm | |
| No load speed (min-1) | 3,800 | |
| Dimensions (L x W x H) | With under cover | 500 mm x 280 mm x 620 mm |
| Net weight | With European type safety guard and under cover | 17.6 kg |
| Safety class | /II | |
- Due to our continuing program of research and development, the specifications herein are subject to change without notice.
- Specifications may differ from country to country.
- Weight according to EPTA-Procedure 01/2003
Symbols
The following show the symbols used for the equipment.
Be sure that you understand their meaning before use.
- Read instruction manual.
- DOUBLE INSULATION
- Wear safety glasses.
- Only for EU countries
Do not dispose of electric equipment together with household waste material! In observance of European Directive 2002/96/EC on waste electric and electronic equipment and its implementation in accordance with national law, electric equipment that have reached the end of their life must be collected separately and returned to an environmentally compatible recycling facility.
Intended use
The tool is intended for cutting in ferrous materials with appropriate abrasive cut-off wheel. Follow all laws and regulations regarding dust and work area health and safety in your country.
Power supply
The tool should be connected only to a power supply of the same voltage as indicated on the nameplate, and can only be operated on single-phase AC supply. They are double-insulated and can, therefore, also be used from sockets without earth wire.
For public low-voltage distribution systems of between 220 V and 250 V.
Switching operations of electric apparatus cause voltage fluctuations. The operation of this device under unfavorable mains conditions can have adverse effects to the operation of other equipment. With a mains impedance equal or less than 0.21 Ohms it can be presumed that there will be no negative effects. The mains socket used for this device must be protected with a fuse or protective circuit breaker having slow tripping characteristics.
Noise
The typical A-weighted noise level determined according to EN61029:
Sound pressure level (LpA) : 102 dB(A)
Sound power level (LWA) : 112 dB(A)
Uncertainty (K) : 3 dB(A)
Wear ear protection
Vibration
The vibration total value (tri-axial vector sum) determined according to EN61029:
Vibration emission (ah) : 3.5 m/s2
Uncertainty (K) : 1.5 m/s2
- The declared vibration emission value has been measured in accordance with the standard test method and may be used for comparing one tool with another.
- The declared vibration emission value may also be used in a preliminary assessment of exposure.
WARNING:
- The vibration emission during actual use of the power tool can differ from the declared emission value depending on the ways in which the tool is used.
- Be sure to identify safety measures to protect the operator that are based on an estimation of exposure in the actual conditions of use (taking account of all parts of the operating cycle such as the times when the tool is switched off and when it is running idle in addition to the trigger time).
For European countries only
EC Declaration of Conformity
We Makita Corporation as the responsible manufacturer declare that the following Makita machine(s):
Designation of Machine:
Portable Cut-Off
Model No./ Type: 2414EN
are of series production and
Conforms to the following European Directives:
2006/42/EC
And are manufactured in accordance with the following standards or standardised documents:
The technical documentation is kept by:
Makita International Europe Ltd.
Technical Department,
Michigan Drive, Tongwell,
Milton Keynes, Bucks MK15 8JD, England
27.2.2012
Tomoyasu Kato
Director
Makita Corporation
3-11-8, Sumiyoshi-cho,
Anjo, Aichi, 446-8502, JAPAN
SAFETY INSTRUCTIONS
WARNING! When using electric tools, basic safety precautions, including the following, should always be followed to reduce the risk of fire, electric shock and personal injury. Read all these instructions before operating this product and save these instructions.
For safe operations:
- Keep work area clean.
Cluttered areas and benches invite injuries. - Consider work area environment.
Do not expose power tools to rain. Do not use power tools in damp or wet locations. Keep work area well lit. Do not use power tools where there is risk to cause fire or explosion. - Guard against electric shock.
Avoid body contact with earthed or grounded surfaces (e.g. pipes, radiators, ranges, refrigerators). - Keep children away.
Do not let visitors touch the tool or extension cord.
All visitors should be kept away from work area. - Store idle tools.
When not in use, tools should be stored in a dry, high or locked up place, out of reach of children. - Do not force the tool.
It will do the job better and safer at the rate for which it was intended. - Use the right tool.
Do not force small tools or attachments to do the job of a heavy duty tool. Do not use tools for purposes not intended; for example, do not use circular saws to cut tree limbs or logs. - Dress properly.
Do not wear loose clothing or jewellery, they can be caught in moving parts. Rubber gloves and non-skid footwear are recommended when working outdoors. Wear protecting hair covering to contain long hair. - Use safety glasses and hearing protection.
Also use face or dust mask if the cutting operation is dusty. - Connect dust extraction equipment.
If devices are provided for the connection of dust extraction and collection facilities ensure these are connected and properly used. - Do not abuse the cord.
Never carry the tool by the cord or yank it to disconnect it from the socket. Keep the cord away from heat, oil and sharp edges. - Secure work.
Use clamps or a vice to hold the work. It is safer than using your hand and it frees both hands to operate the tool. - Do not overreach.
Keep proper footing and balance at all times. - Maintain tools with care.
Keep cutting tools sharp and clean for better and safer performance. Follow instructions for lubrication and changing accessories. Inspect tool cord periodically and if damaged have it repaired by an authorized service facility. Inspect extension cords periodically and replace, if damaged. Keep handles dry, clean and free from oil and grease. - Disconnect tools.
When not in use, before servicing and when changing accessories such as blades, bits andcutters. - Remove adjusting keys and wrenches.
Form the habit of checking to see that keys and adjusting wrenches are removed from the tool before turning it on. - Avoid unintentional starting.
Do not carry a plugged-in tool with a finger on the switch. Ensure switch is off when plugging in. - Use outdoor extension leads.
When tool is used outdoors, use only extension cords intended for outdoor use. - Stay alert.
Watch what you are doing. Use common sense.
Do not operate tool when you are tired. - Check damaged parts.
Before further use of the tool, a guard or other part that is damaged should be carefully checked to determine that it will operate properly and perform its intended function. Check for alignment of moving parts, free running of moving parts,breakage of parts, mounting and any other conditions that may affect its operation. A guard or other part that is damaged should be properly repaired or replaced by an authorized service center unless otherwise indicated in this instruction manual. Have defective switches replaced by an authorized service facility. Do not use the tool if the switch does not turn it on and off. - Warning.
The use of any accessory or attachment, other than those recommended in this instruction manual or the catalog, may present a risk of personal injury. - Have your tool repaired by a qualified person.
This electric tool is in accordance with the relevant safety requirements. Repairs should only be carried out by qualified persons using original spare parts, otherwise, this may result in considerable danger to the user.
ADDITIONAL SAFETY RULES FOR TOOL
- Wear protective glasses. Also wear hearing protection during extended periods of operation.
- Use only wheels recommended by the manufacturer which have a maximum operating speed at least as high as “No Load RPM” marked on the tool’s nameplate. Use only fiberglass-reinforced cut-off wheels.
- Check the wheel carefully for cracks or damage before operation. Replace cracked or damaged wheel immediately.
- Secure the wheel carefully.
- Use only flanges specified for this tool.
- Be careful not to damage the spindle, flanges (especially the installing surface) or bolt, or the wheel itself might break.
- Keep guards in place and in working order.
- Hold the handle firmly.
- Keep hands away from rotating parts.
- Make sure the wheel is not contacting the work-piece before the switch is turned on.
- Before using the tool on an actual workpiece, let it simply run for several minutes first.
Watch for flutter or excessive vibration that might be caused by poor installation or a poorly balanced wheel. - Watch out for flying sparks when operating.
They can cause injury or ignite combustible materials. - Remove material or debris from the area that might be ignited by sparks. Be sure that others are not in the path of the sparks. Keep a proper, charged fire extinguisher closely available.
- Use the cutting edge of the wheel only. Never use side surface.
- If the wheel stops during the operation, makes an odd noise or begins to vibrate, switch off the tool immediately.
- Always switch off and wait for the wheel to come to a complete stop before removing, securing workpiece, working vise, changing work position, angle or the wheel itself.
- Do not touch the workpiece immediately after operation; it is extremely hot and could burn your skin.
- Store wheels in a dry location only.
- Ensure that ventilation openings are kept clear when working in dusty conditions. If it should become necessary to clear dust, first disconnect the tool from the mains supply ( use non metallic objects ) and avoid damaging internal parts.
INSTALLATION
Securing cut-off

This tool should be bolted with two bolts to a level and stable surface using the bolt holes provided in the tool’s base. This will help prevent tipping and possible personal injury.
FUNCTIONAL DESCRIPTION
CAUTION:
- Always be sure that the tool is switched off and unplugged before adjusting or checking function on the tool.
Switch action

CAUTION:
- Before plugging in the tool, always check to see that the switch trigger actuates properly and returns to the “OFF” position when released.
For tool with lock-off button
To prevent the switch trigger from being accidentally pulled, a lock-off button is provided.
To start the tool, depress the lock-off button and pull the switch trigger. Release the switch trigger to stop.
Spark guard

The spark guard is factory-installed with its lower edge contacting the base. Operating the tool in this position will cause many sparks to fly around. Loosen the screw and adjust the spark guard to a position at which minimum sparks will fly around.
Interval between vise and guide plate

The original spacing or interval between the vise and the guide plate is 0 – 170 mm. If your work requires wider spacing or interval, proceed as follows to change the spacing or interval.
Remove the two hex bolts which secure the guide plate.
Move the guide plate as shown in the figure and secure it using the hex bolts. The following interval settings are possible:
35 – 205 mm
70 – 240 mm

CAUTION:
- Remember that narrow workpieces may not be secured safely when using the two, wider interval settings.
Setting for desired cutting angle

To change the cutting angle, follow the procedure below:
- Loosen the two hex bolts.
- Set the guide plate to the desired angle (0° – 45°).
- For more accurate angle, use a protractor or triangle ruler. Keep the handle down so that the cut-off wheel extends into the base. At the same time, adjust the angle between the guide plate and the cut-off wheel with a protractor or triangle ruler.
- Tighten the hex bolts securely. At this time, make sure that the guide rule does not move.
- Check the angle again.
CAUTION:
- Never perform miter cuts when the guide plate is set at the 35 – 205 mm or 70 – 240 mm position.
NOTE:
• The scale on the guide plate is only a rough indication.
ASSEMBLY
CAUTION:
• Always be sure that the tool is switched off and unplugged before carrying out any work on the tool.
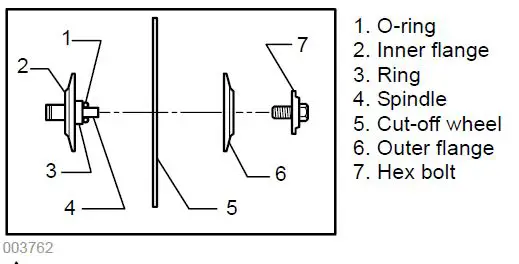
Removing or installing cut-off wheel


To remove the wheel, loosen the clamping screw, holdthe safety guide by both hands and raise it, then slide the safety guide towards yourself.

Press the shaft lock so that the wheel cannot revolve and use the socket wrench to loosen the hex bolt by turning it counterclockwise. Then remove the hex bolt, outer flange and wheel. (Note: Do not remove the inner flange, ring and O-ring.)
To install the wheel, follow the removal procedures in reverse.

CAUTION:
- Be sure to tighten the hex bolt securely.
Insufficient tightening of the hex bolt may result in severe injury. Use the socket wrench provided to help assure proper tightening. - Always use only the proper inner and outer flanges which are provided with this tool.
- Always lower the safety guard after replacing the wheel.
Securing workpiece

By turning the vise handle counterclockwise and then flipping the vise nut to the back, the vise is released from the shaft threads and can be moved rapidly in and out. To grip workpieces, push the vise handle until the vise plate contacts the workpiece. Flip the vise nut to the front and then turn the vise handle clockwise to securely retain the workpiece.
CAUTION:
- Always set the vise nut to the front fully when securing the workpiece. Failure to do so may result in insufficient securing of the workpiece.
This could cause the workpiece to be ejected or cause a dangerous breakage of the wheel.
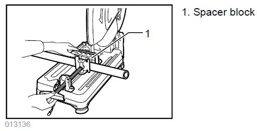
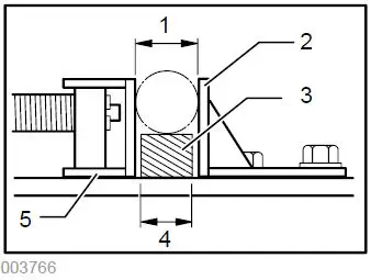
When the cut-off wheel has worn down considerably, use a spacer block of sturdy, non-flammable material behind the workpiece as shown in the figure. You can more efficiently utilize the worn wheel by using the mid point on the periphery of the wheel to cut the workpiece.

When cutting workpieces over 65 mm wide at an angle, attach a straight piece of wood (spacer) over 190 mm long x 45 mm wide to the guide plate as shown in the figure. Attach this spacer with screws through the holes
in the guide plate.

- Guide plate
- Straight piece of wood (Spacer)
- Over 45 mm long
- Over 65 mm long
- Over 190 mm long
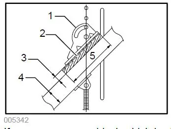
If you use a spacer block which is slightly narrower than the workpiece as shown in the figure, you can also utilize the wheel economically.

- Diameter of workpiece
- Guide plate
- Spacer block
- Width of spacer block
- Vise
Long workpieces must be supported by blocks of nonflammable material on either side so that it will be level with the base top.

- Blocks
OPERATION
Hold the handle firmly. Switch on the tool and wait until the wheel attains full speed before lowering gently into the cut. When the wheel contacts the workpiece, gradually bear down on the handle to perform the cut. When the cut is completed, switch off the tool and WAIT UNTIL THE
WHEEL HAS COME TO A COMPLETE STOP before returning the handle to the fully elevated position.
CAUTION:
- Proper handle pressure during cutting and maximum cutting efficiency can be determined by the amount of sparks that is produced while cutting. Your pressure on the handle should be adjusted to produce the maximum amount ofsparks. Do not force the cut by applying excessive pressure o n the handle. Reduced cutting efficiency, premature wheel wear, as well as, possible damage to the tool, cut-off wheel or workpiece may result.
Cutting capacity
Max. cutting capacity varies depending upon the cutting angle and workpiece shape. Applicable wheel diameter: 355 mm

For tools with the undercover

- Undercover
- Wing bolt
To remove the collected dust from the undercover, place the tool with its side up and pull the undercover open after removing the wing bolt as shown in the figure.
Be sure to close and secure the undercover with the wing bolt after the removal of dust.
Carrying tool

Fold down the tool head to the position where you can attach the chain to the hook on the handle.
MAINTENANCE
CAUTION:
- Always be sure that the tool is switched off and unplugged before attempting to perform inspection or maintenance.
- Never use gasoline, benzine, thinner, alcohol or the like. Discoloration, deformation or cracks may result.
The tool and its air vents have to be kept clean.
Regularly clean the tool’s air vents or whenever the vents start to become obstructed.
Replacing carbon brushes

Remove and check the carbon brushes regularly.
Replace when they wear down to the limit mark. Keep the carbon brushes clean and free to slip in the holders.
Both carbon brushes should be replaced at the same time. Use only identical carbon brushes.
Use a screwdriver to remove the brush holder caps.
Take out the worn carbon brushes, insert the new ones and secure the brush holder caps.

To maintain product SAFETY and RELIABILITY, repairs, any other maintenance or adjustment should be performed by Makita Authorized Service Centers,always using Makita replacement parts.
OPTIONAL ACCESSORIES
CAUTION:
- These accessories or attachments are recommended for use with your Makita tool specified in this manual. The use of any other accessories or attachments might present a risk of injury to persons. Only use accessory or
attachment for its stated purpose.
If you need any assistance for more details regarding these accessories, ask your local Makita Service Center. - Abrasive cut-off wheels
- Socket wrench 17
NOTE: - Some items in the list may be included in the tool package as standard accessories. They may differ from country to country.
Makita Corporation
Anjo, Aichi, Japan
www.makita.com




















