RS001G Cordless Rear Handle Saw

INSTRUCTION MANUAL
Cordless Rear Handle Saw
RS001G
Read before use.
SPECIFICATIONS
| Model: | RS001G | |
| Blade diameter | 185 mm | |
| Max. Cutting depth | at 0° | 65 mm |
| at 45° bevel | 45 mm | |
| at 53° bevel | 38 mm | |
| No-load speed 6,400 min’ | ||
| Overall length | 446 mm | |
| Rated voltage | D.C. 36 V – 40 V max | |
| Net weight | 5.0 – 5.6 kg | |
- Due to our continuing program of research and development, the specifications herein are subject to change without notice.
- Specifications may differ from country to country.
- The weight may differ depending on the attachment(s), including the battery cartridge. The lightest and heaviest combinations, according to EPTA-Procedure 01/2014, are shown in the table.
Applicable battery cartridge and charger
| Battery cartridge | BL4025 / BL4040* / BL4050F* * : Recommended battery |
| Charger | DC40RA / DC40RB / DC40RC |
WARNING: Only use the battery cartridges and chargers listed above. Use of any other battery cartridges and chargers may cause injury and/or fire.
Symbols
The followings show the symbols which may be used for the equipment. Be sure that you understand their meaning before use.
Read the instruction manual.
Wear safety glasses.
Only for EU countries
Do not dispose of electric equipment or battery packs together with household waste material!
In observance of the European Directives, on Waste Electric and Electronic Equipment and Batteries and Accumulators and Waste Batteries and Accumulators and their implementation in accordance with national laws, electric equipment and batteries and battery pack(s) that have reached the end of their life must be collected separately and returned to an environmentally compatible recycling facility.
Intended use
The tool is intended for performing lengthways and crossways straight cuts and miter cuts with angles in wood while in firm contact with the workpiece.
Noise
The typical A-weighted noise level determined according to EN62841-2-5:
Sound pressure level (LpA) : 92 dB(A)
Sound power level (LWA) : 103 dB (A)
Uncertainty (K) : 3 dB(A)
NOTE: The declared noise emission value(s) has been measured in accordance with a standard test method and may be used for comparing one tool with another.
NOTE: The declared noise emission value(s) may also be used in a preliminary assessment of exposure.
WARNING: Wear ear protection.
WARNING: The noise emission during actual use of the power tool can differ from the declared value(s) depending on the ways in which the
the tool is used especially what kind of workpiece is processed.
WARNING: Be sure to identify safety mea- sures to protect the operator that is based on an estimation of exposure in the actual conditions of
use (taking account of all parts of the operating cycle such as the times when the tool is switched off and when it is running idle in addition to the
trigger time).
Vibration
The vibration total value (tri-axial vector sum) determined according to EN62841-2-5:
Work mode: cutting wood
Vibration emission (ah,W) : 2.5 m/s² or less
Uncertainty (K) : 1.5 m/s²
NOTE: The declared vibration total value(s) has been measured in accordance with a standard test method and may be used for comparing one tool with another.
NOTE: The declared vibration total value(s) may also be used in a preliminary assessment of exposure.
WARNING: The vibration emission during actual use of the power tool can differ from the declared value(s) depending on the ways in which
the tool is used especially what kind of workpiece is processed.
WARNING: Be sure to identify safety measures to protect the operator that are based on an estimation of exposure in the actual conditions of use
(taking account of all parts of the operating cycle such as the times when the tool is switched off and when it is running idle in addition to the trigger
time).
EC Declaration of Conformity
For European countries only
The EC declaration of conformity is included as Annex A to this instruction manual.
SAFETY WARNINGS
General power tool safety warnings
WARNING: Read all safety warnings, instructions, illustrations, and specifications provided with this power tool. Failure to follow all instructions listed below may result in electric shock, fire, and/or serious injury.
Save all warnings and instructions for future reference.
The term “power tool” in the warnings refers to your mains-operated (corded) power tool or battery-operated (cordless) power tool.
Work area safety
- Keep work area clean and well-lit. Cluttered or dark areas invite accidents.
- Do not operate power tools in explosive atmospheres, such as in the presence of flammable liquids, gases, or dust. Power tools create sparks that may ignite dust or fumes.
- Keep children and bystanders away while operating a power tool. Distractions can cause you to lose control.
Electrical safety
- Power tool plugs must match the outlet. Never modify the plug in any way. Do not use any adapter plugs with earthed (grounded) power Unmodified plugs and matching outlets will reduce the risk of electric shock.
- Avoid body contact with earthed or grounded surfaces, such as pipes, radiators, ranges and There is an increased risk of electric shock if your body is earthed or grounded.
- Do not expose power tools to rain or wet con Water entering a power tool will increase the risk of electric shock.
- Do not abuse the cord. Never use the cord for carrying, pulling, or unplugging the power tool. Keep cord away from heat, oil, sharp edges, or moving parts. Damaged or entangled cords increase the risk of electric shock.
- When operating a power tool outdoors, use an extension cord suitable for outdoor use. The use of a cord suitable for outdoor use reduces the risk of electric shock.
- If operating a power tool in a damp location is unavoidable, use a residual current device (RCD) protected supply. The use of an RCD reduces the risk of electric shock.
- Power tools can produce electromagnetic fields (EMF) that are not harmful to the user. However, users of pacemakers and other similar medical devices should contact the maker of their device and/or doctor for advice before operating this power tool.
Personal safety
- Stay alert, watch what you are doing, and use common sense when operating a power tool. Do not use a power tool while you are tired or under the influence of drugs, alcohol, or medication. A moment of inattention while operating power tools may result in serious personal injury.
- Use personal protective equipment. Always wear eye protection. Protective equipment such as a dust mask, non-skid safety shoes, hard hat or hearing protection used for appropriate conditions will reduce personal injuries.
- Prevent unintentional starting. Ensure the switch is in the off-position before connecting to a power source and/or battery pack, picking up or carrying the tool. Carrying power tools with your finger on the switch or energizing power tools that have the switch on invites accidents.
- Remove any adjusting key or wrench before turning the power tool on. A wrench or a key left attached to a rotating part of the power tool may result in personal injury.
- Do not overreach. Keep proper footing and balance at all times. This enables better control of the power tool in unexpected situations.
- Dress properly. Do not wear loose clothing or Keep your hair and clothing away from moving parts. Loose clothes, jewelry or long hair can be caught in moving parts.
- If devices are provided for the connection of dust extraction and collection facilities, ensure these are connected and properly used. Use of dust collection can reduce dust-related hazards.
- Do not let familiarity gained from frequent use of tools allow you to become complacent and ignore tool safety principles. A careless action can cause severe injury within a fraction of a second.
- Always wear protective goggles to protect your eyes from injury when using power tools.
The goggles must comply with ANSI Z87.1 in the USA, EN 166 in Europe, or AS/NZS 1336 in Australia/New Zealand. In Australia/New Zealand, it is legally required to wear a face shield to protect your face, too.

It is an employer’s responsibility to enforce the use of appropriate safety protective equipment by the tool operators and by other persons in the immediate working area.
Power tool use and care
- Do not force the power tool. Use the correct power tool for your application. The correct power tool will do the job better and safer at the rate for which it was designed.
- Do not use the power tool if the switch does not turn on and off. Any power tool that cannot be controlled with the switch is dangerous and must be repaired.
- Disconnect the plug from the power source and/or remove the battery pack, if detachable, from the power tool before making any adjustments, changing accessories, or storing power Such preventive safety measures reduce the risk of starting the power tool accidentally.
- Store idle power tools out of the reach of a child- dren and do not allow persons unfamiliar with the power tool or these instructions to operate the power tool. Power tools are dangerous in the hands of untrained users.
- Maintain power tools and accessories. Check for misalignment or binding of moving parts, breakage of parts, and any other condition that may affect the power tool’s operation. If damaged, have the power tool repaired before use. Many accidents are caused by poorly maintained power tools.
- Keep cutting tools sharp and clean. Properly maintained cutting tools with sharp cutting edges are less likely to bind and are easier to control.
- Use the power tool, accessories, and tool bits in accordance with these instructions, taking Into account the working conditions and the work to be performed. Use of the power tool for operations different from those intended could result in a hazardous situation.
- Keep handles and grasping surfaces dry, clean, and free from oil and grease. Slippery handles and grasping surfaces do not allow for safe handling and control of the tool in unexpected situations.
- When using the tool, do not wear cloth work gloves which may be entangled. The entanglement of cloth work gloves in the moving parts may result in personal injury.
Battery tool use and care
- Recharge only with the charger specified by the manufacturer. A charger that is suitable for one type of battery pack may create a risk of fire when used with another battery pack.
- Use power tools only with specifically designated battery packs. Use of any other battery packs may create a risk of injury and fire.
- When the battery pack is not in use, keep it away from other metal objects, like paper clips, coins, keys, nails, screws, or other small metal objects, that can make a connection from one terminal to another. Shorting the battery terminals together may cause burns or a fire.
- Under abusive conditions, liquid may be ejected from the battery; avoid contact. If contact accidentally occurs, flush with water. If liquid contacts eyes, additionally seek medical Liquid ejected from the battery may cause irritation or burns.
- Do not use a battery pack or tool that is damaged or modified. Damaged or modified batteries may exhibit unpredictable behavior resulting in fire, explosion, or risk of injury.
- Do not expose a battery pack or tool to fire or excessive temperature. Exposure to fire or temperature above 130 °C may cause an explosion.
- Follow all charging instructions and do not charge the battery pack or tool outside the temperature range specified in the instruc Charging improperly or at temperatures outside the specified range may damage the battery and increase the risk of fire.
Service
- Have your power tool serviced by a qualified repair person using only identical replacement parts. This will ensure that the safety of the power the tool is maintained.
- Never service damaged battery packs. Service of battery packs should only be performed by the manufacturer or authorized service providers.
- Follow instructions for lubricating and changing accessories.
Cordless circular saw safety warnings
Cutting procedures
DANGER: Keep hands away from the cutting area and the blade. Keep your second hand on the auxiliary handle, or motor housing. If both hands are holding the saw, they cannot be cut by the blade.- Do not reach underneath the workpiece. The guard cannot protect you from the blade below the workpiece.
- Adjust the cutting depth to the thickness of the workpiece. Less than a full tooth of the blade teeth should be visible below the workpiece.
- Never hold the workpiece in your hands or across your leg while cutting. Secure the workpiece to a stable platform. It is important to support the work properly to minimize body exposure, blade binding, or loss of control.

- Hold the power tool by insulated gripping surfaces, when performing an operation where the cutting tool may contact hidden wiring.
Contact with a “live” wire will also make exposed metal parts of the power tool “live” and could give the operator an electric shock. - When ripping, always use a rip fence or straight edge guide. This improves the accuracy of the cut and reduces the chance of blade binding.
- Always use blades with the correct size and shape (diamond versus round) of arbor holes. Blades that do not match the mounting hardware of the saw will run off-center, causing a loss of control.
- Never use damaged or incorrect blade washers or bolts. The blade washers and bolt were specially designed for your saw, for optimum performance and safety of operation.
Kickback causes and related warnings
— kickback is a sudden reaction to a pinched, jammed, or misaligned saw blade, causing an uncontrolled saw to lift up and out of the workpiece
toward the operator;
— when the blade is pinched or jammed tightly by the kerf closing down, the blade stalls and the motor reaction drives the unit rapidly back toward the operator;
— if the blade becomes twisted or misaligned in the cut, the teeth at the back edge of the blade can dig into the top surface of the wood causing the blade to climb out of the kerf and jump back toward the operator.
Kickback is the result of saw misuse and/or incorrect operating procedures or conditions and can be avoided by taking proper precautions as given below.
- Maintain a firm grip with both hands on the saw and position your arms to resist kickback forces. Position your body to either side of the blade, but not in line with the blade. Kickback could cause the saw to jump backward, but kickback forces can be controlled by the operator, if proper precautions are taken.
- When the blade is binding, or when interrupting a cut for any reason, release the trigger and hold the saw motionless in the material until the blade comes to a complete stop. Never attempt to remove the saw from the work or pull the saw backward while the blade is in motion or kickback may occur. Investigate and take corrective actions to eliminate the cause of blade binding.
- When restarting a saw in the workpiece, center the saw blade in the kerf so that the saw teeth are not engaged in the material. If a saw blade binds, it may walk up or kick back from the workpiece as the saw is restarted.
- Support large panels to minimize the risk of blade pinching and kickback. Large panels tend to sag under their own weight. Supports must be placed under the panel on both sides, near the line of cut and near the edge of the panel.


- Do not use dull or damaged blades.
Unsharpened or improperly set blades produce narrow kerf causing excessive friction, blade binding, and kickback. - Blade depth and bevel adjusting locking levers must be tight and secure before making the cut. If blade adjustment shifts while cutting, it may cause binding and kickback.
- Use extra caution when sawing into existing walls or other blind areas. The protruding blade may cut objects that can cause kickback.
- ALWAYS hold the tool firmly with both hands.
NEVER place your hand, leg, or any part of your body under the tool base or behind the saw, especially when making cross-cuts. If kickback occurs, the saw could easily jump backward over your hand, leading to serious personal injury.
- Never force the saw. Push the saw forward at a speed so that the blade cuts without slowing. Forcing the saw can cause uneven cuts, loss of accuracy, and possible kickback.
Lower guard function
- Check the lower guard for proper closing before each use. Do not operate the saw if the lower guard does not move freely and close Never clamp or tie the lower guard into the open position. If the saw is accidentally dropped, the lower guard may be bent. Raise the lower guard with the retracting handle and make sure it moves freely and does not touch the blade or any other part, at all angles and depths of cut.
- Check the operation of the lower guard spring. If the guard and the spring are not operating properly, they must be serviced before use. Lower guard may operate sluggishly due to damaged parts, gummy deposits, or a build-up of
- The lower guard may be retracted manually only for special cuts such as “plunge cuts” and “compound cuts”. Raise the lower guard by the retracting handle and as soon as the blade enters the material, the lower guard must be released. For all other sawing, the lower guard should operate automatically.
- Always observe that the lower guard is covering the blade before placing the saw down on the bench or floor. An unprotected, coasting blade will cause the saw to walk backward, cutting whatever is in its path. Be aware of the time it takes for the blade to stop after the switch is released.
- To check the lower guard, open the lower guard by hand, then release and watch guard closure. Also, check to see that retracting handle does not touch tool housing. Leaving blade exposed is VERY DANGEROUS and can lead to serious personal injury.
Additional safety warnings
- Use extra caution when cutting damp wood, pressure-treated lumber, or wood-containing knots. Maintain smooth advancement of the tool without a decrease in blade speed to avoid overheating the blade tips.
- Do not attempt to remove cut material when the blade is moving. Wait until the blade stops before grasping the cut material. Blades coast after turn off.
- Avoid cutting nails. Inspect for and remove all nails from lumber before cutting.
- Place the wider portion of the saw base on that part of the workpiece which is solidly supported, not on the section that will fall off when the cut is made. If the workpiece is short or small, clamp it down. DO NOT TRY TO HOLD SHORT PIECES BY HAND!

- Before setting the tool down after completing a cut, be sure that the guard has closed and the blade has come to a complete stop.
- Never attempt to saw with the circular saw held upside down in a vise. This is extremely dangerous and can lead to serious accidents.

- Some material contains chemicals that may be toxic. Take caution to prevent dust inhalation and skin contact. Follow material supplier safety data.
- Do not stop the blades by lateral pressure on the saw blade.
- Do not use any abrasive wheels.
- Only use the saw blade with the diameter that is marked on the tool or specified in the manual. Use of an incorrectly sized blade may affect the proper guarding of the blade or guard operation which could result in serious personal injury.
- Keep the blade sharp and clean. Gum and wood pitch hardened on blades slows saw and increases the potential for kickback. Keep the blade clean by first removing it from the tool, then cleaning it with gum and pitch remover, hot water, or kerosene. Never use gasoline.
- Wear a dust mask and hearing protection when using the tool.
- Always use the saw blade intended for cutting the material that you are going to cut.
- Only use the saw blades that are marked with a speed equal to or higher than the speed marked on the tool.
- (For European countries only) Always use the blade which conforms to EN847-1.
- Place the tool and the parts on a flat and stable surface. Otherwise, the tool or the parts may fall and cause an injury.
SAVE THESE INSTRUCTIONS.
WARNING: DO NOT let comfort or familiarity with the product (gained from repeated use) replace strict adherence to safety rules for the subject product. MISUSE or failure to follow the safety rules stated in this instruction manual may cause serious personal injury.
Important safety instructions for battery cartridge
- Before using the battery cartridge, read all instructions and cautionary markings on (1) battery charger, (2) battery, and (3) product using the battery.
- Do not disassemble or tamper with the battery cartridge. It may result in a fire, excessive heat, or explosion.
- If the operating time has become excessively shorter, stop operating immediately. It may result in a risk of overheating, possible burns, and even an explosion.
- If electrolyte gets into your eyes, rinse them out with clear water and seek medical attention right away. It may result in loss of your eyesight.
- Do not short the battery cartridge:
(1)Do not touch the terminals with any conductive material.
(2)Avoid storing battery cartridges in a container with other metal objects such as nails, coins, etc.
(3)Do not expose the battery cartridge to water or rain.
A battery short can cause a large current flow, overheating, possible burns, and even a breakdown. - Do not store and use the tool and battery cartridge in locations where the temperature may reach or exceed 50 °C (122 °F).
- Do not incinerate the battery cartridge even if it is severely damaged or is completely worn out. The battery cartridge can explode in a fire.
- Do not nail, cut, crush, throw, drop the battery cartridge, or hit against a hard object to the battery cartridge. Such conduct may result in a fire, excessive heat, or explosion.
- Do not use a damaged battery.
- The contained lithium-ion batteries are subject to the Dangerous Goods Legislation requirements. For commercial transports e.g. by third parties, forwarding agents, the special requirements on packaging and labeling must be observed.
For the preparation of the item being shipped, consulting an expert for hazardous material is required. Please also observe possibly more detailed national regulations. Tape or mask off open contacts and pack up the battery in such a manner that it cannot move around in the packaging.
11. When disposing of the battery cartridge, remove it from the tool and dispose of it in a safe place. Follow your local regulations relating to the disposal of batteries.
12. Use the batteries only with the products specified by Makita. Installing the batteries to non-compliant products may result in a fire, excessive heat, explosion, or leak of electrolyte.
13. If the tool is not used for a long period of time, the battery must be removed from the tool.
14. During and after use, the battery cartridge may take on heat which can cause burns or low-temperature burns. Pay attention to the handling of hot battery cartridges.
15. Do not touch the terminal of the tool immediately after use as it may get hot enough to cause burns.
16. Do not allow chips, dust, or soil stuck into the terminals, holes, and grooves of the battery cartridge. It may result in poor performance or breakdown of the tool or battery cartridge.
17. Unless the tool supports the use of near high-voltage electrical power lines, do not use the battery cartridge near high-voltage electrical power lines. It may result in a malfunction or breakdown of the tool or battery cartridge.
18. Keep the battery away from children.
CAUTION: Only use genuine Makita batteries.
Use of non-genuine Makita batteries, or batteries that have been altered, may result in the battery bursting causing fires, personal injury and damage. It will also void the Makita warranty for the Makita tool and charger.
Tips for maintaining maximum battery life
- Charge the battery cartridge before completely discharging. Always stop tool operation and charge the battery cartridge when you notice less tool power.
- Never recharge a fully charged battery cartridge.
Overcharging shortens the battery service life. - Charge the battery cartridge with room temperature at 10 °C – 40 °C (50 °F – 104 °F). Let a hot battery cartridge cool down before charging it.
- When not using the battery cartridge, remove it from the tool or the charger.
- Charge the battery cartridge if you do not use it for a long period (more than six months).
FUNCTIONAL DESCRIPTION
CAUTION: Always be sure that the tool is switched off and the battery cartridge is removed before adjusting or checking the function of the tool
Installing or removing battery cartridge
CAUTION: Always switch off the tool before installing or removing the battery cartridge.
CAUTION: Hold the tool and the battery cartridge firmly when installing or removing the battery cartridge. Failure to hold the tool and the battery cartridge firmly may cause them to slip off your hands and result in damage to the tool and battery cartridge and a personal injury.
CAUTION: Do not use the battery adapter with the circular saw. The cable of the battery adapter may hinder the operation and result in personal
injury.
► 1. Red indicator 2. Button 3. Battery cartridge
To remove the battery cartridge, slide it from the tool while sliding the button on the front of the cartridge.
To install the battery cartridge, align the tongue on the battery cartridge with the groove in the housing and slip it into place. Insert it all the way until it locks in place with a little click. If you can see the red indicator on the upper side of the button, it is not locked completely.
CAUTION: Always install the battery cartridge fully until the red indicator cannot be seen. If not, it may accidentally fall out of the tool, causing injury to you or someone around you.
CAUTION: Do not install the battery cartridge forcibly. If the cartridge does not slide in easily, it is not being inserted correctly.
Tool/battery protection system
The tool is equipped with a tool/battery protection system. This system automatically cuts off power to the motor to extend tool and battery life. The tool will automatically stop during operation if the tool or battery is placed under one of the following conditions.
Overload protection
When the tool/battery is operated in a manner that causes it to draw an abnormally high current, the tool automatically stops. In this situation, turn the tool off and stop the application that caused the tool to become overloaded. Then turn the tool on to restart.
Overheat protection
When the tool/battery is overheated, the tool stops automatically. In this situation, let the tool cool down before turning the tool on again.
Over-discharge protection
When the battery capacity becomes low, the tool stops automatically.
If the product does not operate even when the switches are operated, remove the batteries from the tool and charge the batteries.
Indicating the remaining battery capacity
Press the check button on the battery cartridge to indicate the remaining battery capacity. The indicator lamps light up for a few seconds.

► 1. Indicator lamps 2. Check button

NOTE: Depending on the conditions of use and the ambient temperature, the indication may differ slightly from the actual capacity.
NOTE: The first (far left) indicator lamp will blink when the battery protection system works.
Automatic speed change function
This tool has “high-speed mode” and “high torque mode”.
The tool automatically changes the operation mode depending on the workload. When the workload is low the tool will run in the “high-speed mode” for quicker cutting operation. When the workload is high, the tool will run in the “high torque mode” for powerful cutting operation.
Adjusting the depth of cut
CAUTION: After adjusting the depth of the cut, always tighten the lever securely.
Loosen the lever on the depth guide and move the base up or down. At the desired depth of cut, secure the base by tightening the lever.
For cleaner, safer cuts set cut depth so that no more than one blade tooth projects below the workpiece. Using proper cut depth helps to reduce the potential for dangerous KICKBACKS which can cause personal injury.
► 1. Lever
Bevel cutting
CAUTION: After adjusting the bevel angle, always tighten the lever securely.
Loosen the lever and set for the desired angle by tilting accordingly, then tighten the lever securely.

► 1. Lever
Positive stopper
The positive stopper is useful for setting the designated angle quickly. Turn the positive stopper so that the arrow on it points to your desired bevel angle (around 22.5°/45°/53°). Loosen the lever and then tilt the tool base until it stops. The position where the tool base stops is the angle you set with the positive stopper. Tighten the lever with the tool base at this position.
► 1. Positive stopper
Sighting
For straight cuts, align the 0° position on the front of the base with your cutting line. For 45° bevel cuts, align the 45° position with it.
► 1. Cutting line (0° position) 2. Cutting line (45° position)
Switch action
WARNING: Before installing the battery cartridge into the tool, always check to see that the switch trigger actuates properly and returns to the “OFF”
position when released.
WARNING: NEVER defeat the lock-off button by taping down or some other means. A switch with a negated lock-off button may result in unintentional operation and serious personal injury.
WARNING: NEVER use the tool if it runs when you simply pull the switch trigger without pressing the lock-off button. A switch in need of repair may result in unintentional operation and serious personal injury. Return the tool to a Makita service center for proper repairs BEFORE further usage.
CAUTION: The tool starts to break the circular saw blade rotation immediately after you release the switch trigger. Hold the tool firmly to respond to the reaction of the brake when releasing the switch trigger. The sudden reactions can drop the tool off your hand and can cause a personal injury.
To prevent the switch trigger from being accidentally pulled, a lock-off button is provided. To start the tool, depress the lock-off button and pull the
switch trigger. Release the switch trigger to stop.
► 1. Switch trigger 2. Lock-off button
NOTICE: Do not pull the switch trigger hard without pressing in the lock-off button. This can cause switch breakage.
Electric brake
This tool is equipped with an electric blade brake. If the tool consistently fails to quickly stop the circular saw blade after switch lever release, have the tool serviced at a Makita service center.
CAUTION: The blade brake system is not a substitute for a blade guard. NEVER USE A TOOL WITHOUT A FUNCTIONING BLADE GUARD. SERIOUS PERSONAL INJURY CAN RESULT.
Electronic function
The tools equipped with electronic functions are easy to operate because of the following feature(s).
Soft start feature
Soft start because of suppressed starting shock.
ASSEMBLY
CAUTION: Always be sure that the tool is switched off and the battery cartridge is removed before carrying out any work on the tool.
Offset wrench storage
When not in use, store the offset wrench as shown in the figure to keep it from being lost.
► 1. Offset wrench
Removing or installing circular saw blade
CAUTION: Be sure the circular saw blade is installed with teeth pointing up at the front of the tool.
CAUTION: Use only the Makita offset wrench to install or remove the circular saw blade.
To remove the circular saw blade, press the shaft lock fully so that the circular saw blade cannot revolve and use the offset wrench to loosen the hex bolt. Then remove the hex bolt, outer flange, circular saw blade, and ring (country-specific).
► 1. Shaft lock 2. Offset wrench 3. Loosen 4. Tighten
For tool without the ring
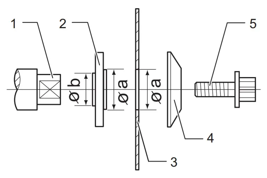
► 1. Hex bolt 2. Outer flange 3. Circular saw blade
4. Arrow on the circular saw blade 5. Inner flange 6. Arrow on the tool
For tool with the ring
► 1. Hex bolt 2. Outer flange 3. Circular saw blade
4. Arrow on the circular saw blade 5. Ring 6. Inner flange 7. Arrow on the tool
To install the circular saw blade, follow the removal procedure in reverse.
Align the direction of the arrow on the circular saw blade with the arrow on the tool.
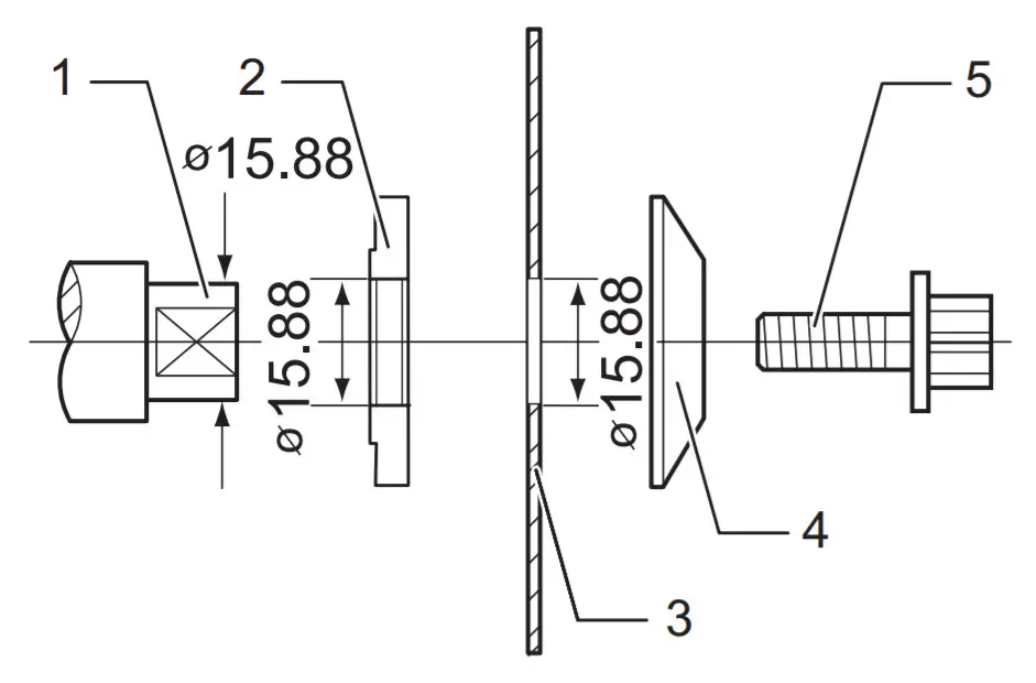
For tool with the inner flange for other than 15.88 mm, hole-diameter saw blade
The inner flange has a certain diameter protrusion on one side of it and a different diameter protrusion on the other side. Choose the correct side on which protrusion fits into the circular saw blade hole perfectly. Mount the inner flange onto the mounting shaft so that the correct side of protrusion on the inner flange faces outward and then place the circular saw blade and outer flange.
► 1. Mounting shaft 2. Inner flange 3. Circular saw
blade 4. Outer flange 5. Hex bolt
WARNING: BE SURE TO TIGHTEN THE HEX BOLT COUNTERCLOCKWISE SECURELY. Also, be careful not to tighten the bolt forcibly. Slipping your hand from the hex wrench can cause a personal injury.
WARNING: Make sure that the protrusion “a” on the inner flange that is positioned outside fits into the saw blade hole “a” perfectly. Mounting the A circular saw blade on the wrong side can result in dangerous vibrations.
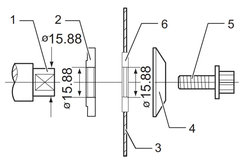
For tool with the inner flange for a 15.88 mm hole-diameter saw blade (country-specific)
Mount the inner flange with its recessed side facing outward onto the mounting shaft and then place circular saw blade (with the ring attached if needed), outer flange, and hex bolt.
For tool without the ring
► 1. Mounting shaft 2. Inner flange 3. Circular saw
blade 4. Outer flange 5. Hex bolt
For tool with the ring
► 1. Mounting shaft 2. Inner flange 3. Circular saw
blade 4. Outer flange 5. Hex bolt 6. Ring
WARNING: BE SURE TO TIGHTEN THE HEX BOLT COUNTERCLOCKWISE SECURELY. Also, be careful not to tighten the bolt forcibly. Slipping your hand from the hex wrench can cause a personal injury.
WARNING: If the ring is needed to mount the circular saw blade onto the spindle, always be sure that the correct ring for the blade’s arbor hole you intend to use is installed between the inner and the outer flanges. Use of the incorrect arbor hole ring may result in the improper mounting of the circular saw blade causing blade movement and severe vibration resulting in possible loss of control during operation and in serious personal injury.
Blade guard cleaning
When changing the circular saw blade, make sure to also clean the upper and lower blade guards of accumulated sawdust as discussed in the Maintenance section. Such efforts do not replace the need to check lower guard operation before each use.
Connecting a vacuum cleaner
Optional accessory
NOTE: To prevent the rubber cap from being lost, store it on the front of the tool.
NOTE: When not using the vacuum cleaner, attach the rubber cap onto the dust nozzle.
Remove the rubber cap from the dust nozzle and connect the vacuum cleaner’s hose.
► 1. Rubber cap
When you wish to perform the clean-cutting operation, connect a Makita vacuum cleaner to your tool. Connect a hose of the vacuum cleaner to the dust nozzle using the front cuff 24.
► 1. Hose of the vacuum cleaner 2. Front cuff 24
3. Dust nozzle 4. Rubber cap
OPERATION
This tool is intended to cut wood products only.
Refer to our website or contact your local Makita dealer for the correct circular saw blades to be used for the material to be cut.
Checking blade guard function
Set the bevel angle to 0°, and then retract the lower guard manually to the end and release it. The lower the guard is properly functioning if;
— it is retracted above the base without any hindrance and;
— it automatically returns and contacts the stopper.
► 1. Upper guard 2. Lower guard 3. Base 4. Stopper 5. Open 6. Close
If the lower guard is not functioning properly, check if sawdust is accumulated inside of the upper and lower guards. If the lower guard is not functioning properly even after removing dust, have your tool serviced at a Makita service center.
CAUTION: Wear a dust mask when performing a cutting operation.
CAUTION: Be sure to move the tool forward in a straight line gently. Forcing or twisting the tool will result in overheating the motor and dangerous kickback, possibly causing severe injury.
NOTE: When the battery cartridge temperature is low, the tool may not work to its full capacity. At this time, for example, use the tool for a light-duty cut for a while until the battery cartridge warms up as high as room temperature. Then, the tool can work to its full capacity.
Hold the tool firmly. The tool is provided with both a front grip and a rear handle. Use both to best grasp the tool. If both hands are holding the saw, they cannot be cut by the circular saw blade. Set the base on the workpiece to be cut without the circular saw blade making any contact. Then turn the tool on and wait until the circular saw blade attains full speed. Now simply move the tool forward over the workpiece surface, keeping it flat and advancing smoothly until the sawing is completed. To get clean cuts, keep your sawing line straight and your speed of advance uniform. If the cut fails to properly follow your intended cut line, do not attempt to turn or force the tool back to the cut line. Doing so may bend the circular saw blade and lead to dangerous kickback and possible serious injury. Release switch, wait for the circular saw blade to stop, and then withdraw the tool. Realign tool on the new cut line, and start cut again. Attempt to avoid positioning which exposes the operator to chips and wood dust being ejected from the saw. Use eye protection to help void injury.
Hook
CAUTION: Always remove the battery when changing the tool with the hook.
CAUTION: Never hook the tool at high locations or on surfaces where the tool may lose balance and fall. Otherwise, falling accidents may occur and cause serious injury.
CAUTION: Do not pull the tool down when it is hooked.
CAUTION: Use the hanging/mounting parts for their intended purposes only. Using for unintended purposes may cause accidents or personal injury.
The hook is convenient for hanging the tool temporarily.
To use the hook, simply lift up the hook until it snaps into the open position.
When not in use, always lower the hook until it snaps into the closed position.
► 1. Hook 2. Open position 3. Closed position

Rip fence (Guide rule)
Optional accessory
The handy rip fence allows you to do extra-accurate straight cuts. Simply slide the rip fence up snugly against the side of the workpiece and secure it in position with the clamping screw on the front of the base. It also makes repeated cuts of uniform width possible.
► 1. Rip fence (Guide rule) 2. Clamping screw
Lanyard (tether strap) connectio
Safety warnings specific for use at height Read all safety warnings and instructions. Failure to follow the warnings and instructions may result in serious injury.
- Always keep the tool tethered when working “at height”. The maximum lanyard length is 2 m (6.5 ft). The maximum permissible fall height for lanyard (tether strap) must not exceed 2 m (6.5 ft).
- Use only with lanyards appropriate for this tool type and rated for at least 7.0 kg (15.4 Ibs).
- Do not anchor the tool lanyard to anything on your body or on movable components. Anchor the tool lanyard to a rigid structure that can withstand the forces of a dropped tool.
- Make sure the lanyard is properly secured at each end prior to use.
- Inspect the tool and lanyard before each use for damage and proper function (including fabric and stitching). Do not use if damaged or not functioning properly.
- Do not wrap lanyards around or allow them to come in contact with sharp or rough edges.
- Fasten the other end of the lanyard outside the working area so that a falling tool is held securely.
- Attach the lanyard so that the tool will move away from the operator if it falls. Dropped tools will swing on the lanyard. which could cause injury or loss of balance.
- Do not use near-moving parts or running Failure to do so may result in a crush or entanglement hazard.
- Do not carry the tool by the attachment device or the lanyard.
- Only transfer the tool between your hands while you are properly balanced.
- Do not attach lanyards to the tool in a way that keeps guards, switches, or lock-offs from operating properly.
- Avoid getting tangled in the lanyard.
- Keep the lanyard away from the cutting area of the tool.
- Use multi-action and screw gate type cara Do not use single action spring clip carabineers.
- In the event the tool is dropped, it must be tagged and removed from service and should be inspected by a Makita Factory or Authorized Service Center.

► 1. Hole for lanyard (tether strap)
MAINTENANCE
CAUTION: Always be sure that the tool is switched off and the battery cartridge is removed before attempting to perform inspection or maintenance.
CAUTION: Clean out the upper and lower guards to ensure there is no accumulated sawdust which may impede the operation of the lower guarding system. A dirty guarding system may limit the proper operation which could result in serious personal injury. The most effective way to accomplish this cleaning is with compressed air. If the dust is being blown out of the guards, be sure the proper eye and breathing protection is used.
CAUTION: After each use, wipe off the sawdust on the tool. Fine sawdust may come inside the tool and cause a malfunction or a fire.
NOTICE: Never use gasoline, benzene, thinner, alcohol, or the like. Discoloration, deformation, or cracks may result.
To maintain product SAFETY and RELIABILITY, repairs, any other maintenance or adjustment should be performed by Makita Authorized or Factory Service Centers, always using Makita replacement parts.
Adjusting 0°-cut accuracy
This adjustment has been made at the factory. But if it is off, you can adjust it as the following procedure.
- Slightly loosen the lever on the bevel scale plate.
- Make the base perpendicular to the blade using a triangular rule or square rule by turning the adjusting screw.
► 1. Triangular rule 2. Adjusting screw - Tighten the lever and then make a test cut to check the verticalness.
OPTIONAL ACCESSORIES
CAUTION: These accessories or attachments are recommended for use with your Makita tool specified in this manual. The use of any other
accessories or attachments might present a risk of injury to persons. Only use accessory or attachment for its stated purpose.
If you need any assistance for more details regarding these accessories, ask your local Makita Service Center.
- Circular saw blade
- Offset wrench
- Rip fence (Guide rule)
- Front cuff 24
- Makita genuine battery and charger
NOTE: Some items in the list may be included in the tool package as standard accessories. They may differ from country to country.
Makita Europe N.V.
Jan-Baptist Vinkstraat 2, 3070 Kortenberg, Belgium
Makita Corporation
3-11-8, Sumiyoshi-cho, Anjo, Aichi 446-8502 Japan
www.makita.com
885863-229
EN
20201014






► 1. Triangular rule 2. Adjusting screw


















