
Makita DJR186 Cordless Recipro Saw

SPECIFICATIONS
| Model: | DJR186 | ||
| Length of stroke | 32 mm | ||
| Strokes per minute | 0 – 2,800 min-1 | ||
| Max. cutting capacities | Pipe | 130 mm | |
| Wood | 255 mm | ||
| Rated voltage | D.C. 18 V | ||
| Battery cartridge | BL1815N, BL1820, BL1820B | BL1830, BL1830B, BL1840, BL1840B, BL1850, BL1850B, BL1860B | |
| Overall length | 486 mm | ||
| Net weight | 3.5 kg | 3.8 kg | |
- Due to our continuing program of research and development, the specifications herein are subject to change without notice.
- Specifications and battery cartridges may differ from country to country.
- Weight, with battery cartridge, according to EPTA-Procedure 01/2003
Intended use
The tool is intended for sawing wood, plastic and ferrous materials.
Noise
The typical A-weighted noise level is determined according to EN60745:
- Sound pressure level (LpA) : 84 dB(A)
- Sound power level (LWA) : 95 dB (A)
- Uncertainty (K) : 3 dB(A)
Vibration
The vibration total value (tri-axial vector sum) determined according to EN60745
- Work mode: cutting boards
- Vibration emission (ah,B) : 13.0 m/s2
- Uncertainty (K) : 1.5 m/s2
- Work mode: cutting wooden beams
- Vibration emission (ah,WB) 12.5 m/s2
- Uncertainty (K) : 1.5 m/s2
NOTE: The declared vibration emission value has been measured in accordance with the standard test method and may be used for comparing one tool with another.
NOTE: The declared vibration emission value may also be used in a preliminary assessment of exposure
WARNING: The vibration emission during actual use of the power tool can differ from the declared emission value depending on the ways in which the tool is used.
WARNING: Be sure to identify safety measures to protect the operator that are based on an estimation of exposure in the actual conditions of use (taking account of all parts of the operating cycle such as the times when the tool is switched off and when it is running idle in addition to the trigger time).
EC Declaration of Conformity
For European countries only
Makita declares that the following Machine(s): Designation of Machine: Cordless Recipro Saw Model No./ Type: DJR186 Conforms to the following European Directives: 2006/42/EC They are manufactured in accordance with the following standard or standardized documents: EN60745 The technical file in accordance with 2006/42/EC is available from: Makita, Jan-Baptist Vinkstraat 2, 3070, Belgium 24.4.2015
General power tool safety warnings
WARNING: Read all safety warnings and all instructions. Failure to follow the warnings and instructions may result in electric shock, fire and/or serious injury.
Save all warnings and instructions for future reference.
The term “power tool” in the warnings refers to your mains-operated (corded) power tool or battery-operated (cordless) power tool
Cordless recipro saw safety warnings
- Hold power tool by insulated gripping surfaces, when performing an operation where the cutting accessory may contact hidden wiring. Cutting accessory contacting a “live” wire may make exposed metal parts of the power tool “live” and could give the operator an electric shock.
- Use clamps or another practical way to secure and support the workpiece to a stable platform. Holding the work by hand or against your body leaves it unstable and may lead to loss of control.
- Always use safety glasses or goggles. Ordinary eye or sunglasses are NOT safety glasses.
- Avoid cutting nails. Inspect the workpiece for any nails and remove them before operation.
- Do not cut the oversize workpieces.
- Check for the proper clearance beyond the workpiece before cutting so that the blade will not strike the floor, workbench, etc.
- Hold the tool firmly.
- Make sure the blade is not contacting the workpiece before the switch is turned on.
- Keep hands away from moving parts.
- Do not leave the tool running. Operate the tool only when hand-held.
- Always switch off and wait for the blade to come to a complete stop before removing the blade from the workpiece.
- Do not touch the blade or the workpiece immediately after operation; they may be extremely hot and could burn your skin.
- Do not operate the tool at no-load unnecessarily.
- Always use the correct dust mask/respirator for the material and application you are working with.
- Some material contains chemicals that may be toxic. Take caution to prevent dust inhalation and skin contact. Follow material supplier safety data
Important safety instructions for battery cartridge
- Before using battery cartridge, read all instructions and cautionary markings on (1) battery charger, (2) battery, and (3) product using battery.
- Do not disassemble battery cartridge.
- If operating time has become excessively shorter, stop operating immediately. It may result in a risk of overheating, possible burns and even an explosion.
- If electrolyte gets into your eyes, rinse them out with clear water and seek medical attention right away. It may result in loss of your eyesight.
- Do not short the battery cartridge:
(1) Do not touch the terminals with any conductive material.
(2) Avoid storing battery cartridge in a container with other metal objects such as nails, coins, etc.
(3) Do not expose battery cartridge to water or rain. A battery short can cause a large current flow, overheating, possible burns and even a breakdown. - Do not store the tool and battery cartridge in locations where the temperature may reach or exceed 50 °C (122 °F).
- Do not incinerate the battery cartridge even if it is severely damaged or is completely worn out. The battery cartridge can explode in a fire.
- Be careful not to drop or strike battery.
- Do not use a damaged battery.
- The contained lithium-ion batteries are subject to the Dangerous Goods Legislation requirements.
For commercial transports e.g. by third parties, forwarding agents, special requirements on packaging and labeling must be observed. For the preparation of the item being shipped, consulting an expert for hazardous material is required. Please also observe possibly more detailed national regulations. Tape or mask off open contacts and pack up the battery in such a manner that it cannot move around in the packaging.
CAUTION: Only use genuine Makita batteries. Use of non-genuine Makita batteries, or batteries that have been altered, may result in the battery bursting causing fires, personal injury and damage. It will also void the Makita warranty for the Makita tool and charger.
Tips for maintaining maximum battery life
- Charge the battery cartridge before completely discharged. Always stop tool operation and charge the battery cartridge when you notice less tool power.
- Never recharge a fully charged battery cartridge. Overcharging shortens the battery service life.
- Charge the battery cartridge with room temperature at 10 °C – 40 °C (50 °F – 104 °F). Let a hot battery cartridge cool down before charging it.
- Charge the battery cartridge if you do not use it for a long period (more than six months).
FUNCTIONAL DESCRIPTION
CAUTION: Always be sure that the tool is switched off and the battery cartridge is removed before adjusting or checking function on the tool.
Installing or removing battery cartridge
CAUTION: Always switch off the tool before installing or removing of the battery cartridge.
CAUTION: Hold the tool and the battery cartridge firmly when installing or removing battery cartridge. Failure to hold the tool and the battery cartridge firmly may cause them to slip off your hands and result in damage to the tool and battery cartridge and a personal injury

To remove the battery cartridge, slide it from the tool while sliding the button on the front of the cartridge. To install the battery cartridge, align the tongue on the battery cartridge with the groove in the housing and slip it into place. Insert it all the way until it locks in place with a little click. If you can see the red indicator on the upper side of the button, it is not locked completely.
CAUTION: Always install the battery cartridge fully until the red indicator cannot be seen. If not, it may accidentally fall out of the tool, causing injury to you or someone around you.
CAUTION: Do not install the battery cartridge forcibly. If the cartridge does not slide in easily, it is not being inserted correctly.
Battery protection system

Lithium-ion batteries with a star marking are equipped with a protection system. This system automatically cuts off power to the tool to extend battery life. The tool will automatically stop during operation if the tool and/or battery are placed under one of the following conditions:
Overloaded:
The tool is operated in a manner that causes it to drawan abnormally high current. In this situation, turn the tool off and stop the application that caused the tool to become overloaded. Then turn the tool on to restart. If the tool does not start, the battery is overheated. In this situation, let the battery cool before turning the tool on again.
Low battery voltage:
The remaining battery capacity is too low and the tool will not operate. In this situation, remove and recharge the battery.
Indicating the remaining battery capacity
Press the check button on the battery cartridge to indicate the remaining battery capacity. The indicator lamps light up for few seconds.


NOTE: Depending on the conditions of use and the ambient temperature, the indication may differ slightly from the actual capacity
Switch action
CAUTION: Before installing the battery cartridge into the tool, always check to see that the switch trigger actuates properly and returns to the “OFF” position when released.
CAUTION: When not operating the tool, depress the lock-off button from A side to lock the switch trigger in the OFF position

To prevent the switch trigger from being accidentally pulled, the lock-off button is provided. To start the tool, depress the lock-off button from B side and pull the switch trigger. Tool speed is increased by increasing pressure on the switch trigger. Release the switch trigger to stop. After use, always press in the lock-off button from A side
ASSEMBLY
CAUTION: Always be sure that the tool is switched off and the battery cartridge is removed before carrying out any work on the tool.
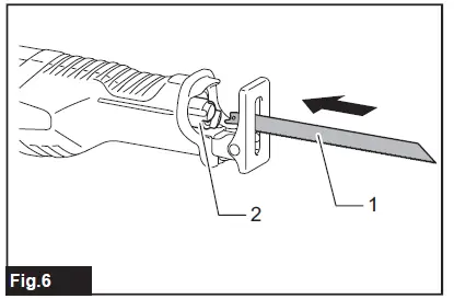
Installing or removing the recipro saw blade
CAUTION: Always clean out all chips or foreign matter adhering to the blade and around the blade clamp. Failure to do so may cause insufficient tightening of the blade, resulting in a serious injury.
To install the recipro saw blade, always make sure that the blade clamp lever (part of the blade clamp sleeve) is in the released position on the insulation cover before inserting the recipro saw blade. If the blade clamp lever is in fixed position, rotate the blade clamp lever in the direction of the arrow so that it can be locked at the released position

Insert the recipro saw blade into the blade clamp as far as it will go. The blade clamp sleeve rotates and fixes the recipro saw blade. Make sure that the recipro saw blade cannot be extracted even though you try to pull it out.

CAUTION: If you do not insert the recipro saw blade deep enough, the recipro saw blade may be ejected unexpectedly during operation. This can be extremely dangerous To remove the recipro saw blade, rotate the blade clamp lever in the direction of the arrow fully. The recipro saw blade is removed and the blade clamp lever is fixed at the released position
NOTE: If you remove the recipro saw blade without rotating the blade clamp lever fully, the lever may not be locked in the released position . In this case, rotate the blade clamp lever fully again, then make sure that the blade clamp lever is locked at the released position.
NOTE: If the blade clamp lever is positioned inside the tool, switch on the tool just a second to let the blade out as shown in the figure. Remove the battery cartridge from the tool before installing or removing the recipro saw blade.
OPERATION
CAUTION: Always press the shoe firmly against the workpiece during operation. If the shoe is removed or held away from the workpiece during operation, strong vibration and/or twisting will be produced, causing the blade to snap dangerously.
CAUTION: Always wear gloves to protect your hands from hot flying chips when cutting metal.
CAUTION: Be sure to always wear suitable eye protection which conforms with current national standards.
CAUTION: Always use a suitable coolant (cutting oil) when cutting metal. Failure to do so will cause premature blade wear.
Press the shoe firmly against the workpiece. Do not allow the tool to bounce. Bring the recipro saw blade into light contact with the workpiece. First, make a pilot groove using a slower speed. Then use a faster speed to continue cutting.

MAINTENANCE
CAUTION: Always be sure that the tool is switched off and the battery cartridge is removed before attempting to perform inspection or maintenance.
NOTICE: Never use gasoline, benzine, thinner, alcohol or the like. Discoloration, deformation or cracks may result
Replacing carbon brushes
Check the carbon brushes regularly. Replace them when they wear down to the limit mark. Keep the carbon brushes clean and free to slip in the holders. Both carbon brushes should be replaced at the same time. Use only identical carbon brushes.

- Use a screwdriver to remove the brush holder caps.
- Take out the worn carbon brushes, insert the new ones and secure the brush holder caps.

To maintain product SAFETY and RELIABILITY, repairs, any other maintenance or adjustment should be performed by Makita Authorized or Factory Service Centers, always using Makita replacement parts.
OPTIONAL ACCESSORIES
CAUTION: These accessories or attachments are recommended for use with your Makita tool specified in this manual. The use of any other accessories or attachments might present a risk of injury to persons. Only use accessory or attachment for its stated purpose
If you need any assistance for more details regarding these accessories, ask your local Makita Service Center.
- Recipro saw blades
- Makita genuine battery and charger
NOTE: Some items in the list may be included in the tool package as standard accessories. They may differ from country to country.



















