BRAND 7028 90 Transferpettor Positive Displacement Pipette
Product Information: Transferpettor Digital
The Transferpettor Digital is a pipette device designed for accurately measuring and dispensing liquids in laboratory settings. The device is marked in accordance with the German Measurement and Calibration Act as well as the Measurement and Calibration Regulation. It comes with a serial number that needs to be followed for instructions listed on the device, accessory parts and in the operating manual.
Markings of the Product
The device is marked in accordance with the German Measurement and Calibration Act as well as the Measurement and Calibration Regulation: Character string: DE-M (DE for Germany), framed by a rectangle, as well as the last two digits of the year in which the marking was affixed (here: 2021).
Meaning
The device is marked in accordance with the German Measurement and Calibration Act as well as the Measurement and Cali-bration Regulation:
Character string: DE-M (DE for Germany), framed by a rectangle, as well as the last two digits of the year in which the marking was affixed (here: 2021).
Serial number
Follow the instructions listed on the device, the accessory parts and in the operating manual.
Observe the operating manual.
Safety Instructions
Please read the following carefully!
This instrument may sometimes be used with hazardous materials, operations, and equipment. It is beyond the scope of this manual to address all of the potential safety risks associated with its use in such applications. It is the responsibility of the user of this pipette to consult and establish appropriate safety and health practices and determine the applicability of regulatory limitations prior to use.
- Every user must read and understand this operating manual prior to using the instrument and observe these instructions during use.
- Follow general instructions for hazard prevention and safety instructions; e.g., wear protective clothing, eye protection and gloves. When working with infectious or other hazardous samples, all appropriate regulations and precautions must be followed.
- Always use the instrument in such a way that nei-ther the user nor any other person is endangered. Avoid splashes. Use only suitable vessels.
- Observe all specifications provided by reagent manufacturers.
- Only use the instrument for pipetting liquids that conform to the specifications defined in the limitations of use and operating limitations.
- Avoid touching the tip orifices when working with hazardous samples.
- Never use force on the instrument!
- Use only original spare parts and accessories. Do not attempt to make any technical alterations. Do not dismantle the instrument any further than is described in the operating manual!
- Before use, check the instrument for visible damages. If there is a sign of a potential malfunction (e.g., piston difficult to move, leakage), immediately stop pipetting. Consult the ‘Troubleshooting’ section of this manual (see page 23), and contact the manufacturer if needed.
Product Usage Instructions
- Read the operating manual carefully before using the Transferpettor Digital and follow all operating and safety instructions listed.
- Wear protective clothing, eye protection, and gloves when working with hazardous samples.
- Observe all specifications provided by reagent manufacturers.
- Use only liquids that conform to the specifications defined in the limitations of use and operating limitations.
- Avoid touching the tip orifices when working with hazardous samples.
- Do not use force on the instrument.
- Use only original spare parts and accessories. Do not attempt to make any technical alterations. Do not dismantle the instrument any further than is described in the operating manual.
- Check the instrument for visible damages before use. If there is a sign of a potential malfunction (e.g., piston difficult to move, leakage), immediately stop pipetting. Consult the ‘Troubleshooting’ section of this manual (see page 23), and contact the manufacturer if needed.
- To set the volume, refer to page 8 of the manual.
- To pipette, refer to page 9 of the manual.
- To check for tightness, refer to page 11 of the manual.
- To change the tip, refer to page 13 of the manual.
- To change the seal, refer to page 15 of the manual.
- To change the piston rod, refer to page 17 of the manual.
- To clean the instrument, refer to page 18 of the manual.
- To check the instrument, refer to page 19 of the manual.
- To check the volume, refer to page 20 of the manual.
Operating Manual
Please read carefully before use, and follow all operating and safety instructions!
Purpose
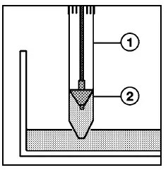
The instrument is designed for pipet-ting of liquids. It employs the principle of positive displacement. The piston (2) (= Transferpettor-seal) draws the liquid directly, without air interface, into the tip (1) (= Transferpettor-cap).
Limitations of Use
Suitable for media with:
- Density up to 13.6 g/cm³
- Vapour pressure up to 500 mbar
- Viscosity (see table):

Operating temperature: 15 – 40 °C (59 °F – 104 °F)
Operating Limitations
Crystallization of concentrated saline solutions and other crystallizing liquids may damage the seal.
Operating Exclusions
This instrument cannot be used with liquids attacking polypropylene oder polyethylene.
Note:
The instrument is not autoclavable.
Setting the Volume
- Set the lever (1) to
. - Turn the pipetting key (2) until the required volume is displayed (3).
- Set the lever (1) to
.
Recommended working range:
20 to 100 % of the nominal volume. At volume settings below 20 % precision can no longer be guaranteed.
Pipetting
The instrument is immediately ready for use, as supplied.
To draw in liquid
- Push the pipetting knob fully down.
- Immerse the tip (= Transferpettor-cap) into the liquid (2 to 3 mm).
- Slowly release the pipetting key.
- Lightly touch the tip against the wall of the vessel.

- Carefully wipe the outside of the tip with a lint-free cloth or swab. Take care not to touch the tip orifice because this would cause liquid to be drawn from the tip.
To dispense the liquid
- Place the tip (= Transferpettor-cap) against the wall of the vessel.
- Push the pipetting key down.
- Lightly wipe the tip against the wall of the vessel.
- Release the pipetting key.

Daily
Checking for Tightness
- Set the nominal volume.
- Aspirate in liquid.
- Hold the instrument upright for 10 sec, (tip down).
- If a drop forms, > ‘Trouble Shooting’, page 23.

Maintenance
Maintenance is not required, if the instrument is properly used.
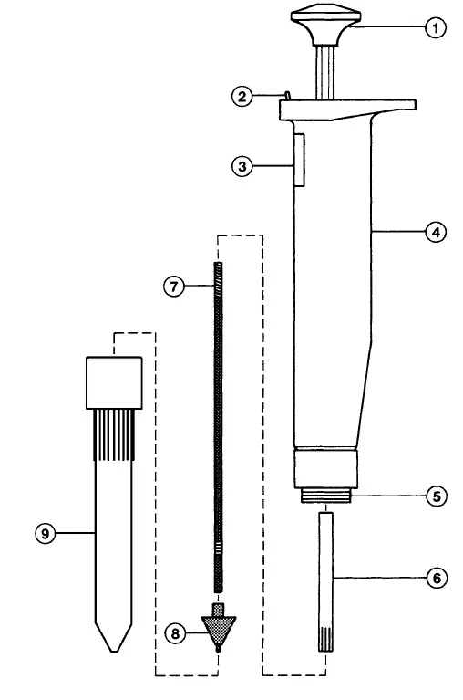
Components
- Pipetting key
- Lever to lock the set volume
- Volume display 4 Hand grip
- Tip mounting
- Piston rod locking device
- Piston rod
- Piston
(= Transferpettor-seal) - Plastic tip
(= Transferpettor-cap)
Changing the Tip
(= Transferpettor-cap)
Removing the old tip
Attention!
Do not touch the contaminated area of the tip (= Transferpettor-cap) and the seal. Wear protective gloves.
- Turn the tip until the arrow on the instrument and the score on the tip are in alignment.
- Pull the tip off the seal.

Attaching the new tip
- Slide the tip (= Transferpettor-cap) over the seal.
- Align the arrow on the instrument and the score on the tip.
- Slide the tip into the mounting, keep it slightly pressed into it.
- To position the tip exactly, press the pipetting key fully down and
- fix the tip by turning it to the right or to the left (max. 45°).
- Let the pipetting key slide back.

Note:
If the pipetting key is not fully pushed down when the tip (= Transferpettor-cap) is installed, the tip will be seated too far into the tip mount. As a con-sequence the in strument will deliver a lower volume than indicated.
Changing the Seal
Removing the old seal
Attention!
Do not touch the contaminated area of the tip (= Transferpettor-cap) and the seal. Wear protec-tive gloves.
- Remove the tip (= Transferpettor-cap). ‘Changing the Tip’, page 13.
- Hold the instrument in a vertical position.
- Place the red mounting tool on the seal (with the conical opening up-wards).
- Push the pipetting key fully down.
- Using the red mounting tool, vi gorously pull the old seal off the piston rod.
- Let the pipetting key slide back.

Attaching the new seal
- Place the new seal into the conical opening of the red mounting block. For sizes 0,5 ml and 1 ml use blue mounting block.
- Press the piston rod into the seal as far as it will go.
- Check the seal for tight seating.
- Slide the tip (= Transferpettor-cap) on. ‘Attaching the new tip’, page 14.

Changing the Piston Rod
Removing the old piston rod
Attention!
Do not touch the contaminated area of the tip (= Transferpettor-cap) and the seal. Wear protec-tive gloves.
- Remove the tip (= Transferpettor-cap). ‘Changing the Tip’, page 13.
- Push the pipetting key fully down.
- Turn the piston rod locking device anti-clockwise to unscrew the piston rod from the instrument.

- Disconnect the piston rod locking device from the piston rod.
Attaching the new piston rod
- Screw the piston rod locking device on the piston rod to lock position.
- Then screw the piston rod into the instrument to lock position.
- Push the pipetting key down and finger-tighten the piston rod locking device.
- Attach a new seal, page 16.
- Attach a new tip, page 14.
Cleaning
- Dismantle the instrument.
‘Chan ging the Piston Rod’, page 17. - Clean the piston rod.
- Allow to dry completely.
- Reassemble the instrument.
‘To fit the new piston rod’, page 18.
Checking the Instrument
after every change of the tip (= Transferpettor-cap), seal, or piston rod
- Check that the pipetting key can be pushed fully down to the end plate (1).
- Ascertain that the tip fits tightly.
‘Changing the Tip’, page 13. - Check the tightness, page 11.
- Check the volume, page 20.

Note:
Temperatures exceeding 40 °C (104 °F) and storage periods of over three months may cause a deformation of tip (= Transferpettor-cap) and seal, adversely affecting the tightness of the seal and compromising instrument performance.
Checking the volume
The gravimetric volume test of the pipette requires the following steps:
(Testing procedures are described e.g., in ISO 8655 Part 6.)
- Adjust volume to nominal capacity.
Conditioning the pipette:
- To condition the pipette before testing, pipette once with testing liquid (H2O dist.).
Carrying out the test (observe instructions by the balance manufacturer):
- Take up testing liquide and pipette into the weighing vessel.
- Weigh the pipetted quantity with an analytical balance.
- Calculate the volume, taking the temperature into account.
- Carry out at least 10 pipetting and weighing operations.
Calculation of accuracy (A%) and coefficient of variation (CV%):
A and CV are calculated according to the equations used in statistical quality control. Calculations (for the nominal volume)
was tun?
- Cap entfernen. ‘Cap wechseln’, S. 13.
- Kolbenstangensicherung festziehen.
‘Neue Kolbenstange einsetzen’, S. 18. - Cap aufschieben, S. 14.
- Cap entfernen und neu aufschieben. ‘Cap wechseln’, S. 13.
- Seal wechseln, S. 15.
- Pipettierknopf langsam zurückgleiten lassen.
- Cap entfernen und neu aufschieben. ‘Cap wechseln’, S. 13.
- Seal wechseln, S. 15.
- Cap bzw. Seal wechseln. ‘Cap wechseln’, S. 13.
‘Seal wechseln’, S.15. - Cap entfernen, ‘Cap wechseln’, S. 13.
- Kolbenstangensicherung festziehen,
‘Neue Kolbenstange einsetzen’, S. 18. - Cap aufschieben, S. 14.
- Seal wechseln, S. 15.
Trouble Shooting
Following tolerances are typically (manufacturer’s experi-ence) obtained by new instruments under optimized testing conditions (qualified operators and standardized ambience conditions):
Technical/Ordering Data for instruments, and spare parts
- These values refer to the delivered nominal volume, H2O dist., instru ment, and medium at equilibrium with ambient temperature (20 °C), and smooth, jerkfree operation.
- Pack of 10. 3) Pack of 10. 4) Pack of 1.

Ordering Data for accessories
Transferpettor Station
To accomodate two instruments of 0.5 to 10 ml, complete with their accessories.
Pack of 1.
Cat. No. 7028 90
Return for Repair
Attention:
Transporting of hazardous materials without a permit is a violation of federal law.
- Clean and decontaminate the instrument carefully.
- It is essential always to include an exact description of the type of malfunction and the media used. If information regarding media used is missing, the instrument cannot be repaired.
- Shipment is at the risk and the cost of the sender.
Outside the U.S. and Canada:
- Complete the “Declaration on Absence of Health Hazards” and send the instrument to the manufac-turer or supplier. Ask your supplier or manufacturer for the form. The form can also be downloaded from www.brand.de.
In the U.S. and Canada:
- Contact BrandTech Scientific, Inc. and obtain authorization for the return before sending your instrument for service.
- Return only cleaned and decontaminated instru-ments, with the Return Authorization Number prominently displayed on the outside of the package to the address provided with the Return Authorization Number.
USA and Canada:
BrandTech® Scientific, Inc.
11 Bokum Road
Essex, CT 06426-1506 (USA)
Tel.: +1-860-767 2562
Fax: +1-860-767 2563
www.brandtech.com
China:
BRAND (Shanghai) Trading Co., Ltd.
Guangqi Culture Plaza
Room 506, Building B
No. 2899, Xietu Road
Shanghai 200030 (P.R. China)
Tel.: +86 21 6422 2318
Fax: +86 21 6422 2268
E-mail: [email protected]
www.brand.cn.com
Calibration Service
ISO 9001 and GLP guidelines require regular examinations of your volumetric instruments. We recom-mend to check the volume every 3-12 months. The interval depends on the specific requirements on the instrument. For instruments frequently used or in use with aggressive media, the interval should be shorter. The detailed testing instruction can be downloaded on www.brand.de or www.brandtech.com. BRAND also offers you the possibility, to have your instruments calibrated by the BRAND calibrating ser-vice or the BRAND-owned DAkkS calibration service. Just send in the instruments to be calibrated accompanied by an indication of which kind of calibration you wish. Your instruments will be returned within a few days together with a test report (BRAND calibrating service) or with a DAkkS calibration certificate. For further information please contact your dealer or BRAND. Complete ordering information is available for download at www.brand.de (see technical documentation).
Warranty
We shall not be liable for the consequences of improper handling, use, servicing, operation or unau-thorized repairs of the instrument or the consequences of normal wear and tear especially of wearing parts such as pistons, seals, valves and the breakage of glass as well as the failure to follow the instructions of the operating manual.We are not liable for damage resulting from any actions not described in the operating manual or if non-original spare parts or components have been used.
U.S. and Canada:
Information for warranty please see www.brandtech.com.
Disposal
For the disposal of instruments and tips, please observe the relevant national disposal regulations valid in your area. Subject to technical modification without notice. Errors excepted.


































