STERLING 71171710-0 Left-Hand Drain Rectangular Alcove Bathtub

Tools Required
Optional
- Shims
- Furring Strips
- Drop Cloth
Important Information
Follow all local plumbing and building codes.
Install on an adequately supported subfloor.
If the subfloor is not level and access to shim is difficult, install with a 1″ (25 mm) to 2″ (51 mm) bed of mortar cement.
Instructions
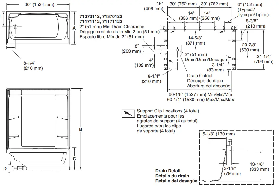
- Construct a plumb stud pocket according to the roughing-in information on the back page.

- Install the rough plumbing.

- Install the drain to the bath.

- Staple the felt pad, if provided, to the subfloor so it will contact all the support feet.

- Without a pad, set the basin area in 1″ (25 mm) to 2″ (51 mm) of mortar cement.

- Make sure the apron braces are securely attached.

- Lift and position the bath in the stud pocket.

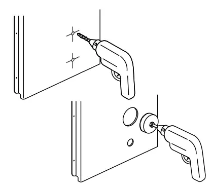
- Attach metal support clips to the flange at the locations shown in the roughing-in information.

- Level the unit. Secure the metal support clips to the studs. Bend the tabs over the flange.

- Install plastic attachment clips at all remaining stud locations.

- With the unit level, shim under the support feet as needed

- Connect the bath drain to the drain pipe. Position a protective liner in the bath.

- Custom Walls: Install furring strips, wallboard, and the finished walls.

- STERLING 7157 Series Wall
Sets: Refer to the installation guide packed with your wall set. - STERLING 7137 and 7147 Series Wall Sets: Install the back wall. Insert the tabs into the slots.

- Measure, mark, and drill the faucet holes in the end wall.

- Verify the seal is installed, undamaged, and fully seated.

- Install the end walls. Engage the pins in the slots.

- The front edges should be flush, with no more than a 1/32″ (1 mm) gap.

- Starting at the bottom, install screws through the dimples to secure the flanges to the studs.

- Secure the walls to the studs along the top. Use shims as needed.

- Cover the framing with water-resistant wallboard. Finish the walls.

- Install the faucet trim and accessories, and seal where they meet the wall panels.

- Apply 100% silicone sealant along the shower edges.

The manufacturer represents that the product to which this label is affixed (a) duplicates samples independently tested by Home Innovation Research Labs and certified to conform to the requirements of HUD UM Bulletin No. 73a and CSA B45.5/IAPMO Z124 standard, and (b) has been manufactured under quality controls deemed appropriate by the manufacturer and periodically reviewed by the certifier.
| A | B | C | D | |
| Bath Only/Baignoire seule/Sólo bañera | ||||
| 71171110, 71171120 | 30-1/8″ (765 mm) | — | 19″ (483 mm) | 1/4″ (6 mm) |
| With Wall Set/Avec ensemble paroi murale/Con juego de paredes | ||||
| 7137 Series | 31-1/4″ (794 mm) | 74-5/8″ (1895 mm) | 19″ (483 mm) | 1/4″ (6 mm) |
| 7147 Series | 31-1/4″ (794 mm) | 76-1/2″ (1943 mm) | 21-3/4″ (552 mm) | 1/4″ (6 mm) |
|
7157 Series | Refer to the installation guide packed with your shower walls. Se reporter au guide d’installation accompagnant les murs de la douche. Consulte la guía de instalación que se incluye con las paredes de su ducha. | |||
| AFD Bath Only/Baignoire AFD seule/ Sólo bañera de desagüe arriba del nivel del piso | ||||
| 71171112, 71171122 | 30-1/4″ (768 mm) | — | 21-3/4″ (552 mm) | 3″ (76 mm) |
| With Wall Set/Avec ensemble paroi murale/Con juego de paredes | ||||
| 7137 Series | 31-1/4″ (794 mm) | 77-3/8″ (1965 mm) | 21-3/4″ (552 mm) | 3″ (76 mm) |
| 7147 Series | 31-1/4″ (794 mm) | 79-1/4″ (2013 mm) | 21-3/4″ (552 mm) | 3″ (76 mm) |
|
7157 Series | Refer to the installation guide packed with your shower walls. Se reporter au guide d’installation accompagnant les murs de la douche. Consulte la guía de instalación que se incluye con las paredes de su ducha. | |||

Need help? Contact the Customer Care Center.
USA/Canada: 1-800-STERLING (1-800-783-7546), Mexico: 001-877-680-1310
For service parts information, visit sterlingplumbing.com/parts.
For care and cleaning, visit sterlingplumbing.com/care-and-cleaning.
Patents: kohlercompany.com/patents
This product is covered under the STERLING® Vikrell® or Acrylic Baths and Shower Bases Ten-Year Limited Warranty, found at sterlingplumbing.com/warranty. For a hardcopy of warranty terms, contact the Customer Care Center.
USA/Canada: 1-800-STERLING (1-800-783-7546) Mexico: 001-877-680-1310
www.SterlingPlumbing.com
References
Home Building Product Research, Consulting, and Certification Services | Home Innovation Research Labs
Kohler Co. Portfolio | Innovation and Design | Patents | Kohler | Kohler
Care and Cleaning | Kitchen | Bathroom | Sterling Plumbing
Parts | Sterling Plumbing
Warranty Information|Sterling Plumbing
Sterling Plumbing | Bathroom and Kitchen products, Shower Doors, Baths, Showers, Toilets, Bathroom Sinks, Kitchen Sinks









































