STERLING 71341820-0 Polyresin and Fiberglass Rectangular Right Drain Alcove Soaking Bathtub

Optional

Record your model number below for future reference: Observe all local building and plumbing codes
INSTALLATION INSTRUCTIONS
Install on an adequately supported subfloor. If the subfloor is not level and access to shim is difficult, install with a 1″ (25 mm) to 2″ (51 mm) bed of mortar cement.
- Construct a plumb stud pocket according to the roughing-in information on the back page

- Install the rough plumbing

- Install the drain to the bath.

- Staple the felt pad, if provided, to the subfloor so it will contact all the support feet.

- Without a pad, set the basin area in 1″ (25 mm) to 2″ (51 mm) of mortar cement

- Attach the apron brace, if provided. Lift and position the bath in the stud pocket.

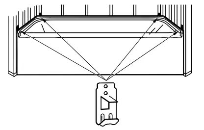
- Attach metal support clips to the flange at the locations shown in the roughing-in information.

- Level the unit. Secure the metal support clips to the studs. Bend the tabs over the flange.

- Install plastic attachment clips at all remaining stud locations

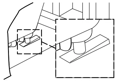
- With the unit level, shim under the support feet as needed

- Connect the bath drain to the drain pipe. Position a protective liner in the bath.

- Custom Walls: Install furring strips, wallboard, and the finished wall as shown.

- STERLING Wall Set: Install the back wall. Insert the tabs into the slots

- Measure, mark, and drill the faucet holes in the end wall

- Install the end walls. Engage the pins in the slots.

- The front edges should be flush, with no more than a 1/32″ (1 mm) gap.

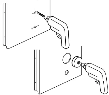
- Starting at the bottom, install screws through the dimples to secure the flanges to the studs.

- Secure the walls to the studs along the top. Use shims as needed.

- Cover the framing with water-resistant wallboard. Install the finished wall material.

- Install the faucet trim and accessories, and seal where they contact the wall panels

- After painting, apply 100% silicone sealant where the unit contacts the finished wall

The manufacturer represents that the product to which this label is affixed (a) duplicates samples independently tested by Home Innovation Research Labs and certified to conform to the requirements of HUD UM Bulletin No. 73a and CSA B45.5/IAPMO Z124 standard, and (b) has been manufactured under quality controls deemed appropriate by the manufacturer and periodically reviewed by the certifier
DIMENSIONS


| A | B | C | D | E | |
| 71340110, 71340120 | 30-3/8″ (772 mm) | 72-1/2″ (1842 mm) | 15-1/4″ (387 mm) | 16-5/8″ (422 mm) | 5/8″ (16 mm) |
| 71340112, 71340122 | 30-3/8″ (772 mm) | 74-3/4″ (1899 mm) | 17-1/2″ (445 mm) | 18-7/8″ (479 mm) | 2-15/16″ (75 mm) |
| 71341110, 71341120 | 29-1/8″ (740 mm) | – | 15-1/4″ (387 mm) | 16-5/8″ (422 mm) | 5/8″ (16 mm) |
| 71341112, 71341122 | 29-1/8″ (740 mm) | – | 17-1/2″ (445 mm) | 18-7/8″ (479 mm) | 2-15/16″ (75 mm) |
Need help? Contact the Customer Care Center.
- USA/Canada: 1-800-STERLING (1-800-783-7546),
- Mexico: 001-877-680-1310
For service parts information, visit sterlingplumbing.com/parts.
For care and cleaning, visit sterlingplumbing.com/care-and-cleaning.
Patents: kohlercompany.com/patents
References
Home Building Product Research, Consulting, and Certification Services | Home Innovation Research Labs
Kohler Co. Portfolio | Innovation and Design | Patents | Kohler | Kohler
Care and Cleaning | Kitchen | Bathroom | Sterling Plumbing
Parts | Sterling Plumbing
Warranty Information|Sterling Plumbing
Sterling Plumbing | Bathroom and Kitchen products, Shower Doors, Baths, Showers, Toilets, Bathroom Sinks, Kitchen Sinks






































