

DVP40PSWH Linear Kit
Instruction Manual
DVP40PSWH Linear Kit
SEE-THROUGH OR SP
LEAVE INSTRUCTIONS WITH THE HOMEOWNER.
CERAMIC FIBER LINER
| Model | Description |
| DVP4OPSWH | White Wash Herringbone |
| DVP4OPSFB | Cracked Red Fire Brick |
| DVP4OPSWS | Old World Stone |
| DVP4OPSTS | Traditional Stone |
| DVP4OPSKR | Black Reflective |
| CARTON CONTENTS | |
| Description | Quantity Supplied |
| Liner Side – Left | 1 |
| Liner Side – Right | 1 |
| Liner Top | 1 |
| Bracket Liner | 2 |
| #10 X 1/2 Screw | 6 |
TOOLS NEEDED: Phillips Screw Driver
- Remove the barrier screen and glass door. (See the Owner’s manual for instructions.)
- Place the RIGHT and LEFT LINERS as shown in Figure 1.
NOTICE: Video of liner installation available on our website at: www.empirecomfort.com. - Secure one LINER BRACKET with (3) screws, then place the LINER TOP (smooth side down) so it rests on the LINER BRACKET. Then install a second LINER BRACKET with (3) screws. (See Figures 2 and 3.)


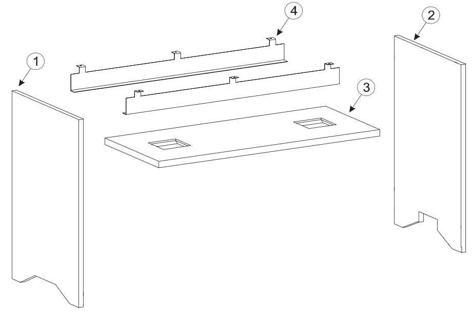
CERAMIC FIBER LINER KIT EXPLODED VIEW AND PARTS LIST

| ITEM NUMBER | DESCRIPTION | PART NUMBERS | ||||
| DVP4OPSWH | DVP4OPSFB | DVP4OPSWS | DVP4OPSTS | DVP4OPSKR | ||
| 1 | Left Liner | 40836 | 40851 | 40847 | 40843 | 40688 |
| 2 | Right Liner | 40837 | 40852 | 40848 | 40844 | 40687 |
| 3 | Top Liner | 40838 | 40838 | 40838 | 40838 | 40838 |
| 4 | Liner Bracket (2) | 40629 | 40629 | 40629 | 40629 | 40629 |
Empire Comfort Systems Inc. Belleville, IL
If you have a general question about our products,
please e-mail us at [email protected].
If you have a service or repair question, please contact your dealer.
www.empirecomfort.com




















