CHAMPION 500468-WL-UK Parallel Kit

AND SAVE THIS MANUAL. This manual contains important safety precautions which should be read and understood before operating the product.
Failure to do so could result in serious injury. This manual should remain with the product.
Specifications, descriptions and illustrations in this manual are as accurate as known at the time of publication, but are subject to change without notice.
INTRODUCTION
Congratulations on your purchase of a Champion Power Equipment (CPE) product. CPE designs, builds, and supports all of our products to strict specifications and guidelines. With proper product knowledge, safe use, and regular maintenance, this product should bring years of satisfying service.
Every effort has been made to ensure the accuracy and completeness of the information in this manual at the time of publication, and we reserve the right to change, alter and/ or improve the product and this document at any time without prior notice.
CPE highly values how our products are designed, manufactured, operated, and serviced as well as providing safety to the operator and those around the generator.
Therefore, it is IMPORTANT to review this product manual and other product materials thoroughly and be fully aware and knowledgeable of the assembly, operation, dangers and maintenance of the product before use. Fully familiarize yourself, and make sure others who plan on operating the product fully familiarize themselves too, with the proper safety and operation procedures before each use. Please always exercise common sense and always err on the side of caution when operating the product to ensure no accident, property damage, or injury occurs. We want you to continue to use and be satisfied with your CPE product for years to come.
When contacting CPE about parts and/or service, you will need to supply the complete model and serial numbers of your product. Transcribe the information found on your product’s nameplate label to the table below
CPE TECHNICAL SUPPORT TEAM
+44(0)-1942-715-407
MODEL NUMBER
500468-WL-UK
SERIAL NUMBER
DATE OF PURCHASE
PURCHASE LOCATION
SAFETY DEFINITIONS
The purpose of safety symbols is to attract your attention to possible dangers. The safety symbols, and their explanations, deserve your careful attention and understanding. The safety warnings do not by themselves eliminate any danger. The instructions or warnings they give are not substitutes for proper accident prevention measures.
| DANGER indicates a hazardous situation which,if not avoided, will result in death or serious injury |
| WARNING indicates a hazardous situation which, if not avoided, could result in death or serious injury |
| CAUTION indicates a hazardous situation which, if not avoided, could result in minor or moderate injury |
| NOTICE indicates information considered important, but not hazard-related (e.g., messages relating to property damage). |
IMPORTANT SAFETY INSTRUCTIONS
|
| NEVER connect or disconnect parallel kit in standing water, mud or wet surfaces. Failure to follow these important safety instructions could result in personal injury, death or damage to generator/s. |
| This device is for use in a weather protected area only |
Safety Symbols
Some of the following symbols may be used on this product. Please study them and learn their meaning. Proper interpretation of these symbols will allow you to more safely operate the product.
| SYMBO | MEANING |
![]() | Read Operator’s Manual. To reduce the risk of injury, user must read and understand operator’s manual before using this product. |
![]() | Electric Hazard. Failure to use in dry conditions and to observe safe practices can result in electric shock. Improper connections to a building can allow current to backfeed into utility lines, creating an electrocution hazard. A transfer switch must be used when connecting to a building. |
![]() | Wet Conditions Alert. Do not expose to rain or use in damp locations. |
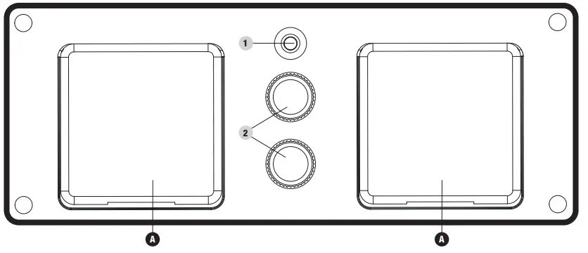
CONTROL PANEL

- Output Indicator Light – Remains ON during normal operating conditions. Turns OFF when generator is overloaded.
- Circuit Breaker (Push Reset) – Protects the generators against electrical overloads.
RECEPTACLES | ||
A | ![]() | (2x) 240V AC, 13 AMP May be used to supply electrical power for operation of 240 Volt AC, 13 Amp, single phase, 50 Hz electrical loads. |
ASSEMBLY AND OPERATION
This kit is intended for use on Champion Power Equipment inverters with Para LINK ports. Please refer to your Inverter Operator’s Manual for safety rules, start up and shut down procedures, specifications and troubleshooting.
| Before parallel linking two inverters, visit the Parallel Kit Selector on championpowerequipment.com for compatibility |
Setup and Operation

- Turn off and disconnect all electrical loads from both inverter generators.
- The two generators may be stacked one on top of the other by aligning the handle of the lower generator with the handle recess of the parallel kit. Align the lower pads of the top generator with the pocket pads of the parallel kit.

- The economy switch must be in the same position on both generators.
- Open rear door panel and take out the power leads and ground wires. Remove caps from the power leads.

- Plug one pair of power leads – connecting red to red and black to black (A), and ground wire (B) to inverter #1.

- Plug the second pair of power leads connecting red to red and black to black (A), and ground wire (B) to inverter #2.

- Start both inverter engines according to the Operator’s Manual. Observe the green output indicator light on the parallel kit panel – when the light is on, you may connect devices.
- Connect devices to parallel panel or generator panel receptacles. Loads up to 13A may be connected to each parallel kit socket, Max 25A across both sockets.. Individual loads connected to generator panels must be less than the 13 amp panel socket rating.
- The total electrical load must not exceed 13 amps (3600 watts).
- Follow the instructions in your inverter Operator’s Manual for turning off the generators.
- When not in use, power leads and ground wire can be stored within the parallel kit by accessing the door panel on the rear of the parallel kit.
| While transporting the unit, there is a chance that the rear door panel can become detached from the parallel kit unit. If this happens, follow the steps below to reassemble the door panel to the body. |
- Line up left door hinge pin with left side pin socket.

- Place the right side door hinge pin into the door frame guide slot. Using a steady force from the top right of the door panel, slide door down until the hinge pin snaps into place.

- Make sure door closes properly and that top retaining pins line up with the top pin sockets.

SPECIFICATIONS
Model ……………………………………. 500468-WL-UK
Volts AC………………………………………………. 240
Frequency ………………………………………….. 50 Hz
Phase ………………………………………………. Single
Weight ………………………………………..6.6 lb. (3 kg)
Length …………………………………… 8.6 in. (21.8 cm)
Width ……………………………………. 6.4 in. (16.2 cm)
Height……………………………………….5 in. (12.8 cm)
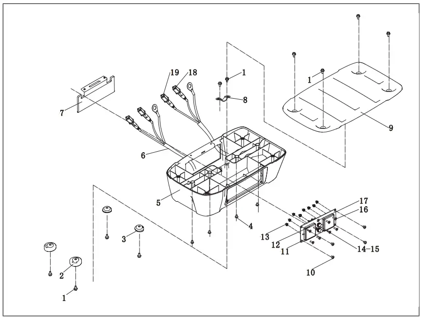
PARTS DIAGRAM

PARTS LIST
# | Part Number | Description | Qty. |
| 1 | 2.08.102 | Tapping Screw 6×13 | 10 |
2 | 62.213004.00 | Mounting Rubber, Base Setting | 2 |
| 3 | 62.213004.01 | Mounting Rubber, Base Setting | 2 |
4 | 1.845.4216 | Tapping Screw 4.2×16 | 4 |
5 | 62.213005.00 | Base, Control Box | 1 |
| 6 | 5.1900.151 | Wire | 2 |
7 | 62.213007.00.48 | Door, Control Box | 1 |
| 8 | 62.213008.00 | Plate, Wire | 1 |
9 | 62.213006.00 | Cover,Control Box | 1 |
| 10 | 1.9074.4.0512.1 | Screw/Washer Assembly M5×12, Black |
4 |
11 | 62.03.5.2 | Control Panel, Black | 1 |
| 12 | 5.1120.011.1 | Receptacle | 2 |
13 | 1.6177.1.04.2 | Lock Nut M4, Flange, Black | 8 |
| 14 | 5.1210.913 | 13Amp Circuit Breaker, Push Button | 2 |
15 | 5.1870.014 | Circuit Breaker Cover, Push Button | 2 |
| 16 | 1.819.0414.2 | Screw M4×14, Black | 8 |
17 | 5.1460.023 | Lamp | 1 |
| 18 | 5.1901.106.3 | Plug, Parallel, Wire 280 mm, Red | 2 |
19 | 5.1901.106.1 | Plug, Parallel, Wire 250 mm, Black | 2 |
WIRING DIAGRAM

CUSTOMER SUPPORT

or visit www.championpowerequipment.co.uk






























