PRO BOAT IMPULSE 32 Brushless Deep-V RTR
INTRODUCTION
NOTICE
All instructions, warranties and other collateral documents are subject to change at the sole discretion of Horizon Hobby, LLC. For up-to-date product literature, visit horizonhobby.com or towerhobbies.com and click on the support or resources tab for this product.
MEANING OF SPECIAL LANGUAGE
The following terms are used throughout the product literature to indicate various levels of potential harm when operating this product:
WARNING: Procedures, which if not properly followed, create the probability of property damage, collateral damage, and serious injury OR create a high probability of superficial injury.
CAUTION: Procedures, which if not properly followed, create the probability of physical property damage AND a possibility of serious injury.
NOTICE: Procedures, which if not properly followed, create a possibility of physical property damage AND little or no possibility of injury
WARNING: Read the ENTIRE instruction manual to become familiar with the features of the product before operating.
Failure to operate the product correctly can result in damage to the product, personal property and cause serious injury.
Age Recommendation: Not for children under 14 years. This is not a toy.
Safety Precautions and Warnings
As the user of this product, you are solely responsible for operating in a manner that does not endanger yourself and others or result in damage to the product or the property of others.
- When handling and/or transporting your boat, always pick up the boat from the sides, keeping all moving parts pointed away from you.
- Always keep a safe distance in all directions around your model to avoid collisions or injury. This model is controlled by a radio signal subject to interference from many sources outside your control. Interference can cause momentary loss of control.
- Always operate your model in open spaces away from full-size vehicles, traffic and people.
- Always carefully follow the directions and warnings for this and any optional support equipment (chargers, rechargeable battery packs, etc.).
- Always keep all chemicals, small parts and anything electrical out of the reach of children.
- Always avoid water exposure to all equipment not specifically designed and protected for this purpose.
Moisture causes damage to unprotected electronics. - Never place any portion of the model in your mouth as it could cause serious injury or even death.
- Never operate your model with low transmitter batteries.
Water-Resistant Boat with Waterproof Electronics
Your new Horizon Hobby boat has been designed and built with a combination of waterproof and water-resistant components to allow you to operate the product in calm, fresh water conditions.
While the entire boat is highly water-resistant, it is not completely waterproof and your boat should NOT be treated like a submarine. The various electronic components used in the boat, such as the servo(s) and receiver are waterproof, however, most of the mechanical components are water-resistant and require additional maintenance after use.
Metal parts, including the bearings, pins, screws and nuts, propeller, rudder, rudder mounts, prop struts, as well as the contacts in the electrical cables, will be susceptible to corrosion if additional maintenance is not performed after running in wet conditions.
To maximize the long-term performance of your boat and to keep the warranty intact, the procedures described in the “Wet Conditions Maintenance” section must be performed regularly.
CAUTION: Failure to exercise caution while using this product and complying with the following precautions could result in product malfunction and/or void the warranty.
General Precautions
- Read the WET CONDITIONS MAINTENANCE procedures and make sure that you have all the tools you will need to properly maintain your boat.
- Not all batteries can be used in wet conditions. Consult the battery manufacturer before use. Caution should be taken when using Li-Po batteries in wet conditions.
- Most transmitters are not water-resistant. Consult your transmitter’s manual or the manufacturer before operation.
- Never operate your transmitter or boat when lightning is present.
- Salt water is very conductive and highly corrosive. If you choose to run your boat in salt water, immediately rinse the boat in fresh water after each use. Operating your boat in salt water is at the sole discretion of the modeler.
Wet Conditions Maintenance
- Drain any water that has collected in the hull by removing the drain plug or canopy and tilting the boat in the appropriate direction to drain the water.
CAUTION: Always keep hands, fingers, tools and any loose or hanging objects away from rotating parts. - Remove the battery pack(s) and dry the contacts. If you have an air compressor or a can of compressed air, blow out any water that may be inside the recessed connector housings.
- Dry and lubricate parts after every 30 minutes of operation or if the boat becomes submerged.
NOTICE: Never use a pressure washer to clean your boat. - Use an air compressor or a can of compressed air to dry the boat and help remove any water that may have gotten into small crevices or corners.
- Spray the bearings, fasteners and other metal parts with a water-displacing light oil or lubricant.
- Let the boat air dry before you store it. Water (and oil) may continue to drip for a few hours.
Specifications
- Length 32.95 in (837mm)
- Beam 9.36 in (238 mm)
- Transmitter DX3 SMART DSMR 3 CH (SPMR2340)
- Receiver SR315 3CH Receiver (SPMSR315)
- Hull Material Fiberglass
- Motor Firma 2000Kv Brushless Marine Motor 1900Kv (SPMXMM1100)
- ESC Firma 160A SMART Brushless Marine ESC (SPMXSE1160M)
- Servo Waterproof Servo (SPMS605)
- Batteries Transmitter: 4 AA batteries
Boat: (2) 11.1V 5000mAh 3S 100C SMART LiPo, Hardcase, IC5 (SPMX50003S100H5) (sold separately)
Product Inspection
Carefully remove the boat and radio transmitter from the box.
Inspect the boat for damage. If your product is damaged, please contact the hobby shop where you purchased your boat, or contact Product Support. Refer to the Warranty and Service Contact Information section for more info.
Box Contents

- Pro Boat® Impulse™ 32 inch Brushless RTR Catamaran
- Spektrum DX3 SMART DSMR® 3CH Transmitter (SPMR2340)
- Spektrum SR315 3CH Receiver (SPMSR315)
- Spektrum Firma™ 160A SMART Brushless Marine ESC (SPMXSE1160M)
- Spektrum 9KG Servo, WP, Metal Cent. Case 23T (SPSM605)
- Firma 2000Kv Brushless Marine Motor (SPMXMM1100v)
- Four AA Batteries
Recommended Tools and Materials
- Adjustable wrench
- Needle nose pliers
- Paper towel
- Rubbing alcohol
- Phillips screwdriver: #1, #2
- Hex drivers: 1.5mm and 2mm
- Clear tape (DYNM0102)
- Grease Gun (DYNE4200)
Battery and Charger (Not Included)
The Impulse 32 boat requires two 3S hardcase LiPo Batteries with IC5 connector (not included). The included Spektrum™ Firma™ SMART ESC (SPMXSE1160M) has an IC5™ battery connector. We recommend the Spektrum 5000mAh 3S 11.1V 100C SMART LiPo Batteries (SPMX50003S100H5). We recommend charging Spektrum SMART Batteries paired with Spektrum Smart Chargers because Smart chargers will automatically configure the charge settings for Smart batteries. We recommend the Spektrum S2100 SMART AC Charger, 2x100w (SPMXC1010) with IC3 to IC5 charge adapter (SPMXCA507).
Refer to your battery and charger manuals for usage, safety, and charging information.
NOTICE: Never charge a battery in the boat or damage may result.
Installing the Battery Pack
- Loosen the four thumbscrews on the battery hatch and remove it from the hull.
- Apply one side of the included hook and loop tape to battery tray. Apply the other side of the hook and loop tape to the back of the battery.
- Install the fully charged batteries fully forward in the battery compartment and secure them with the hook and loop straps.
- Connect the batteries to the ESC.

WARNING: When using two batteries, always make sure the batteries are of similar type (voltage and capacity). Connecting batteries of mismatched capacity may result in battery over discharge, which could result in fire causing property damage or personal injury.
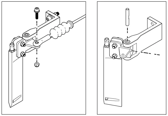
Antenna Tube Installation
Install the receiver antenna in the tube as shown. Do not bend the end of antenna over the antenna tube and place the cap over it or damage may result. The antenna does not have to be outside of the tube to operate properly.
Keep the end of the antenna above the boat’s waterline to get the best transmitter reception.
NOTICE: Do not cut or kink the receiver antenna or damage may result.
Spektrum SMART Technology
The Impulse 32 boat includes Spektrum Smart Technology in the ESC and receiver, which can provide you with telemetry information like battery voltage from your vehicle. The included DX3 Smart transmitter features an LED display to show the battery level of your vehicle during operation.
For additional Smart functionality, consider upgrading to a more advanced Smart Technology compatible Spektrum transmitter such as the DX5C (SPMR5100 transmitter only), or DX5 Pro (SPMR5010 transmitter only). Use Spektrum Smart batteries to power your Impulse 32 boat to take full advantage of Smart Technology, which can communicate detailed battery data through the system as well.
Visit www.SpektrumRC.com for more information.
DX3 Smart DSMR Transmitter Functions


- A/B. Channel 3 Button
- C. Throttle/Brake
- D. Steering Wheel
- E. Steering Rate
Adjusts the end point of the steering - F. Brake Rate
Adjusts the braking end point. - G. Steering Trim
Adjusts the steering center point. Normally, the steering trim is adjusted until the vehicle tracks straight. - H. Throttle Trim
Adjusts the throttle neutral point - I. SMART Battery Level Indicator
- J. Servo Reversing
To reverse the Throttle (TH) or Steering (ST)
channel, switch the position of the correlating
switch—“N” is for normal, “R” is for reverse. - K. Throttle Limit
Limits throttle output to 50/75/100%
Select 50% or 75% for less experienced drivers or when you are driving the vehicle in a small area. - L. Power LED
- Solid red lights: Indicates radio connectivity and adequate battery power
- Flashing red lights: Indicates the battery voltage is critically low. Replace batteries
- M. Power Button
- N. Bind Button
Transmitter Battery Installation
This transmitter requires 4 AA batteries
- Remove the battery cover from the transmitter.
- Install the batteries as shown.
- Install the battery cover.
CAUTION: Never remove the transmitter batteries while the model is powered ON. Loss of model control, damage, or injury may occur.
CAUTION: If using rechargeable batteries, charge only rechargeable batteries. Charging non-rechargeable batteries may cause the batteries to burst, resulting in injury to persons and/or damage to property.
CAUTION: Risk of explosion if battery is replaced by an incorrect type. Dispose of used batteries according to national regulations.
Low Voltage Cutoff (LVC)
The factory default setting for the LVC in the ESC included with your boat is set at 3.2V per cell. Discharging a Li-Po battery below 3V per cell may damage your battery. The included ESC protects the boat battery from over-discharge using Low Voltage Cutoff (LVC). Before the battery charge decreases too much, LVC removes power supplied to the motor.
The boat drastically slows or stops completely once LVC is activated. Releasing the throttle and reapplying it will provide a limited amount of power to safely return the boat to shore.
Repeated use after LVC is activated will damage the batteries. Once LVC has been activated, the ESC status light will flash red continuously, indicating that the ESC is in LVC mode.
NOTICE: The LVC reserves battery capacity to allow you to safely return your boat to shore. Continued use after LVC has activated will damage your battery. LVC can activate prematurely if you use (1) low C-rated batteries or (2) old, worn, and/or weak batteries.
The average run time—using the recommended batteries (SPMX50003S100H5)—is between 7–10 minutes at non-stop, open throttle. Limited run time may indicate worn or weak batteries.
Tip: If you’ve installed freshly charged batteries, and LVC activates within the first minute of operation, replace your worn or weak batteries with the recommended batteries.
Tip: Monitor your boat battery’s voltage before and after boating by using an XBC100 Smart Battery Checker and Servo Driver (SPMXBC100), sold separately.
Disconnect and remove the Li-Po battery from the boat after use to prevent trickle discharge. Charge your Li-Po battery to half capacity before storage. During storage, make sure the battery charge does not fall below 3V per cell. LVC does not prevent the battery from over-discharge during storage.
Getting Started
- Remove the canopy from the hull.
- Install the receiver antenna in the antenna tube.
- Install fully charged batteries fully forward in the compartment and secure them with the hook and loop straps.

- Power on the transmitter. Ensure the throttle is not reversed and the throttle trim is neutral.
- Connect the batteries to the ESC.
- Press the ESC power button until the ESC beeps and lights up.
WARNING: Never use a LiPo battery in NiMH mode.
Using a LiPo in NiMH mode may result in drawing the battery below a level where the battery is safe to recharge. In this event, attempting to recharge a LiPo Battery when the voltage is too low may result in a fire causing property damage and personal injury. - Install the canopy on the hull.

Control Check
IMPORTANT: Perform a control check at the beginning of each boating session, after repair, or after installation of new batteries.
Ensure the receiver antenna is extended properly and all batteries are fully charged.
- Power ON the transmitter and the boat.
Do not install the battery compartment. - Place the boat on a steady surface.
- Check steering and throttle on the transmitter.
Testing Your Boat in the Water
- Carefully place the boat in the water.
- If the boat does not go straight, adjust the steering trim dial on the transmitter.
- Return the boat to shore when it begins to slow or when LVC activates.
- Power off the ESC and disconnect the battery.
- Turn off the transmitter.

NOTICE: Always power OFF the receiver before powering OFF the transmitter. If the transmitter is powered OFF before the boat, the receiver will enter failsafe mode.
WARNING: Do not to increase steering throw beyond the factory setting or servo failure may occur.
Boating Tips
Maximum speeds can only be achieved when water conditions are optimal. Avoid sharp turns at high speed and reduce speed when water and/or wind conditions are not favorable. Strong wind or waves can capsize the boat when it is moving at high speeds. Always operate your boat in favorable wind and water conditions to prevent it from capsizing.
Consult local laws and ordinances before choosing a location to pilot your boat.
When boating in water, avoid boating near:
- watercraft
- people (swimming areas, fishing areas)
- stationary objects
- waves, wakes
- rapidly moving water
- wildlife
- floating debris
- overhanging trees
- vegetation
Practice driving the boat at low throttle by switching the transmitter preset throttle limiter to the medium setting.
Advance the throttle setting as you become proficient with driving.
If you need to retrieve your boat from the water, use fishing equipment or another boat.
CAUTION: Never operate the boat in extreme temperatures, windy conditions or turbulent water.
CAUTION: Never attempt to retrieve a downed boat by swimming to retrieve it.
When You Are Finished
- Power off the receiver by pressing the power button for 2 seconds.
- Power off the transmitter.
- Disconnect and remove the battery from the boat.

Tuning For Optimal Performance
There are four main features which can be adjusted on your Impulse 32 boat to tune it for optimal performance. Tuning is a balance of these settings; making a change to any of these settings may require you to adjust other settings elsewhere. It is normal and highly recommended to tune your boat for the boating conditions for the best performance every time you take your boat out. When water conditions change, as a result you should make changes to fine tune your boat to the new conditions.
Getting accustomed to tuning your boat on a regular basis will help you achieve the best boating experience. Finding the proper tuning settings will reduce the chance of a blow over and/or porpoising.
Prop Angle Adjustment
- Raising the prop strut increases speed, but also increases porpoising risk, and increases cavitation. Raise the prop strut to keep the nose of the boat riding high in rough water. If the strut is too high the boat will begin to loose stability and turn precision at higher speeds.
- Lowering the drive strut increases steering stability, but also increases drag and decreases speed. Lower the prop strut for smooth water conditions. If the strut is too low it will increase turn stability and authority, but will increase drag, and reduce speed.
- Loosen nut and bolt securing the drive strut on the rear of the boat.
- Slide the strut up or down to change the angle of the propeller in relation to the hull.
- Adjust as desired and tighten the nut and bolt.
Battery Placement
- For rough water move the batteries toward the back of the boat.
- In smooth water you can move the batteries forward more to gain speed.
- Move the batteries forward if the boat wants to porpoise.

Trim Tabs
- In smooth water conditions, lowing the trim tabs can help balance the ride of the boat by maximizing the prop strut to gain speed, while the trim tabs help keep the nose of the boat lower.
- In rough water, raise the trim tabs to help keep the bow of the boat riding high.
- Trim tabs are used to give your boat a flat riding stance when at speed. If your boat is leaning to one side simply increase the depth of the trim tab on the side that is deeper in the water to balance the boat laterally.

- Loosen the nut securing the trim tab setting.
- Adjust the bolt to hold the trim tab at the desired angle.
- Tighten the nut to prevent the bolt from moving.
Turn Fins
- In smooth water conditions and for high speed performance, raise the turn fins to increase speed.
- In rough water and for more turning authority, lower the turn fins.

- Loosen nut and bolt securing turn fin.
- Tighten the nut and bolt while holding the turn fin at the desired angle.
After Boating and Maintenance
- After each use, remove the drain plug and hold the boat upright to drain all water from inside the hull.
- Reinstall the drain plug.
- Fully dry the inside and outside of the boat, including the water cooling lines and jacket around the motor.
- Remove the hatch before storing your boat. We recommend placing the boat upside down to allow the water to continue to drain.
- Repair any damage or wear to the boat.
- Make note of lessons learned from the trimming of your boat, including water and wind conditions.

NOTICE: When you are finished boating, never leave the boat in direct sunlight or in a hot, enclosed area such as a car. Doing so can damage the boat.
Drivetrain Lubrication
Always replace the drivetrain parts when they are damaged or show visible wear or injury and damage may result.
Lubricating the flex shaft is vital to the life of the drivetrain.
The lubricant also acts as a water seal, keeping water from entering the hull through the stuffing tube.
Lubricate the flex shaft and all moving parts after every 30 minutes of operation. Remove, clean, and lubricate the flex shaft after every boating session.
- In the hull, use two 10mm open-end wrenches to loosen the collet nut from the flex shaft.
- Slide the flex shaft out from the stuffing tube and drive strut at the rear of the boat.
Tip: Use paper or cloth for cleaning and lubricating the flex shaft and other drivetrain parts. - Wipe the old lubricant and material from the flex shaft.
- Lubricate the full length of the flex shaft assembly up to the drive dog using marine grease (PRB0101 or PRB0100).
Also apply grease to the collet threads. - Carefully reinstall the flex shaft in the drive strut, stuffing tube and collet. If the flex shaft is difficult to remove or install in the collet, use a flat screwdriver to spread the grips of the collet.


Ensure there is a 1–2mm gap between the drive strut and drive dog to allow for flex shaft shrinkage under load.
NOTICE: Operation in saltwater is not recommended.
Corrosion from exposure to saltwater will occur very quickly after operation and cause damage to both mechanical and electrical components. Damage from exposure to saltwater is not covered under the warranty.
Water Cooling System
If water does not stream out of the water outlets while the boat is moving forward, immediately stop the boat and clean the obstruction from the water cooling system.
There are two separate water circuits in the Impulse 32. The Water rudder pickup cools the motor. A pickup on the bottom of the boat cools the ESC.
- Disassemble and clean the water cooling system to remove blockage and prevent overheating.
- Replace damaged parts.
Rudder Service
- Disconnect the water tube from the rudder.
- Remove the nut, screw and linkage from the rudder arm.
- Turn the rudder and loosen the set screw from the rudder pin.
- Turn over the boat and lightly tap the rudder to remove the pin.
- Assemble in reverse order.

Propeller Service
- Use an 8mm nut driver (DYN2805) to loosen the nut from the driveshaft.
- Remove the nut and propeller from the driveshaft.
- Assemble in reverse order. Correctly align the propeller with the drive dog on the driveshaft.

Motor Care
- Prolong motor life by preventing overheating conditions.
Undue motor wear results from frequent turns, stops and starts, pushing objects, boating in rough water or vegetation and boating continuously at high speed. - Over-temperature protection is installed on the ESC to prevent circuit damage, but cannot protect the motor from pushing against heavy resistance.
- Lubrication is important to prevent motor damage. If your motor gets wet, lubricate the busings supporting the motor shaft with light duty machine oil. Failure to do so can cause the motor shaft to seize against the motor bushings.
CAUTION: Do not touch the motor until it has had time to cool. It can become extremely hot when in use.
Radio and ECS Setup
The electronics installed in the Impulse 32 are fully configured and ready for operation out of the box. See the following instructions for proper binding and failsafe setup and ESC calibration.
SR315 Receiver
Specifications
Type: Dual Protocol 3 Ch Receiver (SLT*/DSMR)
Dimensions (LxWxH): 32.5 x 21.5 x 12.4mm
Antenna Length: 90mm
Channels: 3
Weight: 6g
Band: 2.4GHz
Voltage Range: 3.5–9.6V
Bind Type: Bind Button
*For SLT Bind information, review the SR315 manual online at HorizonHobby.com
Receiver Antenna
The SR315 receivers feature a coaxial antenna design for easy installation in almost any model. Think of the last 1 inch (32mm) on the tip of the antenna as the active portion of the antenna, the coaxial portion leading up to it is just an extension. Install the antenna so the active portion is positioned as high as possible in the vehicle, and not “in the shadow” of any carbon fiber or metal.
WARNING: Do not kink, cut or damage the antenna wire. The antenna is made of a coaxial wire; if the outer sheath becomes damaged, the receiver will not work properly. If the antenna is damaged in any way, replace the antenna before attempting to use the receiver.
Binding
Binding is the process of programming the receiver to recognize the GUID (Globally Unique Identifier) code of a single specific transmitter. The DX3™ transmitter and SR315 receiver are bound at the factory. If you need to rebind, follow the instructions below.
You must rebind when:
- Different failsafe positions are desired e.g., when throttle or steering reversing has been changed.
- Binding the receiver to a different transmitter.
- Binding the transmitter to a different receiver.
Hold the steering wheel and throttle trigger in the desired failsafe positions during binding. In the unlikely event that the radio link is lost during use, the receiver will drive all channels to its programmed failsafe position.
If using a SMART ESC and SMART battery, the transmitter SMART Battery Level indicator will show the vehicle battery level within 10 seconds of powering on and connecting.
DSMR Bind Process
- Press and hold the bind button, and Power ON the receiver; the orange LED will begin to flash. Release the bind button.

- Set the trims and control positions at the desired failsafe settings, press and hold the bind button, and power ON the DX3 Smart transmitter.
- When the orange LED on the DX3 Smart transmitter remains lit, it is connected to SR315 receiver.

ESC and Transmitter Calibration
- Begin with the transmitter and receiver binding complete.
- Set your transmitter’s throttle channel to 100% travel and trim to neutral.
- Turn on your transmitter and connect a battery to the ESC but don’t power it on.
- Press and hold the Set button while turning on the ESC.
When the red LED begins to flash, release the Set button.
The ESC will enter programming mode if the button is pressed for more than three seconds.
TIP: The red LED should be flashing when the ESC enters calibration mode. If the green LED is flashing the ESC is in programming mode. - Leave the throttle trigger at the neutral position, then press and release the Set button. The red LED will stop flashing, the green LED will flash one time and the motor will make a tone to indicate the neutral position has been accepted.
- Hold the throttle trigger at the full throttle position then press and release the Set button. The green LED will flash twice and the motor will make two tones to indicate the full throttle position has been accepted.
- Hold the throttle trigger at the full brake position then press and release the Set button. The green LED will flash three times and the motor will make three tones to indicate the full brake position has been accepted.
The motor will operate normally after calibration is completed.
Programming with the SMART Programmer Box
- Unplug the fan and connect the programming lead to the fan port.
- Connect a battery to the ESC.
- Power on the box and select the parameter with the SELECT button.
- Change the values of the selected parameter with the EDIT button
- Press the SAVE button to save the changes. The ESC requires a power cycle to implement the saved changes.
160A Programmable Options
| Programmable Items | Parameter Options | ||||||||
| 1 | 2 | 3 | 4 | 5 | 6 | 7 | 8 | 9 | |
| Running Mode | Forward Only | Forward/Reverse | |||||||
| LiPo Cells | Auto Calc. | 3S | 4S | 5S | 6S | 7S | 8S | ||
| Cutoff Voltage | Disabled | 2.8V/Cell | 3.0V/Cell | 3.2V/Cell | 3.4V/Cell | ||||
| Timing (degree) | 0.0 | 3.75 | 7.5 | 11.25 | 15.0 | 18.75 | 22.5 | 26.25 | |
| Motor Rotation | Clockwise | Counterclockwise | |||||||
*The blacked out cells with white text are the default settings.
Troubleshooting Guide
| Problem | Possible Cause | Solution |
| Boat will not respond to throttle but responds to other controls | Throttle channel is reversed | Reverse throttle channel on transmitter |
| Extra noise or extra vibration | Damaged propeller, shaft or motor | Replace damaged parts |
| Propeller is out of balance | Balance or replace propeller | |
| Reduced runtime or boat underpowered | Boat battery charge is low | Completely recharge battery |
| Boat battery is damaged | Replace boat battery and follow battery instructions | |
| Blocking or friction on shaft or propeller | Disassemble, lubricate and correctly align parts | |
| Boat conditions may be too cold | Make sure the battery is warm (above 10º C [50º F]) before use | |
| Battery capacity may be too low for conditions | Replace battery or use a larger capacity battery | |
| Drive dog is too near the prop strut | Loosen motor coupling on flex shaft and move flex shaft a small amount | |
| Too little lubrication on flex shaft | Fully lubricate flex shaft | |
| Vegetation or other obstacles block the rudder or propeller | Remove vegetation or obstacles from rudder or propeller | |
| Boat will not Bind (during binding) to transmitter | Transmitter is too near boat during binding process | Move powered transmitter a few feet from boat, discon- nect and reconnect battery to boat |
| Boat or transmitter is too close to large metal object, wireless source or another transmitter | Move the boat and transmitter to another location and attempt binding again | |
| Another compatible transmitter is powered on within range of the receiver | Power off all compatible transmitters except the one you are trying to bind | |
| Boat battery/Transmitter battery charge is too low | Replace/recharge batteries | |
| ESC switch is off | Power on ESC switch | |
| Boat will not connect (after binding) to transmitter | Transmitter is too near boat during connecting process | Move powered transmitter a few feet from boat, disconnect and reconnect battery to boat |
| Boat or transmitter is too close to large metal object, wireless source or another transmitter | Move boat or transmitter to another location and attempt to connect again | |
| Boat battery/transmitter battery charge is too low | Replace/recharge batteries | |
| ESC switch is off | Power on ESC switch | |
| Boat tends to dive in the water or takes on water | The boat hull is not completely closed | Dry out the boat and ensure the hatch is fully closed on the hull before returning the boat to the water |
| Center of gravity is too far forward | Move batteries back in the hull | |
| Boat tends to turn one direction | Rudder or rudder trim is not centered | Repair rudder or adjust rudder and rudder trim for straight running when control is at neutral |
| Rudder does not move | Rudder, linkage or servo damage | Replace or repair damaged parts and adjust controls |
| Steering servo wire is damaged or connections are loose | Do a check of steering servo wires and connections, connect or replace as needed | |
| Transmitter is not bound correctly | Re-bind | |
| BEC (Battery Elimination Circuit) of the ESC is damaged | Replace ESC | |
| ESC switch is off | Power on ESC switch | |
| Controls reversed | Transmitter settings are reversed | Do the Control Direction Test and adjust controls on transmitter appropriately |
| Motor overheats | Blocked water cooler tubes | Clean or replace water tubes |
| Motor power pulses then motor loses power | ESC uses default soft Low Voltage Cutoff (LVC) | Recharge boat battery or replace battery that is no longer performing |
| Weather conditions might be too cold | Postpone until weather is warmer | |
| Battery is old, worn out or damaged | Replace battery |
Replacement Parts
| Part # | Description |
| FUG4300BP4 | AA Alkaline Battery (4) |
| PRB281087 | Grease Guard Set: Impulse 32 |
| PRB281088 | Receiver Box Set: Impulse 32 |
| PRB281096 | Hull & Cnpy Set blk: Impulse 32 |
| PRB281097 | Bulk Head Fit Set: Impulse 32 |
| PRB281098 | Trim Tab Set: Impulse 32 |
| PRB281099 | Turn Fin Set: Impulse 32 |
| PRB281100 | Rudder Set: Impulse 32 |
| PRB281121 | Hull & Cnpy Set, Wht: Impulse 32 |
| PRB282079 | Flex Shaft 5 x 260mm: Impulse 32 |
| PRB282080 | Stuffing Tube: Impulse 32 |
| PRB282081 | Propeller Strut Set: Impulse 32 |
| PRB282089 | Propeller: 42-inch Blackjack |
| PRB282092 | Motor Mount Set: Impulse 32 |
| PRB285003 | Break Away Bolt: Impulse 32 |
| PRB286070 | Steering Pushrod Set: Impulse 32 |
| PRB286072 | Rubber Seal Set: Impulse 32 |
| PRB286074 | Boat Stand: Impulse 32 |
| PRB289006 | Decal Set BLK/GRN: Impulse 32 |
| SPMR2340 | DX3 Smart Transmitter |
| SPMS605 | 9KG Servo, WP, Metal Cent. Case 23T |
| SPMSR315 | SR315 DSMR 3 CH Receiver |
| SPMXMM1100 | Firma 2000Kv Brushless Marine Motor |
| SPMXSE1160M | Firma 160A Smart BL Marine ESC |
Recommended Items
| Part # | Description |
| DYNE4200 | Grease Gun w/ Marine Grease 5oz |
| DYNM0102 | Clear Flex Marine Tape (18M) |
| SPMX50003S100H5 | 5000mAh 3S 11.1V Smart 100C; IC5 |
| SPMXC1010 | Smart S2100 AC Charger, 2X100W |
| SPMXCA507 | Adapter: IC3 Battery/IC5 Device |
Optional Items
| Part # | Description |
| DYN1400 | LiPo Charge Protection Bag,Small |
| DYN4403 | GPS Speed Meter 2.0 |
| DYNF1055 | Infrared Temp Gun w/ Laser |
| DYNT0502 | Start Up Tool Set: Proboat |
| SPM5010 | DX5 Pro DSMR Tx w/SR2100 |
| SPMSS6250 | S6250 U-T / H-S Digital HV WP Servo |
| SPMXBC100 | SMART Battery & Servo Tester |
| SPMXCA200 | Avian Firma Smart ESC Programmer |
Limited Warranty
What this Warranty Covers
Horizon Hobby, LLC, (Horizon) warrants to the original purchaser that the product purchased (the “Product”) will be free from defects in materials and workmanship for a period of 2 years from the date of purchase.
What is Not Covered
This warranty is not transferable and does not cover (i) cosmetic damage, (ii) damage due to acts of God, accident, misuse, abuse, negligence, commercial use, or due to improper use, installation, operation or maintenance, (iii) modification of or to any part of the Product, (iv) attempted service by anyone other than a Horizon Hobby authorized service center, (v) Product not purchased from an authorized Horizon dealer, or (vi) Product not compliant with applicable technical regulations or (vii) use that violates any
applicable laws, rules, or regulations.
OTHER THAN THE EXPRESS WARRANTY ABOVE, HORIZON MAKES NO OTHER WARRANTY OR REPRESENTATION, AND HEREBY DISCLAIMS ANY AND ALL IMPLIED WARRANTIES, INCLUDING, WITHOUT LIMITATION, THE IMPLIED WARRANTIES OF NON-INFRINGEMENT, MERCHANTABILITY AND FITNESS FOR A PARTICULAR PURPOSE. THE PURCHASER ACKNOWLEDGES THAT THEY ALONE HAVE DETERMINED THAT THE PRODUCT WILL SUITABLY MEET THE REQUIREMENTS OF THE PURCHASER’S INTENDED USE.
Purchaser’s Remedy
Horizon’s sole obligation and purchaser’s sole and exclusive remedy shall be that Horizon will, at its option, either (i) service, or (ii) replace, any Product determined by Horizon to be defective. Horizon reserves the right to inspect any and all Product(s) involved in a warranty claim. Service or replacement decisions are at the sole discretion of Horizon. Proof of purchase is required for all warranty claims. SERVICE OR REPLACEMENT AS PROVIDED UNDER THIS WARRANTY IS THE PURCHASER’S SOLE AND EXCLUSIVE REMEDY.
Limitation of Liability
HORIZON SHALL NOT BE LIABLE FOR SPECIAL, INDIRECT, INCIDENTAL OR CONSEQUENTIAL DAMAGES, LOSS OF PROFITS OR PRODUCTION OR COMMERCIAL LOSS IN ANY WAY, REGARDLESS OF WHETHER SUCH CLAIM IS BASED IN CONTRACT, WARRANTY, TORT, NEGLIGENCE, STRICT LIABILITY OR ANY OTHER THEORY OF LIABILITY, EVEN IF HORIZON HAS BEEN ADVISED OF THE POSSIBILITY OF SUCH DAMAGES. Further, in no event shall the liability of Horizon exceed the individual price of the Product on which liability is asserted.
As Horizon has no control over use, setup, final assembly, modification or misuse, no liability shall be assumed nor accepted for any resulting damage or injury. By the act of use, setup or assembly, the user accepts all resulting liability. If you as the purchaser or user are not prepared to accept the liability associated with the use of the Product, purchaser is advised to return the Product immediately in new and unused condition to the place of purchase.
Law
These terms are governed by Illinois law (without regard to conflict of law principals). This warranty gives you specific legal rights, and you may also have other rights which vary from state to state. Horizon reserves the right to change or modify this warranty at any time without notice.
WARRANTY SERVICES
Questions, Assistance, and Services
Your local hobby store and/or place of purchase cannot provide warranty support or service. Once assembly, setup or use of the Product has been started, you must contact your local distributor or Horizon directly. This will enable Horizon to better answer your questions and service you in the event that you may need any assistance. For questions or assistance, please visit our website at www.horizonhobby.com, submit a Product Support Inquiry, or call the toll free telephone number referenced in the Warranty and Service Contact Information section to speak with a Product Support representative.
Inspection or Services
If this Product needs to be inspected or serviced and is compliant in the country you live and use the Product in, please use the Horizon Online Service Request submission process found on our website or call Horizon to obtain a Return Merchandise Authorization (RMA) number. Pack the Product securely using a shipping carton. Please note that original boxes may be included, but are not designed to withstand the rigors of shipping without additional protection. Ship via a carrier that provides tracking and insurance for lost or damaged parcels, as Horizon is not responsible for merchandise until it arrives and is accepted at our facility. An Online Service Request is available at http://www.horizonhobby.com/content/service-center_render-service-center. If you do not have internet access, please contact Horizon Product Support to obtain a RMA number along with instructions for submitting your product for service. When calling Horizon, you will be asked to provide your complete name, street address, email address and phone number where you can be reached during business hours.
When sending product into Horizon, please include your RMA number, a list of the included items, and a brief summary of the problem. A copy of your original sales receipt must be included for warranty consideration. Be sure your name, address, and RMA number are clearly written on the outside of the shipping carton.
NOTICE: Do not ship Li-Po batteries to Horizon. If you have any issue with a Li-Po battery, please contact the appropriate Horizon Product Support office.
Warranty Requirements
For Warranty consideration, you must include your original sales receipt verifying the proof-of-purchase date. Provided warranty conditions have been met, your Product will be serviced or replaced free of charge. Service or replacement decisions are at the sole discretion of Horizon.
Non-Warranty Service
Should your service not be covered by warranty, service will be completed and payment will be required without notification or estimate of the expense unless the expense exceeds 50% of the retail purchase cost. By submitting the item for service you are agreeing to payment of the service without notification.
Service estimates are available upon request. You must include this request with your item submitted for service. Non-warranty service estimates will be billed a minimum of ½ hour of labor.
In addition you will be billed for return freight. Horizon accepts money orders and cashier’s checks, as well as Visa, MasterCard, American Express, and Discover cards. By submitting any item to Horizon for service, you are agreeing to Horizon’s Terms and Conditions found on our website http://www.horizonhobby.com/content/service-center_render-service-center.
ATTENTION: Horizon service is limited to Product compliant in the country of use and ownership. If received, a non-compliant Product will not be serviced. Further, the sender will be responsible for arranging return shipment of the un-serviced Product, through a carrier of the sender’s choice and at the sender’s expense. Horizon will hold non-compliant Product for a period of 60 days from notification, after which it will be discarded.
Warranty and Service Contact Information*
| Country of Purchase | Horizon Hobby | Contact Information | Address |
|
United States of America | Horizon Service Center (Repairs and Repair Requests) | servicecenter.horizonhobby.com/RequestForm/ | 2904 Research Rd. Champaign, Illinois, 61822 USA |
| Horizon Product Support (Product Technical Assistance) | [email protected] | ||
| 877-504-0233 | |||
| Sales | [email protected] | ||
| 800-338-4639 | |||
| EU | Horizon Technischer Service | [email protected] | Hanskampring 9 D 22885 Barsbüttel, Germany |
| Sales: Horizon Hobby GmbH | +49 (0) 4121 2655 100 |
FCC Information
DX3 Transmitter Contains FCC ID: BRWKATY1T SR315 Receiver FCC ID: BRWSRIRVINGV1
This equipment complies with FCC and IC radiation exposure limits set forth for an uncontrolled environment. This equipment should be installed and operated with minimum distance 20cm between the radiator and/or antenna and your body (excluding fingers, hands, wrists, ankles and feet). This transmitter must not be co-located or operating in conjunction with any other antenna or transmitter.
Supplier’s Declaration of Conformity
Lucas Oil Impulse 32-inch BL V Hull w/Smart, RTR (PRB08037)
This device complies with part 15 of the FCC Rules.
Operation is subject to the following two conditions: (1)
This device may not cause harmful interference, and (2) this device must accept any interference received, including interference that may cause undesired operation.
CAUTION: Changes or modifications not expressly approved by the party responsible for compliance could void the user’s authority to operate the equipment.
NOTE: This equipment has been tested and found to comply with the limits for a Class B digital device, pursuant to part 15 of the FCC Rules. These limits are designed to provide reasonable protection against harmful interference in a residential installation. This equipment generates, uses and can radiate radio frequency energy and, if not installed and used in accordance with the instructions, may cause harmful interference to radio communications. However, there is no guarantee that interference will not occur in a particular installation. If this equipment does cause harmful interference to radio or television reception, which can be determined by turning the equipment off and on, the user is encouraged to try to correct the interference by one or more of the following measures:
- Reorient or relocate the receiving antenna.
- Increase the separation between the equipment and receiver.
- Connect the equipment into an outlet on a circuit different from that to which the receiver is connected.
- Consult the dealer or an experienced radio/TV technician for help.
Horizon Hobby, LLC
2904 Research Rd.,
Champaign, IL 61822
Email: [email protected]
Web: HorizonHobby.com
IC Information
DX3 Transmitter Contains IC: 6157A-KATY1T SR315 Receiver IC: 6157A-SRIRVINGV1 CAN ICES-3 (B)/NMB-3(B)
This device contains license-exempt transmitter(s)/receivers(s)
that comply with Innovation, Science, and Economic Development Canada’s license-exempt RSS(s). Operation is subject to the following 2 conditions:
- This device may not cause interference.
- This device must accept any interference, including interference that may cause undesired operation of the device.
Compliance Information for the European Union
Lucas Oil Impulse 32-inch BL V Hull w/Smart, RTR (PRB08037) Hereby, Horizon Hobby, LLC declares that the device is in compliance with the following:
EU Radio Equipment Directive 2014/53/EU;
RoHS 2 Directive 2011/65/EU;
RoHS 3 Directive – Amending 2011/65/EU Annex II 2015/863.
The full text of the EU declaration of conformity is available at the following internet address: https://www.horizonhobby.com/content/support-render-compliance.
NOTE: This product contains batteries that are covered under the 2006/66/EC European Directive, which cannot be disposed of with normal household waste. Please follow local regulations.
DX3 Smart Transmitter Wireless Frequency Range and
Wireless Output Power: 2402-2478 MHz / 17.7 dBm
SR315 Receiver Wireless Frequency Range and
Wireless Output Power: 2404-2476 MHz / -1.33 dBm
EU Manufacturer of Record:
Horizon Hobby, LLC
2904 Research Road
Champaign, IL 61822 USA
EU Importer of Record:
Horizon Hobby, GmbH
Hanskampring 9
22885 Barsbüttel Germany
WEEE NOTICE:
This appliance is labeled in accordance with European Directive 2012/19/EU concerning waste of electrical and electronic equipment (WEEE). This label indicates that this product should not be disposed of with household waste. It should be deposited at an appropriate facility to enable recovery and recycling.

References
RC Airplanes and Helicopters, RC Cars and Trucks, RC Boats, RC Radios | Horizon Hobby
Horizon Hobby Compliance Information
Ferngesteuerte Flugmodelle, Autos, Trucks, Hubschrauber, Boote und Fernsteuerungen | Horizon Hobby
Product Service Center - Request Form
RC Cars, RC Trucks, RC Airplanes, Model Trains, and Slot Cars at Tower Hobbies
RC Airplanes and Helicopters, RC Cars and Trucks, RC Boats, RC Radios | Horizon Hobby
RC Airplanes and Helicopters, RC Cars and Trucks, RC Boats, RC Radios | Horizon Hobby
Horizon Hobby Service Center
Spektrum RC Transmitters and RC Electronics | Spektrum
RC Cars, RC Trucks, RC Airplanes, Model Trains, and Slot Cars at Tower Hobbies
RC Airplanes and Helicopters, RC Cars and Trucks, RC Boats, RC Radios | Horizon Hobby



































