Operator Manual
Air-cooled Diesel Generator
7000D Air-Cooled Diesel Generator
IMPORTANT – Please make certain that persons who are to use this equipment thoroughly read and understand these instructions and any additional instructions provided prior to operation.
Record the model and serial numbers of your Generator below:
Model No._____________________ Serial No._______________________
FOREWORD
Thank you for purchasing our product. This operator manual is for proper handling, minor checking and maintenance of the generator. Before using your generator: Please read these instructions completely and carefully in order to make the best use of it as well as operate it safely. Due to constant efforts to improve our products, certain procedures and specifications are subject to change without notice, if you have any questions, please contact Promate Service.
Safety Precautions
The electric power generated by the diesel engine of the generator can be used for many kinds of electric appliances. When handling it, please keep to the following matters. Please make sure you review each precaution carefully.
![]()
Warning
EXHAUST PRECAUTIONS
- Never inhale exhaust gasses. They contain carbon monoxide, a colorless, odorless and extremely dangerous gas which can cause unconsciousness or death.
- Never operate the generator indoor or in a poorly ventilated area, such as tunnel, cave, etc. Exercise extreme care when operating the generator near people or animals. Keep the exhaust pipe free of foreign objects.
Warning
REFUELING PRECAUTIONS
- Do not refuel indoors or in a poorly ventilated area. Be sure to stop the generator prior to refueling. Do not overfill the tank. If fuel is spilt, wipe it away carefully before starting the engine.
Warning
WHEN CHARGING THE BATTERY
- Battery electrolyte contains sulfuric acid. Be careful of your eyes, skin and clothing. Flush thoroughly with water and get prompt medical attention in case of contacts, especially if your eyes are affected.
- Charge the battery in a fully ventilated place.
- Be sure to confirm battery polarity.
Warning
OTHER SAFETY PRECAUTIONS
- Be careful of hot parts.
The muffler and other engine parts become very hot while the engine is running or just after it has stopped.
Operate the engine in a safe area and keep children away from the running engine. - Where to use the generator
Do not use it near flammables. Use it more than 1 meter away from buildings or any other facilities. - When using the generator
Do not tip or move.
Do not cover it with a box or fence it around.
Never unscrew the dipstick when using the generator set, or else scald will be caused by ejective oil. Do not touch the generator in the rain. And, do not splash wat.er or touch with wet hand. - To avoid an electric shock, ground the generator from the ground terminal.
- Avoid using generator at the place where the ground is not firm.
- Never connect generator to the wiring of a power company.
Name of Parts

Before Starting
Before starting the engine. check the generator set on the place where it is flat by placing it horizontally.
3-1 Checking and selecting engine oil
Warning
- The engine may be damaged if operated with insufficient lube oil. It is also dangerous to supply too much lube oil to the engine because a sudden increase in engine rpm could be caused by its combustion. Always check the lube oil level before starting the engine and refill if necessary.
- Make sure to check oil level and to refill with oil to the specified level before starting the generator even though it is equipped with a low oil pressure warning system.
Use proper lube oil to preserve your engine
ENGINE OIL
We recommend A.P.I engine service classification of CC or CD. Always use the oil with the right viscosity for the ambient temperature in which your engine is being operated. Use the chart right side for choosing your engine oil.
Lube oil capacity (L) 1.7
Caution
- When checking the oil level, make sure your engine is sitting level. If it is tilted, you may add either too much or too little oil. If you overfill, your engine will consume too much oil and the oil temperature will become dangerously high if you do not add enough oil, your engine could seize up.
- When checking the oil, simply dip the dipstick into the oil pan. Do not screw in the dipstick.
- Be sure to check the engine on a level surface with the engine stopped.
- Keep the oil screw plug in the bonnet except adding oil. If the plug is not in place, rain, dirt, and other contaminants may enter the engine and cause accelerated wear out (abrasion) of internal parts. This can cause serious problems.
3-2 Selection and handling of fuel oil
Only use diesel light oil.
When filling the fuel tank from drums, make sure that no dust or water are mixed in the fuel. This may lead to serious fuel-injection pump and nozzle problems.
- Only use the recommended diesel fuel oil.
Use of non-recommended fuel may cause the engine damage. - Fuel should have a cetane value of more than 45 in order to prevent difficult starting, misfiring, and white exhaust smoke.
- Diesel fuel oil substitutes are not recommended; they may be harmful to the fuel system components.
- Fuel should be free of water or dust because these cause trouble in the fuel injection pump and nozzle.
After purchasing fuel: Allow drum to stand 3-4 days.
After 3-4 days: Put a suction pipe halfway into the drum. (Water and dust accumulate in the lower position of the drum.)

Warning
- Refuel in a well-ventilated area with the engine stopped.
- Do not smoke or allow flames or sparks in the area where the engine is refueled or where gasoline is stored.
- Do not overfill the tank and make sure the filter cap is securely closed after refueling.
- Be careful not to spill fuel when refueling if any fuel is spilled, make sure the area is dry before starting the engine.

Overfill is dangerous. Do not fill the tank beyond the top of the red plug inside the fuel tank filter.
Fuel Tank Capacity (L) 15
3-3 Connecting the battery
- Unscrew / Remove the battery bracket

- Remove the battery terminal cover
Connect the wires to the battery terminals.
Caution
Respect the connection order (BLACK first, then RED second) - Secure the battery bracket

Starting
4-1 Electric starting

A. Open the fuel cock
b. Set the engine speed lever (B) to “RUN” position.
c. Turn the starting key clockwise to “START” position.
d. Remove your hand from the key as soon as the engine starts.
e. If the engine does not start after 10 seconds, wait a while (for about 15 seconds) before attempting to start again.
CAUTION
If the starting motor is working for too long, the battery will go flat and motor seize up will occur. Always leave the starting key turned on, at the “ON” position, while the engine is running.
(2) Battery
Check the level of the fluid in the battery every month. When the level has dropped to the lower mark replenish with distilled water up to the upper mark.
- If the battery fluid is short, the engine may not start because too little electricity is reaching the starter motor. Always keep the fluid level between the upper and lower limits.
- If too much battery fluid is supplied, the fluid may spill and corrode the surrounding parts.

For models equipped with decompression lever, follow 4-2 Electric starting using decompression (weak battery)
4-2 Electric starting using decompression (weak battery)
If the battery is weak, discharged, or old, it may not be able to generate enough power to start the engine (Replace the battery and repeat 4-1 Electric starting)
It is also possible to decompress the engine before starting, which would require less power to start the engine and could enable an electric start of the unit with a weak battery.
Decompression process as follows:
- Unscrew and remove the top cover (See below pic)

- Push down the decompression lever (C) (It will return automatically after the engine starts)

- Install and secure the top cover

- Start the generator as per 4-1 Electric starting
Warning
- Never use any volatile liquid or gas such as gasoline to cold starting the machine, or else, severe damage will occur.
Operating Your Generator Set
5-1 Operating your generator
- Warm up the engine without load for 3 minutes.
- This generator is equipped with low oil warning system. The engine will stop automatically in case of low oil pressure or a lubrication oil shortage. The engine will stop immediately without a lubrication oil refill.
Check the oil level and refill. - Do not loosen or readjust either the engine speed limiting bolt or fuel injection limiting bolt [They had been already well adjusted before leaving factory), otherwise performance may be affected.
5-2 Checks during operation
- Any abnormal sound or vibration?
- The engine misfiring or running rough?
- What about the color of the exhaust gas? (Is it black or too white?). If you notice any situation mentioned above, please contact your dealer.
5-3 Load
To add load according to specified parameter.
A.C application
- Set AC breaker to “ON”. Pilot lamp will illuminate, the speed of generator must reach rated speed [lever at top).
- Insert the receptacle with the plugs of electric instruments to be connected, keep the switches of the connected electric instruments to “OFF’.
Caution
- The instruments which require much starting current and some kinds of motors may be unable to be use even if they are within the applicable scope.
- The circuit breaker turns “OFF’ when the current exceeding the applicable scope is used or when the applied instrument is defective.
- The current of the instruments which should not exceed the rated current showed on the socket, or else it may damage the machine.
DC application
- When the instruments connect with the DC terminal, please make sure to the positive polarity.
- DC output 12V 8.3A – 100W. 10
Stopping Your Generator Set
- Pull out the plug of an electric appliance from the receptacle
- Set the AC breaker to “OFF’
- From lowest to highest load, run the engine for about 3 minutes with no load.
- Return the engine speed lever to the “STOP” position
- In electric-start models, return the starter key to the “OFF” position
- Set the fuel chock lever to “S” (closed) position.
Slowly pull out the recoil handle until pressure is felt (that is, to the point in the compression stroke where the intake and exhaust valves are closed), and leave the handle in this position this prevents rust from forming while the engine is not in use.
Caution
When stopping the engine, reduce the load slowly. Do not stop the engine suddenly since it may cause the temperature to rise abnormally.
7.1 Periodic Checks and Maintenance
Periodic checks and maintenance are very important for keeping the engine in good condition and durable. The mark (•) indicates that special tools and skills are required, you must contact your dealer.
Shut off the engine before performing any maintenance. If the engine must run, make sure the area is well ventilated. The exhaust contains poisonous carbon monoxide gas.
Maintenance Schedule
| Operation Hours/Item | Daily | First month | Every 3 months | Every 6 months | Every year or |
| or 20 Hrs. | or 100 Hrs. | or 300 Hrs. | Every 1000 Hrs. | ||
| Check and tighten bolts and nuts | |||||
| Check and resupply engine oil | |||||
| Replace engine oil | 0 1st time | 0 2nd time & thereafter | |||
| Clean and replace oil filter | 0 | •Replace if necessary | |||
| Check oil leakage | |||||
| Replace air cleaner element | Service more frequently when used in dusty areas | 0 | |||
| Drain the fuel tank | Monthly | ||||
| Clean and replace fuel filter | 0 Clean | 0 Replace | |||
| Check fuel injection nozzle | • | ||||
| Check fuel injection pump | • | ||||
| Check fuel piping | 0 Replace if necessary | ||||
| Adjust intake/exhaust valves head clearance | 0 1st time | 0 | |||
| Check and lap intake/ exhaust valve seat | • | ||||
| Replace piston rings | • | ||||
| Check battery liquid | Monthly | ||||
7-1.1 Changing engine oil
Remove the oil filler cap, remove the drain plug and drain the used oil while the engine is still warm. The plug is located on the bottom of the cylinder block. Tighten the drain plug and refill with the recommended oil.
7-1.2 Cleaning the oil filter
Loosen the fixing bolt and then pull out the oil filter
| Change | Every 6 months or 300 hours [or earlier if dirty) |

7-1.3 Changing the air cleaner element
Do not wash the air cleaner element with detergent because this is a wet type element.
| Change | Every 6 months or 300 hours [or earlier if dirty) |
Caution
Never run the engine without the element or with a defective element.
7-1.4 Cleaning and replacing the fuel filter
The fuel filter also must be cleaned regularly to insure maximum engine output.
| Clean | Every 3 months or 100 hours |
| Replace | Every 6 months or 300 hours |
7-1.5 Checking the injection nozzle injection pump etc.
This requires special tools and skills, so contact your dealer.
7-1.6 Replacing piston ring
This requires special tools and skills, so contact your dealer.
7-2 Long term storage
If your generator set should be stored for a long time, the following preparation should be made:
- Operate the diesel engine about 3 minutes, and stop it
- Stop the engine. Drain the engine lube oil while the engine is still warm and fill with new oil
- Clean and store it in a dry place.
SERVICE INFORMATION HOW TO ORDER REPLACEMENT PARTS
Even quality-built equipment such as the generator you have purchased will need occasional replacement parts to maintain its good condition over the years.
To order replacement parts and consumable parts, please contact Promate Service (details below) and be ready with the following information:
- Model No., Serial No. and all specifications that are shown on the Model No./Serial No. plate.
- Part number or numbers as shown in the Parts List section.
- A brief description of the trouble with the generator.
LIMITED WARRANTY
Warranty Coverage: Powertech Asia Pacific Inc., (the Company) warrants to the original retail customer that it will repair or replace, free of charge, any parts found by the Company or its authorized service representative to be defective in material or workmanship. This warranty covers the cost of replacement parts and labor for defects in material or workmanship.
Not Covered:
- Shipping/Handling charges for sending the product to the Company or its authorized service representative for warranty service. Shipping/Handling repaired or replaced products back to the customer; these charges must be borne by the customer.
- If a separate operator’s manual and engine warranty from the engine manufacturer is included with this product, only that warranty will apply to the engine.
- Damage caused by abuse, accident, the effects of corrosion, erosion and normal wear and tear.
- Warranty is void if the customer fails to install, maintain and operate the product in accordance with the instructions and recommendations of the Company set forth in the owner’s manual, or if the product is used as rental equipment.
- The Company will not pay for repairs or adjustments to the product, or for any costs of labor performed without the Company’s prior authorization.
- Consumable parts such as battery, spark plugs, and air cleaner.
Warranty Period: One (1) year from the date of purchase on products used solely for consumer applications; if a product is used for business or commercial applications, the warranty period will be limited to ninety (90) days from the date of purchase.
For warranty service, the customer must provide dated proof of purchase and must notify the Company within the warranty period.
EXCLUSIONS AND LIMITATIONS: THE COMPANY MAKES NO OTHER WARRANTY OF ANY KIND, EXPRESS OR IMPLIED. IMPLIED WARRANTIES, INCLUDING WARRANTIES OF MERCHANTABILITY AND OF FITNESS FOR A PARTICULAR PURPOSE, ARE HEREBY DISCLAIMED. THE WARRANTY SERVICE DESCRIBED ABOVE IS THE EXCLUSIVE REMEDY UNDER THIS WARRANTY; LIABILITY FOR INCIDENTAL AND CONSEQUENTIAL DAMAGES IS EXCLUDED TO THE EXTENT PERMITTED BY LAW.
This warranty gives you specific legal rights, and you may also have other rights which vary from state to state. Some states do not allow a disclaimer of implied warranties or the exclusion or limitation of incidental and consequential damages, so the above disclaimers and exclusions may not apply to you.
Generator Exploded View

NOTE: The structure presented in this parts catalog may be different somewhat from that of our updated products in future.
| No. | Description |
| 1 | Diesel Engine Assembly |
| 2 | Electric Alternator Assembly |
| 3 | Chassis |
| 4 | Left Side Plate |
| 5 | Housing Unit |
| 6 | Right Side Plate |
| 7 | Fuel System |
| 8 | Muffler Assembly |
| 9 | Control Panel |
| 10 | Battery |
Diesel Generator Spare Parts List

(2) Electric Alternator Assembly
| No. | Part No. | Description | Qty. |
| 1 | 5500T-02200 | Electric Motor | 1 |
| 2 | 8KM.0341.01 | Front Cover of Electric Motor | 1 |
| 3 | GB/T5783-2000 | Hexagonal Bolt M8x30 | 4 |
| 4 | GB/5786-1986 | Screw M5x12 | 7 |
| 5 | 8KM.4351.01 | Fan | 1 |
| 6 | 5KM.6741.01 | Rotor | 1 |
| 7 | 6204DU | Clip | 1 |
| 8 | 8KM.214.009 | Gasket | 1 |
| 9 | 8KM.202.009 | Bolt (Locking Rotor) | 1 |
| 10 | 5KM.6801.01 | Stator | 1 |
| 11 | CB/810-1988 | Round Nut M5 | 2 |
| 12 | 8KM.203.009 | Bolt M5 (Locking Stator) | 2 |
| 13 | GB/T5783-2000 | Bolt M5 (Locking Front Cover | 4 |
| 14 | 8KM.0342.01 | Rear Cover of Electric Motor | 1 |
| 15 | D104 | Carbon Brush | 1 |
| 16 | GB/5786-1986 | Screw M5x14 | 2 |
| 17 | AVR | Excitation AVR | 1 |
| 18 | GB/5786-1986 | Screw M5x16 | 3 |
| 19 | 3510 | Rectifier | 1 |
| 20 | 5500T-02100 | Air Cover of Electric Motor Weldment | 1 |

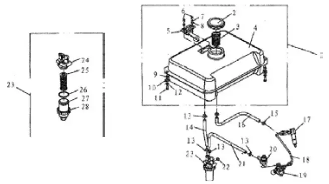
(7) Fuel System
| No. | Part No. | Description | Qty. |
| 1 | 5500T-07500 | Fuel Tank | 1 |
| 2 | 5500T-07200 | Fuel Tank Cover Assy | 1 |
| 3 | 5500T-07001 | Filler Filter | 1 |
| 4 | 5500T-07100 | Fuel Tank Weldment | 1 |
| 5 | 5500T-07400 | Oil Indicator Assy | 1 |
| 6 | GB/T818-1985 | Screw M5x12 | 2 |
| 7 | GB/T93-1987 | Elastic Gasket 5 | 2 |
| 8 | GB/T97.1-1985 | Gasket 5 | 2 |
| 9 | 5500T-07002 | Sheath | 4 |
| 10 | 5500T-07003 | Cushion | 4 |
| 11 | GB/T5783-2000 | Bolt M6x16 | 4 |
| 12 | GB/T97.1-1985 | Gasket 6 | 4 |
| 13 | 5500T-07004 | Clip I | 4 |
| 14 | 5500T-07005 | Fuel Pipe I | 1 |
| 15 | 5500T-07009 | Clip II | 2 |
| 16 | 5500T-07007 | Oil Return Pipe | 1 |
| 17 | 186FA-13000 | Nozzle | 1 |
| 18 | 186FA-10501 | High Pressure Fuel Pipe | 1 |
| 19 | 186F-12000 | Oil Pump Unit | 1 |
| 20 | 178FAGI-11200 | Fuel Control Valve | 1 |
| 21 | 5500T-07005 | Fuel Pipe II | 1 |
| 22 | GB/T6170-2000 | Nut M8 | 1 |
| 23 | 180N-10300 | Diesel Air Cleaner Unit | 1 |
| 24 | 180N-10301 | Diesel Air Cleaner Seat | 1 |
| 25 | 180N-10310 | Filter Core | 1 |
| 26 | 180N-10304 | Seal Sheath | 1 |
| 27 | 180N-10308 | Filter Cup | 1 |
| 28 | 180N-10307 | Fasten Cap | 1 |

(9) Control Panel
| No. | Part No. | Description | Qty. |
| 1 | GB/T818-1985 | Screw M6x12 | 8 |
| 2 | JK425 | Electric Lock | 1 |
| 3 | GB/T818-1985 | Screw M3x30 | 4 |
| 4 | Φ 5 Light | Oil Pressure Indicator Light | 1 |
| 5 | MU45 0~300V | AC Voltmeter | 1 |
| 6 | BLX | Fuse | 1 |
| 7 | 250V 26A | Receptacle | 2 |
| 8 | 5500T-09102 | Air Switch Mount | 1 |
| 9 | GB10963/B20/1P | Air Switch | 1 |
| 10 | 5500T-09101 | Control Panel | 1 |
| 11 | 910A Black | 12V Cathode Wiring Terminal | 1 |
| 12 | 910A Red | 12V Positive Wiring Terminal | 1 |
| 13 | GB806-1988 M6 | Control Panel Earth Terminal | 1 |
| 14 | 250V 26A | Plug | 1 |

(10) Battery
| No. | Part No. | Description | Qty. |
| 1 | 5500T-09303 | Battery Positive Wiring | 1 |
| 2 | GB/62-1988 | Butterfly Nut M6 | 2 |
| 3 | GB/T5783-2000 | Bolt M6x25 | 2 |
| 4 | 5500T-09502 | Battery Positive Wiring Clip | 1 |
| 5 | 5500T-09501 | Battery Cathode Wiring Clip | 1 |
| 6 | 5500T-09302 | Battery Wiring Terminal | 1 |
| 7 | 5500T-09301 | Generator Wiring Earth Terminal | 1 |
| 8 | 12V 30Ah | Battery | 1 |
CONTACT THE POWERTECH Asia Pacific Inc.,
PRODUCT SERVICE DEPARTMENT AT (02) 8 984 2620 | (+63) 9228741679
[email protected] www.facebook.com/PromateServicePH/

Connect the wires to the battery terminals.























