ZIPPER MASCHINEN ZI-STE6700DH 6500W Diesel Generator 
USER MANUAL
ATTENTION:
Check Oil! Engine doen’t start with low oil
SAFETY SIGNS
- CE-Conformal! – This product complies with the EC directives.

- Follow the instructions!

- No open flame, fire, open-source of ignition and smoking are prohibited!

- The danger of Intoxication (CO)! Only use outdoors and far from open windows and vents!


- Hot Surface

- Protect from moisture!

- Warning of flammable liquids; turn off the engine before filling (gasoline)

- Keep safe distance!

- High voltage!

- ATTENTION: Check Oil! Engine doesn’t start with low oil!!

- Warning signs and/or stickers on the machine which are illegible or have been removed must be replaced immediately!
TECHNIQUE
components
![]() | |||||
| name | name | ||||
| 1 | ignition lock | 11 | recoil | ||
| 2 | 400V power socket | 12 | battery
| ||
| 3 | 400V power socket
| 13 | muffler
| ||
| 4 | 230V power socket
| 14 | fuel indicator
| ||
| 5 | 12V DC connection | 15 | fuel tank cap | ||
| 6 | ground connection
| 16 | NFB circuit breaker
| ||
| 7 | oil drain
| 17 | Voltmeter | ||
| 8 | oil dipstick
| 18 | transport handle
| ||
| 9 | fuel tap
| 19 | e-starter
| ||
| 10 | throttle
| 20 | 2. oil inlet – oil
| ||
![]() | |||||
| Pos | name | ||||
| 1 | muffler
| 10 | 400V power socket
| ||
| 2 | fuel indicator
| 230V power socket | |||
| 3 | fuel tank cap
| 12 | oil drain
| ||
| 4 | ignition lock
| 13 | oil inlet- oil dipstick | ||
| 5 | Oil indicator light
| 14 | fuel tap
| ||
| 6 | Voltmeter | 15 | throttle
| ||
| 7 | protection | 16 | battery
| ||
| 8 | 12 DC connector | 17 | circuit breaker
| ||
| 9 | ground connection
| 18 | 400V) / voltage selection switch | ||
technical details
| Motortyp / Engine type / | 1-cyl. 4-stroke Diesel engine HP186FAE | |
| Displacement | 418 cm³ | 418 cm³ |
| Engine power
| 5.7 KW (rated) 6.5 kW (max) | 5.7 KW (rated) 6.5 kW (max) |
| Engine speed
| 3000min-1 (max 3600) | 3000min-1 (max 3600) |
| Starter | recoil/electric vrvični/električni | Electric električni |
| Battery-Type Type de | apollo 30Ah | apollo 30Ah |
| Protection mode | IP23M | IP23M |
| Oil-tank capacity
| 1.65 l (15W40) | 1.65 l (15W40) |
| fuel capacity
| 12.5 l (Diesel) | 14.5 l (Diesel) |
| Voltage | 1x 230V/ 50Hz 1x 400V/ 50Hz | 2x 230V/ 50Hz 1x 400V/ 50Hz |
| Generator rated output power
| 1,5 kW (230 V) | 3,0 kW (230 V) |
| Generator max output power
| 1,7 kW (230 V) | 3,3 kW (230 V) |
| Generator rated output power
| 4.6 kW (400 V) | 4.2 kW (400 V) |
| Generator max output power
| 5 kW (400 V) | 5 kW (400 V) |
| generator power factor | 1,0 (230 V) 0,8 (400 V) | 1,0 (230 V) 0,8 (400 V) |
| generator rated current | 6,6 A (230V / 400V) | 13 A (230V) 6,1 A (400V) |
| performance class | G1 | G1 |
| Generator DC-Output / Generator DC | 12V / max. 8.3A | 12V / max. 8.3A |
| guaranteed sound power level LWA | 97 dB(A) | 97 dB(A) |
| dimension (LxWxH)
| 740*510*660mm | 940*540*765 |
| weight (net- gross)
| 115 / 118 kg | 150 / 160 kg |
delivery content
![]() | ZI-STE7500DSH | ||||
| 1 | Generator | ||||
| 2 | Plug | ||||
| 3 | Prise | ||||
| 4 | (Box) | ||||
| 5 | start key
| ||||
| 6 | Engine manual
| ||||
| 7 | manual | ||||
![]() | ZI-STE6700DH | ||||
| 1 | Generator | ||||
| 2 | Prise | ||||
| 3 | Plug | ||||
| 4 | Tools | ||||
| 5 | start key | ||||
| 6 | Engine manual
| ||||
| 7 | manual | ||||
| 8 | Wheels | ||||
| 9 | foot rods | ||||
| 10 | rubber feet | ||||
| 11 | Axe | ||||
PREFACE
Dear Customer
This manual contains information and important instructions for the installation and correct use of the ZIPPER generators ZI-STE6700DH and ZI-STE7500DSH. Following the usual commercial name of the machine (see cover) is substituted in this manual with the name “machine”. Please read and obey the security instructions! Due to constant advancements in product design, construction pictures and content may diverse slightly. However, if you discover any errors, inform us please.
Technical specifications are subject to changes!
Please check the product contents immediately after receipt for any eventual transport damage or missing parts. Claims from transport damage or missing parts must be placed immediately after initial product receipt and unpacking before putting the product into operation.
Please understand that later claims cannot be accepted anymore. This document is protected by international copyright law. Any unauthorized duplication, translation or use of pictures, illustrations or text of this manual will be pursued by law. Court of jurisdiction is the regional court .
SAFETY
This section contains information and important notices for safe commissioning and handling of machine. For your own safety, read these operating instructions carefully before putting the machine into operation. This will enable you to handle the machine safely and prevent misunderstandings as well as possible damage to property and persons. Also observe the symbols and pictograms used as well as the safety instructions and hazard warnings!
Intended use of the machine
The machine is intended exclusively for the following activities:
This power unit is designed exclusively for operating electric devices whose max. performance is within the specifications for the generator. A higher starting current of inductive loads must be considered. The generator is designed to operate from conventional resistive and inductive loads, such as Lights, electric hand tools (drills, electric chain saws, compressors) determined. When connecting to stationary systems such as heating, house supply, air conditioning or for the power supply of mobile homes, an electrician and the heating manufacturer must be consulted regarding the connection and grounding. ZIPPER-MASCHINEN assumes no responsibility or warranty for any other use or use beyond this and for any resulting damage to property or injury.
Technical Restrictions
The machine is intended for use under the following ambient conditions: Relative humidity: max. 65 % Temperature (for operation) +5° C bis +40° C Temperature (for storage and/or transport) -20° C bis +55° C
Prohibited Use / Foreseeable Misuse
- Operation of the machine without adequate physical and mental aptitude
- Operating the machine without appropriate knowledge of the operating instructions (machine + motor).
- Changes in the design of the machine
- Operating the machine in wet and rainy conditions
- Operating the machine in a potentially explosive environment
- Operating the machine indoors or in closed areas
- Operation of the machine without functioning or missing guards
- Remove the safety markings attached to the machine.
- Modify, circumvent or disable the safety devices of the machine.
The prohibited/hazardous use or disregard of the information and instructions presented in this manual will result in the voiding of all warranty and damage claims against Zipper Maschinen GmbH.
User Requirements
The physical and mental suitability, as well as knowledge and understanding of the operating instructions, are prerequisites for operating the machine. Persons who, because of their physical, sensory or mental abilities or their inexperience or ignorance, are unable to operate the machinery safely must not use it without the supervision or instruction by a responsible person. Please note that local laws and regulations may determine the minimum age of the operator and restrict the use of this machine! Put on your personal protective equipment before working on the machine.Work on electrical components or equipment may only be carried out by a qualified electrician or carried out under the guidance and supervision of a qualified Electrician.
Safety instructions
In order to avoid malfunctions, damage and health hazards when working with this machine, in addition to the general rules for safe working, the following measures in particular must be observed UNCONDITIONALLY:
- Check that the machine is in perfect condition before each use. Ensure that all guards are in place and working properly and that all nuts, bolts, etc. are securely tightened. Do not take the machine into operation if you notice that parts are missing or damaged!
- Ensure sufficient lighting conditions in the working and surrounding areas of the machine.
- Keep hands and feet away from moving machine parts and always ensure a safe stand when working.
- Ensure that the area to be tamped does not contain any electric cables, gas or water lines which could be damaged by vibration.
- Remove the adjustment tool from the machine before operation.
- Ensure that unauthorised persons maintain a safe distance from the machine and keep children away from the machine.
- The machine may only be operated, serviced or repaired by persons who are familiar with it and who have been informed of the dangers arising during this work.
- Always wear suitable personal protective equipment (eg. ear protection,.., etc.)!
- Do not work with the machine if you are tired, not concentrated or under the influence of medication, alcohol or drugs!
- Never operate the unit in the presence of flammable liquids or gases (danger of explosion!).
- Carry out maintenance, adjustment and cleaning work only when the engine is switched off.
- Only use spare parts and accessories recommended by Zipper machines.
- Do not use the generator if it is raining, wet or has high humidity. RISK OF ELECTRIC SHOCK. DANGER OF LIFE!.
- Do not touch the engine and/or muffler during operation or immediately after switching off! These areas become hot during operation and can cause burns.
- Do not touch the spark plug connector when the engine is running (electric shock!).
- Do not operate the unit in closed areas or in poorly ventilated rooms unless there is adequate ventilation through exhaust fans or hoses. (Risk of suffocation from carbon monoxide!)
- Do not smoke while the machine is in operation.
- Do not smoke when refuelling the machine.
- Refuel the machine only in a well ventilated area.
- Do not refuel the machine when the engine is running or the machine is still hot.
- Do not refuel the machine near naked flames.
- Do not spill fuel when refuelling.
- Do not crank a gas flooded engine as long as the spark plug is removed- fuel in the cylinder sprays out of the spark plug opening.
- Do not carry out an ignition spark test on engines if the engine is flooded or gas can be smelled. A stray spark could ignite the vapours.
- Do not use fuel to clean machine parts, especially indoors. Vapours from fuels may explode.
- Always keep the area around the muffler free of foreign substances such as leaves, paper, cardboard, etc. A hot muffler could ignite these substances and cause a fire.
- Close the filler cap after refuelling.
- Check the fuel line and tank regularly for leaks and cracks. Do not operate the machine if leaks in the fuel system are known.
- Store fuel only in designated and approved containers.
Hazard warnings
- Risk of burns:Touching the mufflers, exhaust and other machine components which can be hot after prolonged continuous operation or when the engine is hot cause severe burns.
- Risk of fire and explosion:NEVER refuel fuel or engine oil while the machine is in operation or is hot.
When refuelling and at places where fuel is stored not smoke or allow open flames or sparks. Do not overfill the fuel tank and avoid the spillage of gasoline during refuelling. If fuel is spilled, make sure the area is completely dry and cleaned before starting the engine.
Make sure that the filler cap is tightly closed again after refuelling safely. - Chemical risksNever use or refuel a gasoline or diesel engine in a closed area without adequate ventilation. Carbon monoxide emissions from the internal drive units of the engine can cause in confined spaces through inhalation health effects and death. Therefore, use the machine only in well-ventilated rooms or outdoors in operation. Liquid fuels can cause serious damage on the skin and the environment.
- Risk of electric shock Direct electrical contact may cause electric shock. Never touch the unit with wet hands. Provide adequate grounding.
- Hearing damage
A longer stay in the immediate vicinity of the running unit may cause hearing damage. Wear ear protectors!Due to the design and construction of the machine, hazardous situations may occur which are identified as follows in these operating instructions:
Danger
A safety instruction designed in this way indicates an imminently hazardous situation which, if not avoided, will result in death or serious injury.
WARNING
Such a safety instruction indicates a potentially hazardous situation which, if not avoided, may result in serious injury or even death.
CAUTION
A safety instruction designed in this way indicates a potentially hazardous situation which, if not avoided, may result in minor or moderate injury.
NOTICE
A safety note designed in this way indicates a potentially dangerous situation which, if not avoided, may result in property damage. Irrespective of all safety regulations, their sound common sense and corresponding technical suitability/training are and remain the most important safety factor in the error-free operation of the machine. Safe working depends first and foremost on you!
ASSEMBLY
After delivery, check the machine immediately for transport damage and missing Parts.
ZI-STE6700DH:
The machine is delivered almost fully assembled. If desired, the transport unit can be mounted and battery have to be connected.
- Assembly wheel shaft Fix the wheel shaft to the frame with 2 clamps and 4 screws.

- Assembly wheels Place the wheel (1) on the stub shaft (3), add washers (4) and secure against axial movement by means of the cotter pin (3). Carry out that assembly steps on both sides.

- Assembly Feet
Attach the rubber feet (1) to the stand feet (29) and slide the stand foot (2) into the holder on the frame and secure it with the screw (3)
- Connecting the batteryThe battery is attached to the frame by means of a holding bracket or can be removed after loosening.Clamp the (+) pole red to the battery using a screw connection, then clamp the (-) pole black to the battery using a screw connection. Put both pole covers (2a, 3a) back in place to protect the two poles.

ZI-STE7500DSH:
The machine is delivered fully assembled. There is no further assembly necessary, except connection of the battery.
OPERATION
This power unit is designed exclusively for operating electric devices whose max. Performance within the performance specifications of the generator. A higher starting current of inductive loads must be considered.
NOTICE
Too low an oil level will damage the engine and shorten the life of the machine. Therefore, check the engine oil level before every start and top up the engine oil if
- To check the engine oil level, place the machine on a safe, level surface. Switch off the engine and allow the machine to stand for ten minutes so that the circulating oil can collect in the oil pan.
- Unscrew the oil dipstick and wipe with a clean, lint-free cloth or a non-fibrous paper towel.

- Push the dipstick into the opening, but do not screw it in. (Make sure that the dipstick has really been pushed in completely).

- Pull out the oil dipstick again and read off the oil level. There are two markings for this – see illustration on the left.
- If the oil level is low, refill the recommended oil up to the upper edge
- Push in the oil dipstick again and tighten.

To operate the generator, use engine oil that meets the following requirements:
- suitable for diesel engines
- 0W30 or 15W40
- with classification CF/ CH-4/ or CI-4
For year-round operation, engine oil with SAE viscosity level 15W-40 is recommended.
NOTICE
- Screw on the tank cap (sits on the fuel tank).
- Level check in the form of a visual inspection or via display. If necessary, top up with diesel fuel with the appropriate standard EN 590.
- Close the fuel filler cap tightly after refuelling.
Check the air filter
Check the core of the air filter, ensuring that it is clean and performs well.
- Loosen the screw on the cover of the filter, and then dismantle the cover to check the filter.
- Please clean or change the filter if necessary.
NOTICE
- Do not run the engine without the air filter, or else filth will enter the engine through carburetor, resulting in quick wear and tear of the engine.
- If the power output drops or the colour of the exhaust gases does not lock normal, renew the air filter immediately.
Grounding
Before starting up the machine, have it grounded by a qualified electrician! If the machine is intended for mobile operation, get a grounding cable with sufficient cross section from your electrical retailer.
First use
Make sure to treat the machine with care, when using it for the first time. After starting, let the motor run for 5 minutes without connecting the generator with consumer load.
Following points should be checked in the first 5 minutes:
- Is the sound of the generator normal?
- Are the vibrations not to strong?
- Exhaust gases should not look black or white.
- Is oil pilot light showing?
If these points meet the demands, the generator can be used further. Otherwise stop the generator and find the cause of the problem.
Operation
Starting the engine:
- Open fuel tap.
- Set the speed control to position „RUN“.
- Electronic starter:
- Set ignition key to position “ON”. After waiting 1-2 seconds, turn the ignition key to position “Start”.
- Release ignition key as soon as the engine has started.
- If the engine does not start within ten seconds, stop the starting process.
- Wait at least 30 seconds, before attempting a new start.
- Recoil starter:
- Pull the rope hard and fast.
- Pull the rope all the way out.
- Use two hands if necessary
Possible reasons for starting difficulties:
- Cold weather – if necessary, use starter-spray in the intake nozzle.
- Low battery, low acidity level – contact a qualified person or, with appropriate experience, refill distilled water yourself.
- Low oil (refill oil)
- Air in fuel-pipeline.
NOTICE
- Disconnect all electronic equipment from the generator before switching off the engine.
- Allow the device to continue running for approx. five minutes (5 min) after a long period of use. This helps the motor to cool down.
If the voltage (see voltmeter) is too high or too low, adjust the speed level. If a problem occurs, stop the generator and take care of the problem. At the DC-module (12V), a maximum amount of 8.3 A current is possible.
MAINTENANCE
The machine is low-maintenance. It contains only a few parts, which have to be maintained regularly by the operator. Malfunctions or defects that could impair the safety of the machine must be repaired immediately.
Maintenance-chart
Please maintain the generator in specified months or hours whatever comes first.
| Before any use | After 1. month or after first 20 operating hours | After 3 month or every 100 operating hours | After 6 month or every 500 operating hours | |
| Check tank, refuel if necessary | О | |||
| Check engine oil level, refill if necessary | O | |||
| Check for loss of fuel or oil | O | |||
| Check for loose or missing screws | O | O | ||
| Changing of oil | (O) | O | ||
| Changing of fuel | (O) | |||
| Cleaning the air filter | O | |||
| Cleaning the fuel filter | O | |||
| Check fuel line, replace if necessary | O | |||
| Check battery | 1 x every month | |||
- If used in dirty places, the generator should be maintained more regularly.
- If the user does not have the right tool, or has too little knowledge, maintenance should be performed by a qualified person.
Engine oil change
NOTICE
Changing the oil is easier when the engine is still warm.
- Remove the oil outlet screw.
- Drain the dirty oil into a suitable container.
- Fix the oil outlet screw again.
- Fill in new engine oil
- Check the engine oil level with the dipstick
- If the level is correct reinsert the dipstick
Transport / Storage
In order to avoid the generator leaking oil during transport or temporary storage, make sure to switch off the generator, keeping it at a standing pose under normal operations. After the engine is totally cooled, turn the ventilating pole of the fuel-filling lid to the “OFF” position thoroughly.
When transporting the generator:
- Do not let the fuel spill out of the fuel tank. (The top of the fuel-filling tank should have no fuel.)
- When the generator is placed on a vehicle, do not run the engine. You should take the generator down from the car before operation.
- When you take the generator to the car, avoid exposing it to sunshine. If it is put in sealed carriage for a long time, the high temperature of the carriage may cause the fuel to boiling away, thus leads to burn. Before the generator is put into a long-time storage, you should:Make sure the storage area is clean and dry.
Disposal
Do not dispose of the machine in residual waste. Contact your local authorities for information regarding the available disposal options. When you buy at your local dealer for a replacement unit, the latter is obliged to exchange your old.
TROUBLESHOOTING
If you find yourself unable to carry out necessary repairs properly and/or do not have the required training to do so, always consult a specialist to fix the problem.
| Trouble | Reason | Shooting |
| Engine will not start up | Fuel cock closed No fuel Too little oil in the tank Air in fuel pipeline Battery too weak | Set fuel cock in position “ON” Refill fuel Refill oil Have the fuel pipeline blown through Charge the battery with appropriate charger |
| Engine runs unevenly | Wrong fuel Air in fuel pipeline | Use correct fuel Have the fuel pipeline blown through |
| Motor too little power | Dirty air filter | Clean the filter elements, possibly exchange |
| Low output voltage under load | Too much load available | Reduce existing load |
| Uneven Output voltage | Unbalanced load available | Disconnect all electrical consumers. Then apply again individually to determine which consumer causes the uneven loads. |
| High noise level | Loose screw connections | Tighten all screws |
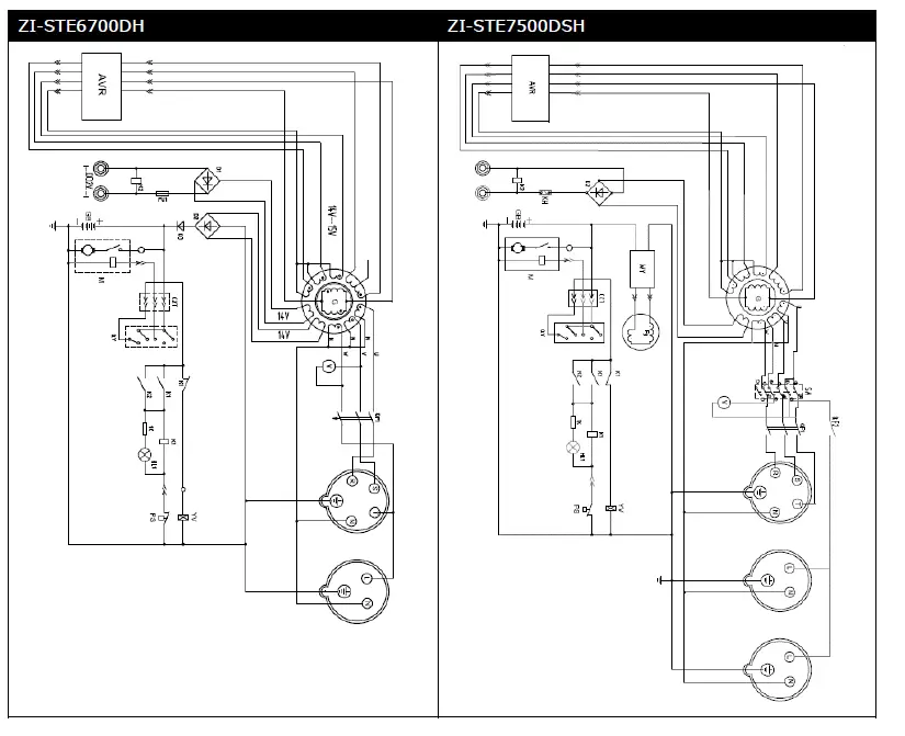
WIRING DIAGRAM
EXPLODED DRAWINGS
| Electric Panel | |||||||
| No | Description | No | Description | No | Description | ||
| 1 | Steel panel | 7 | Rectifier | 13 | Starter switch | ||
| 2 | Red wire holder | 8 | Breaker | 14 | Wiring harness | ||
| 3 | Black wire holder | 9 | Relay | 15 | Electric box | ||
| 4 | Grounded bolt | 10 | Hour meter | 16 | Nut M6x12 | ||
| 5 | Socket 230V / 400V | 11 | Voltmeter | ||||
| 6 | DC fuse | 12 | Oil alert lamp | ||||

| Frame Assembly | |||
| No | Description | No | Description |
| 1 | Bolt M6x22 | 21 | Rubber mount |
| 2 | Big Flat washer 6 | 22 | Nut M10 |
| 3 | Sheath | 23 | Spring washer 10 |
| 4 | Cushion | 24 | Flat washer 10 |
| 5 | Engine Cover | 25 | Generator frame |
| 6 | Battery tie down | 26 | Axle |
| 7 | Butterfly nut M6 | 27 | Nut M6 |
| 8 | Tie down hooks | 28 | U bolt |
| 9 | Nut M6 | 29 | Split pin |
| 10 | Bolt M6x40 | 30 | Big Flat washer 20 |
| 11 | Flat washer 6 | 31 | Solid wheels |
| 12 | Battery tray | 32 | Screw M3x8 |
| 13 | Bolt M10x20 | 33 | Spring washer 3 |
| 14 | Spring washer 10 | 34 | Flat washer 3 |
| 15 | Flat washer 10 | 35 | Electromagnet |
| 16 | Nut M10 | 36 | Throttle cable |
| 17 | Bracket | 37 | Bolt M8x40 |
| 18 | Nut M10 | 38 | Nut M8 |
| 19 | Spring washer 10 | 39 | Bracket |
| 20 | Flat washer 10 | ||

| Electric Panel | |||||||
| No | Description | No | Description | No | Description | ||
| 1 | Steel panel | 7 | Rectifier | 13 | Starter switch | ||
| 2 | Red wire holder | 8 | Breaker | 14 | Wiring harness | ||
| 3 | Black wire holder | 9 | Relay | 15 | Electric box | ||
| 4 | Grounded bolt | 10 | Hour meter | 16 | Nut M6x12 | ||
| 5 | Socket 230V / 400V | 11 | Voltmeter | ||||
| 6 | DC fuse | 12 | Oil alert lamp | ||||

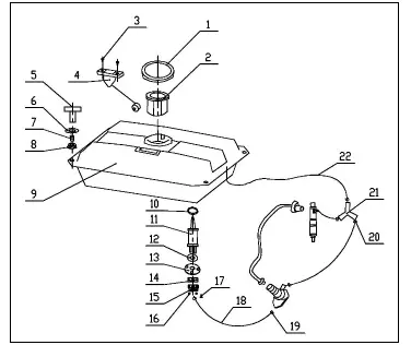
| Fuel System | |||||
| No | Description | No | Description | No | Description |
| 1 | Fuel tank cover | 9 | Fuel tank | 17 | Screwe M5x10 |
| 2 | Cup of fuel filter | 10 | Gasket-filtering core | 18 | Fuel inlet pipe |
| 3 | Screw M5x10 | 11 | Fuel filter | 19 | Clip 13 |
| 4 | Buoy for oil level indication | 12 | Gasket-fuel filter | 20 | Clip 9 |
| 5 | Bolt M6x22 | 13 | Fuel filter connect cover | 21 | Pipe tee |
| 6 | Big Flat washer 6 | 14 | Gasket-fuel drain | 22 | Fuel overfill pipe |
| 7 | Sheath | 15 | Fuel drain cock | ||
| 8 | Cushion | 16 | Nut M6 | ||
STE 7500DSH

















































