Actuator
Specification & Installation Instructions
Feature:
- Mounts easy on round & square shaft (with option –8).
- Power supply high voltage 120 or 240 VAC.
- External clutch for manual adjustments
- Maintenance free.
- Position indicator.
- Feedback (on model 105 & 205).
- Auxiliary switches (on model 120 & 220).
Old Number
| BBTHV1100A | BT100 |
| BBTHV1105A | BT105 |
| BBTHV1121A | BT120 |
| BBTHV1200A | BT200 |
| BBTHV1205A | BT205 |
| BBTHV1221A | BT220 |
| Technical Data | BT100 BBTHV1100A | BT105 BBTHV1105A | BT120 BBTHV1121A | BT200 BBTHV1200A | BT205 BBTHV1205A | BT220 BBTHV1221A |
| Auxiliary switches | No | No | Yes (2) | No | No | Yes (2) |
| Feedback | No | Yes | No | No | Yes | No |
| Power supply | 110 to 130 VAC 50/60Hz | 220 to 250 VAC 50/60Hz | ||||
| Power consumption | 4 Watts at 120 VAC (0.166A AC) | 7 Watts at 240 VAC (0.166A AC) | ||||
| Control signal | 3 wire / 2 position, 3 wire / 3 point floating | |||||
| Running time through90° | 20 to 30 sec Torque dependant | |||||
| Torque | 50 in.lb. [5.6 Nm] at rated voltage | |||||
| Electrical connection | 18 AWG [0.8 mm`] minimum | |||||
| Inlet bushing | 2 inlet bushing of 13/16″ [20.6mm] | |||||
| Angle of rotation | 0 to 90 degrees. mechanically adjustable (factory set with 90° stroke) | |||||
| Direction of rotation | Reversible, Clockwise (CW) or Counterclockwise (CCW) (factory set with CW direction) | |||||
| Ambient temperature | -22°F to +122°F [-30°C to +50°C] | |||||
| Storage temperature | -22°F to +122°F [-30°C to +50°C] | |||||
| Relative Humidity | 5 to 95 % non condensing. | |||||
| Weight | 3 lbs. [1.4 kg] | |||||
| Ingress protection | IP22 equivalent to Nema type 2, IP54 equivalent to Nema type 3R if water tight inlet bushings (not supplied NEP617) are installed | |||||
| Warning: Do not press the clutch when actuator is powered | ||||||
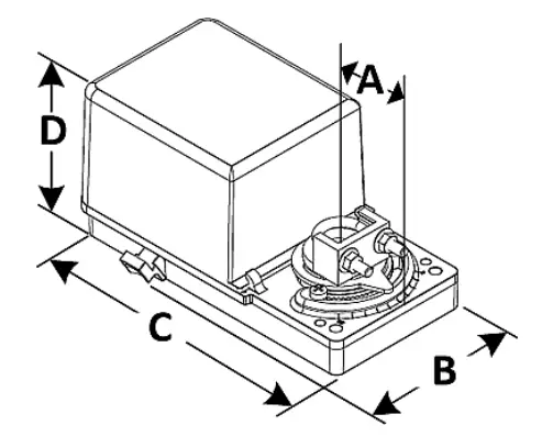
Dimensions

| Dimension | Inches | Metric (mm) |
| A | 1.50 | 38. |
| B | 4. | 93. |
| C | 6.60 | 168. |
| D | 3. | 77. |
Caution
We strongly recommend that all neptronic products be wired to a separate transformer and that transformer shall service only neptronic products. This precaution will prevent interference with, and/or possible damage to incompatible equipment.
When multiple actuators are wired on a single transformer, polarity must be observed. Long wiring runs create voltage drop which may affect the actuator performance. ![]()
Mechanical installation

- Manually close the damper blades and positioned the actuator at 0º or 90º.
- Slide the actuator onto the shaft.
- Tighten the nuts on the “U” bolt to the shaft with a 8mm wrench to a torque of 60 in.lb. [6,7 Nm].
- Slide the mounting bracket under the actuator. Ensure free movement of the slot at the base of the actuator. The bracket pin must be placed in the mid distance of the slot.
- Fix the bracket to the ductwork with #8 self-tapping screws.
Wiring Diagrams
Caution: Risk of electric shock. Remove power prior to connecton
3 wire/2 position (ON-OFF)
3 wire / 3 point floating

PC Board

Rotation direction

Stroke adjustment
To adjust the stroke, move the adjustment screws at the desired position.




















