

PRODUCT MANUAL
MARINE X
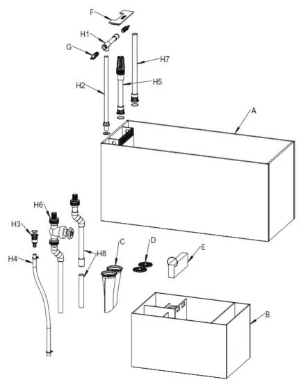
MARINE X 35.1

| ITEM | QTY | KIT | CODE |
| A | 1 | Tank M. X 35.1 | SO2GTO1 |
| B | 1 | Sump M. X 35.1 | SO2SPO1 |
| C | 2 | FB-Felt-225-70260 | 850000451896 |
| D | 1 | Filter Sponge 176*90 | S12FS16 |
| E | 1 | Nozzle NZ 15F | S25NZ03 |
| ITEM | QTY | DESCRIPTION | KIT | CODE |
| F1 | 1 | Outlet assembly A09 | Plumbing Kit for M. X35.1 | S22PK01 |
| F2 | 1 | DN15 Threaded bulkhead fitting CO1 | ||
| F3 | 1 | 18/24 Black PVC Flexible Hose | ||
| F4 | 1 | Emergency overflow standpipe K07 | ||
| F5 | 1 | Emergency overflow sump side L13 | ||
| F6 | 1 | Main drain standpipe H07 | ||
| F7 | 1 | Main drain sump side J12 |
MARINE X 60.2

| ITEM | Off | 101 | CODE |
| A | I | Tank M. X 60.2 | S02GT02 |
| B | I | Sump M. X60.2 | SO2SP0I2 |
| C | I | FB-Mesh-225-105260 | 850000451889 |
| D | I | Nose Reducer 105 | S11NROI |
| E | I | Filer Sponge 368’90 | S12FS17 |
| F | 1 | M. X Overflow Lid with cut-out | 8110104 |
| G | 2 | Nozzle NZ 15F | S25NZ03 |
| ITEM | MY | oescRimai | I0T | CC:F. |
| H I | 1 | Outlet assembly A07 | Plumbing Kit for M. X 602 | S22PK02 |
| H 2 | 1 | Outlet assembly A10 | ||
| H 3 | 1 | Outlet assembly B10 | ||
| H 4 | 1 | 1824 Black PVC Flexible Hose | ||
| H 5 | 1 | Main drain standpipe H08 | ||
| H 6 | 1 | Main drain sump side J13 | ||
| H 7 | 1 | Emergency overflow standpipe K08 | ||
| H 8 | 1 | Emergency overflow sump side L13 |

| ITEM | CRY | KIT | CODE |
| A | 1 | Tank M. X 90.3 | S02GT03 |
| 8 | 1 | Sump M. X 90.31 M. X 110.4 | SO2SPO3 |
| C | 2 | FB-Mesti-225-105260 | 850000451889 |
| D | 2 | Wise Reducer 105 | S11NROI |
| E | 1 | Filer Sponge 218’90 | SI2FSI8 |
| F | 1 | M. X Overflow Lid wlo cut-out | 5110103 |
| G | 2 | Nozzle NZ 15F | 525N203 |
| ITEM | Ott | DESCRIPTION | KIT | CODE |
| H 1 | 1 | Outlet assembly A07 | natty; Pat for M X 90.3 is 1 lo 4 | S22PK03 |
| H 2 | 1 | Outlet assembly All | ||
| H 3 | 1 | Outlet assembly B10 | ||
| H 4 | 1 | 18/24 Black PVC Flexible Hose | ||
| H 5 | 1 | Main drain standpipe H04 | ||
| H 6 | 1 | Main drain sump side J14 | ||
| H 7 | 1 | Emergency overflow standpipe K09 | ||
| H 8 | 1 | Emergency overflow sump side L14 |
MARINE X 110.4

| ITEM | QTY | KIT | CODE |
| A | 1 | Tank M. X 110.4 | SO2GTO4 |
| B | 1 | Sump M. X 90.3/ M. X 110.4 | SO2SPO3 |
| C | 2 | FB-Mesh-225-105260 | 850000451889 |
| D | 2 | Noise Reducer 105 | S11NR01 |
| E | 1 | Filter Sponge 218*90 | S12FS18 |
| F | 1 | M, X Overflow Lid w/o cut-out | S110L03 |
| G | 2 | Nozzle NZ 15F | S25NZ03 |
| ITEM | QTY | DESCRIPTION | KIT | CODE |
| H 1 | 1 | Outlet assembly A07 | Plumbing Kit for M. X 90.3 & 110.4 | S22PK03 |
| H 2 | 1 | Outlet assembly All | ||
| H 3 | 1 | Outlet assembly B10 | ||
| H 4 | 1 | 18/24 Black PVC Flexible Hose | ||
| H 5 | 1 | Main drain standpipe H04 | ||
| H 6 | 1 | Main drain sump side J14 | ||
| H 7 | 1 | Emergency overflow standpipe K09 | ||
| H 8 | 1 | Emergency overflow sump side L14 |
FRAG 85.3


| ITEM | QTY | KIT | CODE |
| A | 1 | Tank FRAG 85.3 | SO2GT12 |
| B | 1 | Sump REEF 100.3/130.4/FRAG 85.3/105.4 | SO2SP12 |
| C | 1 | FB-Mesh-225-105260 | 850000451889 |
| D | 1 | FB-Felt-225-105260 | 850000451865 |
| E | 1 | Noise Reducer 105 | S11NR01 |
| F | 1 | Filter Sponge 240’90 | S12FS14 |
| G | 1 | REEF Overflow Lid w/o cut-out | S110L01 |
| H | 2 | Nozzle NZ 15F | S25NZ03 |
| ITEM | QTY | DESCRIPTION | KIT | CODE |
| I 1 | 1 | Outlet assembly A07 | Plumbing Kit for FRAG 85.3 | S22PK12 |
| 12 | 1 | Outlet assembly B11 | ||
| I 3 | 1 | Outlet assembly sump side DO1 | ||
| I 4 | 1 | 18/24 Black PVC Flexible Hose | ||
| I 5 | 1 | Manifold KIT E01 | ||
| I 6 | 1 | Main drain standpipe I-106 | ||
| I 7 | 1 | Main drain sump side J16 | ||
| I 8 | 1 | Emergency overflow standpipe KO6 | ||
| 19 | 1 | Emergency overflow sump side L16 |
FRAG 105.4

| RBA | QTY | 10T | CODE |
| A | 1 | Tank FRAG 105.4 | S02GT13 |
| B | 1 | Sump REEF 100.31130.4/FRAG 85.3/105.4 | S025P12 |
| C | 1 | FB-Mesh-225-105260 | 850000451889 |
| D | 1 | F8-FA-225-105260 | 850000451865 |
| E | 1 | Noise Reducer 105 | S11tit01 |
| F | 1 | Filter Sponge 24010 | SI2FS14 |
| G | 1 | REEF Overflow Lid wfo cut-out | S110L01 |
| H | 2 | Nozzle NZ 15F | S25N203 |
| 11W | QTY | DESCRIPTION | KIT | CODE |
| I 1 | 1 | Outlet assembly A07 | Plumbing Kit for FRAG 105.4 | S22PK13 |
| 12 | 1 | Outlet assembly 811 | ||
| 13 | 1 | Outlet assembly sump side D01 | ||
| I 4 | 1 | 18/24 Black PVC Flexile Hose | ||
| 15 | 1 | Manifold KIT E01 | ||
| 18 | 1 | Man drab standpipe H06 | ||
| 17 | 1 | Main drain sump side J06 | ||
| I 8 | 1 | Emergency overflow standpipe K06 | ||
| I 9 | 1 | Emergency overflow sump side L07 |

| ITEM | Ott | KIT | CODE |
| A | 1 | Tank FRAG 145.5 | S02G714 |
| 8 | 1 | Sump REEF 180.5/220.6/FRAG 145.5/165.6 | S02SP13 |
| C | 1 | ATO FEN 7225 REEF 183.92206.FRAG 1455165.6 6 | S02AT24 |
| D | 1 | FB-Mesh-225-180260 | 850000451858 |
| E | 1 | FB-Felt-225-180260 | 850000451834 |
| F | 1 | Refugium Baffle 397 | 511ZGO1 |
| G | 1 | Filter Sponge 47010 | S12FS13 |
| H | 1 | REEF Overflow Lid with cut-out | S110L02 |
| I | 2 | Nozzle NZ 15F | S25NZO3 |
| I181 | QTY | DESCRIPTION | KIT | CODE |
| J 1 | 1 | Outlet assembly A07 | Plumbing Kit for FRAG 145.5 | S22PK14 |
| J 2 | 1 | Outlet assembly B13 | ||
| J 3 | 1 | Outlet assembly sump side D03 | ||
| J 4 | 1 | 28134 Clear PVC next* Hose | ||
| J 5 | 1 | Manifold KIT E01 | ||
| J 6 | 1 | Main drain standpipe H10 | ||
| J 7 | 1 | Main drain sump side J15 | ||
| J 8 | 1 | Emergency overflow standpipe K11 | ||
| J 9 | 1 | Emergency overflow sump side L15 |
FRAG 165.6

| ITEM | OTY | KIT | CODE |
| A | 1 | Tank FRAG 165.6 | SO2G715 |
| 6 | 1 | Sump REEF 180.5/220.6/FRAC 145.5/165.6 | SO2SP13 |
| C | 1 | ATO PEN 7225/REEF 180.5f220.6/FRAG 145.51165.6 | S02AT24 |
| D | 1 | FB-Mesh-225-180260 | 850000451858 |
| E | 1 | FB-Felt-225-180260 | 850000451834 |
| F | 1 | Refugium Baffle 397 | S11ZGO1 |
| G | 1 | Filter Sponge 470’90 | S12FS13 |
| H | 1 | REEF Overflow Lid w/o cut-out | 6110L01 |
| I | 2 | Nozzle NZ 15F | 625NZO3 |
| ITEM | QTY | DESCRIPTION | KIT | CODE |
| J 1 | 1 | Outlet assembly A07 | Plumbing Kit for FRAG 165.6 | 622P105 |
| J 2 | 1 | Outlet assembly B13 | ||
| J 3 | 1 | Outlet assembly sump side DO3 | ||
| J 4 | 1 | 28/34 Clear PVC Flexible Hose | ||
| J 5 | 1 | Manifold KIT E01 | ||
| J 6 | 1 | Main drain standpipe H10 | ||
| J 7 | 1 | Main drain sump side J09 | ||
| J 8 | 1 | Emergency overflow standpipe K11 | ||
| J 9 | 1 | Emergency overflow sump side L10 |
REEF 100.3


| RBI | WY | KIT | CODE |
| A | 1 | Tank REEF 100.3 | 502GT22 |
| B | 1 | Sump REEF 103.31130.45RAG 85.3’105.4 | S025P12 |
| C | 1 | FB-Mesh-225-105260 | 850000451889 |
| 0 | 1 | FB-Fe0-225-105260 | 850000451865 |
| E | 1 | Noise Reducer 105 | SI INROI |
| F | 1 | Filter Sponge 240’90 | SI2FS14 |
| G | 1 | REEF Overflow LC wfo cut-out | 5110101 |
| H | 2 | Nozzle NZ 15F | 525N203 |
| ITEM | OTY | DESCRIPTION | KIT | CODE |
| I 1 | 1 | Outlet assembly A07 | Plumbing Kit for REEF 100.3 | S22PK22 |
| 12 | 1 | Outlet assembly B04 | ||
| 13 | 1 | Outlet assembly sump side DOI | ||
| 14 | 1 | 1824 Black PVC Flexikle Hose | ||
| I 5 | 1 | Manifold KIT E01 | ||
| 18 | 1 | Main drain standpipe H04 | ||
| 17 | 1 | Main &ail sump side J16 | ||
| I 8 | 1 | Emergency overflow standpipe K04 | ||
| 19 | 1 | Emergency overflow sump side L16 |
REEF 180.5

| ### | QTY | lOT | CODE |
| A | 1 | Tank FRAG 105.4 | S02GT23 |
| B | 1 | Sump REEF 103.3/130.45FRAG 85.3/105.4 | S02SP12 |
| C | 1 | FB-Mesh-225-105260 | 850000451889 |
| 0 | 1 | FB-Felt-225-105260 | 850000451865 |
| E | 1 | Noise Reducer 105 | S11NR01 |
| F | 1 | Filter Sponge 240’90 | Sl2FS14 |
| G | 1 | REEF Overflow Lid w/o cut-out | 5110101 |
| H | 2 | Nozzle NZ 15F | 525N203 |
| ITEM | Orr | DESCRIPTION | KIT | CO: E |
| I 1 | 1 | Outlet assembly A07 | Plumbing Kit for REEF 130 4 | S22PK23 |
| 12 | 1 | Outlet assembly B04 | ||
| 13 | 1 | Outlet assembly amp side D01 | ||
| 14 | 1 | 18/24 Black PVC Flexible Hose | ||
| 15 | 1 | Marifold KIT E01 | ||
| 16 | 1 | Main drain standpipe H04 | ||
| 17 | 1 | Mail drain sump side J013 | ||
| 18 | 1 | Emergency overflow standpipe KO4 | ||
| 19 | 1 | Emergency overflow swap side L07 |

| ### | WY | KIT | CODE |
| A | 1 | Tank REEF 180.5 | $20,126 |
| B | 1 | Sump REEF 180.5/220.6/FRAG 145.5/165.6 | SO2SP13 |
| C | 1 | AM PEN 1229REEF 180 5220.6TRAG 145 SF id, el | S02AT24 |
| 0 | 1 | FB-Mesh-225-180260 | 850000451858 |
| E | 1 | FB-Felt-225-180260 | 850000451834 |
| F | 1 | Refugium Baffle 397 | S11ZGO1 |
| G | 1 | Filer Sponge 470’90 | S 12E513 |
| H | 1 | REEF Overflow Lid with all-Out | $110,102 |
| I | 2 | Nozzle NZ 20F | 525N205 |
| ITEM | WY | DESCRPTION | KIT | CODE |
| 11 | 1 | Outlet assembly A13 | Plumbing Kit for REEF 180 5 | S22PK26 |
| 12 | 1 | Outlet assembly 815 | ||
| J 3 | 1 | Outlet assembly sump side 003 | ||
| 14 | 1 | 2854 Pear PVC Flexible Hose | ||
| J 5 | 1 | Manifold KIT E01 | ||
| J 6 | 1 | Main drain standpipe HI2 | ||
| J 7 | 1 | Main drain sump side 115 | ||
| J 8 | 1 | Emergency overflow standpipe K12 | ||
| J 9 | 1 | Emergency overflow sump side 115 |
REEF 220.6

| OEM | My | !OF | coif |
| A | I | Tank REEF 220.6 | S02G727 |
| B | I | Sump REEF 180.5/220.6/FRAG 145.5’165.6 | SO2SP 13 |
| C | i | ATO PEN 722SREEP 180 5e2206f RAG 145 9165.6 | 502AT24 |
| D | I | FB-Mesh-225-180260 | 850000451858 |
| E | I | F8-Felt-225-180260 | 850000451834 |
| F | 1 | Refugium Baffle 397 | SlIZGOI |
| G | I | Filter Sponge 47010 | SI2FS13 |
| H | I | REEF Overlow Lid w/o cut-out | SI1OLOI |
| I | 2 | Nozzle NZ 20F | S2561205 |
| ITEM | MY | CESCRIFTON | KIT | CODE |
| 11 | 1 | Outlet assembly Al3 | Plumbing Kit for REEF 220.6 | S22PK27 |
| 12 | 1 | Outlet assembly 816 | ||
| J 3 | 1 | Outlet assembly sump side D03 | ||
| 14 | 1 | 2834 Clear PVC Flexible Hose | ||
| 15 | 1 | Marilold KIT E01 | ||
| J 6 | 1 | Main drain standpipe H11 | ||
| -17 | 1 | Main drain sump side ..109 | ||
| J 8 | 1 | Emergency overkter standpipe K13 | ||
| J 9 | 1 | Emergency overflow sump side L10 |
PENINSULA
PENINSULA 3620


| ITEM | QTY | KIT | CODE |
| A | 1 | Tank PEN. 3620 | S02GT43 |
| B | 1 | Sump PEN. 3620 | S02SP43 |
| C | 2 | FB-Mesh-225-105260 | 850000451889 |
| D | 2 | Noise Reducer 105 | S11NR01 |
| E | I | Filter Sponge 213’90 | S12FS19 |
| F | I | M, X Overflow Lid with cut-out | 8110L04 |
| G | 2 | Nozzle NZ 15F | S25NZO3 |
| ITEM | MY | DESCRPTION | KR | CODE |
| Fl 1 | 1 | Outlet assembly A07 | Plumbing Kit for PEN. 3620 | S22PK43 |
| 112 | 1 | Outlet assembly All | ||
| I-13 | 1 | Outlet assembly B10 | ||
| Fl 4 | 1 | 18/24 Black PVC Flexible Hose | ||
| Fl 5 | 1 | Main drain standpipe 1104 | ||
| 116 | 1 | Main drain sump side J18 | ||
| 117 | 1 | Emergency overflow standpipe K04 | ||
| H 8 | 1 | Emergency overflow sump side L18 |
PENINSULA 4820
PENINSULA 6025

| MI | OTT | KIT | CODE |
| A | 1 | Tank PEN. 4820 | S02GT44 |
| B | 1 | Sump PEN. 4820 | S02SP44 |
| C | 2 | HI-Mesh-225-105260 | 850000451889 |
| D | 2 | Noise Reducer 105 | S11NR01 |
| E | 1 | Filter Sponge 213’90 | S12FS19 |
| F | 1 | M. X Overflow Lid with cut-out | 5110104 |
| G | 2 | Nozzle NZ 15F | S25N203 |
| ITEM | Ott | DESCRIPTION | KIT | CODE |
| H 1 | 1 | Outlet assembly A07 | Plumbirg Kit for PEN. 4820 | S22PK44 |
| H 2 | 1 | Outlet assembly A11 | ||
| H 3 | 1 | Outlet assembly 810 | ||
| H 4 | 1 | 18/24 Black PVC Flexible Hose | ||
| H 5 | 1 | Main drain standpipe H04 | ||
| H 6 | 1 | Main hail sump side J18 | ||
| H 7 | 1 | Emergency overflow standpipe K04 | ||
| H8 | 1 | Emergency overflow sump side 118 |

| ITBA | OTT | KIT | CODE |
| A | 1 | Tank PEN. 6025 | 502GT41 |
| B | 1 | Sump PEN. 6025 | SO2SP41 |
| C | 2 | F13-Mesh-225-105260 | 850000451889 |
| D | 2 | F13-Felt-225-105260 | 850000451865 |
| E | 2 | Noise Reducer 105 | S11NR01 |
| F | 1 | Refugken Baffle 392 | SI 1ZGO2 |
| G | 1 | Filter Sponge 280’90 | SI2FS11 |
| H | 1 | REEF Overflow Lid with cut-out | S110102 |
| I | 2 | Ca NZ 2OF | S25NZ05 |
| ITEM | CITY | OESCRIPTCN | KIT | Car |
| J 1 | Outlet assembly A13 | Plumbing Kit for PEN. 6025 | S22P1(45 | |
| J 2 | 1 | Outlet assembly 814 | ||
| J 3 | 1 | Outlet assembly swig side DO5 | ||
| J 4 | 1 | 28/34 Clear PVC Flexible Hose | ||
| J 5 | 1 | Manifold KIT E02 | ||
| J 6 | 1 | Pipe clip KIT (DN321+DN25-1) | ||
| J 7 | 1 | Main drain standpipe H11 | ||
| J 8 | 1 | Mail drain surrp side J11 | ||
| J 9 | 1 | Emergency overflow standpipe K13 | ||
| J 10 | 1 | Emergency overflow amp side 112 |
PENINSULA 7225

| MN | WY | KIT | CCOE |
| A | 1 | Tank PEN. 7225 | S02G142 |
| B | 1 | Strip PEN. 7225 | S02SP42 |
| C | 1 | ATO PEN 722SREEF 180 5220.6TRAG 145 9165.6 | S02Al24 |
| D | 2 | F8-Mesh-225-105250 | 850000451889 |
| E | 2 | Kt-Felt-225-105260 | 850000451865 |
| F | 2 | Noise Reducer 105 | SI1NROI |
| G | 1 | Refugium Bartle 440 | SI1ZGO3 |
| H | 1 | Filter Sporce 280’90 | S12FSI I |
| I | 1 | REEF Overfber Lid with cut-out | S110L02 |
| 1 | 2 | Nozzle NZ 2OF | S25N205 |
| ITEM | OTY | DESCRIPTION | KIT | CODE |
| K 1 | 1 | Outlet assembly Al 3 | Plumbing Kit for PEN. 7225 | S22PK46 |
| K 2 | 1 | Outlet assembly 814 | ||
| K 3 | 1 | Outlet assembly sump side 004 | ||
| K 4 | 1 | 28134 Clear PVC Flexible Hose | ||
| K 5 | 1 | Manifold KIT E02 | ||
| K6 | 1 | Pipe clip KIT (DN32’2+DN25’1) | ||
| K 7 | 1 | Main drain standpipe H11 | ||
| K 8 | 1 | Main drain sump side J10 | ||
| K 9 | 1 | Emergency overarm stanipipe K13 | ||
| K 10 | 1 | Emergency overflow sump side Li I |
WWW.WATERBOXAQUARIUMS.COM
WWW.WATERBOXAQUARIUMS.COM
WB-BL-7202
















