
Corded Stick Vacuum
with Self-Cleaning Brushroll
and DuoClean ™
HZ500ANZ Series
INSTRUCTIONS
IMPORTANT SAFETY INSTRUCTIONS
FOR HOUSEHOLD USE ONLY • PLEASE READ ALL INSTRUCTIONS
BEFORE USING THIS VACUUM.
IF YOU HAVE DELICATE OR WOOL CARPETS, PARTICULARLY LOOP PILES, PLEASE TRY THE VACUUM ON A HIDDEN AREA FIRST TO ENSURE THE SPINNING BRUSHROLLS DO NOT DAMAGE OR UNPICK CARPET FIBRES.
WARNING
REDUCE THE RISK OF FIRE, ELECTRIC SHOCK, INJURY, OR PROPERTY DAMAGE:
GENERAL WARNINGS
- Your vacuum cleaner may consist of a motorized nozzle, wand, hose, and/ or vacuum pod. This device contains electrical connections, electrical wiring, and moving parts that potentially present
risk to the user. - Use only identical replacement parts.
- Carefully observe and follow the instructions provided below to avoid improper use of the appliance. DO NOT use the vacuum for any purpose other than those described in this manual.
- Before use, carefully inspect all parts for any damage. DO NOT use if any parts are damaged.
- The use of an extension cord is NOT recommended.
- CAUTION: This vacuum cleaner handle contains electrical connections. This vacuum contains no serviceable parts.
USE WARNINGS - This appliance can be used by persons with reduced physical, sensory or mental capabilities or lack of experience and knowledge if they have been given supervision or instruction concerning the use of the appliance in a safe way and understand the hazards involved.
- DO NOT allow the appliance to be used by children. Keep the appliance and its cord out of reach of children. Do not allow it to be used as a toy. Close supervision is necessary when used near children. Cleaning and user maintenance shall not be done by children.
- Always turn off the vacuum cleaner before connecting or disconnecting any motorized nozzles or other accessories.
- DO NOT handle plug or vacuum cleaner with wet hands.
- DO NOT use without filters in place.
- Only use Shark®branded filters and accessories. Damage caused by the use of non-Shark branded parts may not be covered under your guarantee.
- DO NOT damage the power cord:
a) DO NOT pull or carry the vacuum cleaner by the cord or use the cord as a handle.
b) DO NOT unplug by pulling on the cord. Grasp the plug, not the cord.
c) DO NOT run the vacuum cleaner over the power cord, close a door on the cord, pull the cord around sharp corners, or leave the cord near heated surfaces. - DO NOT put any objects into nozzle or accessory openings. DO NOT use with any opening blocked; keep free of dust, lint, hair, and anything that may reduce airflow.
- DO NOT use if nozzle or accessory airflow is restricted. If the air paths or the motorized floor nozzle become blocked, turn the vacuum cleaner off and unplug from the electrical outlet. Remove all obstructions before you plug in and turn on the unit again.
- Keep nozzle and all vacuum openings away from hair, face, fingers, uncovered feet, or loose clothing.
- DO NOT use if the vacuum cleaner is not working as it should, or has been dropped, damaged, left outdoors, or dropped into water.
- If the supply cord is damaged, it must be replaced by the manufacturer, its service agent, or similarly qualified persons in order to avoid a hazard.
SAVE THESE INSTRUCTIONS
READ ALL INSTRUCTIONS BEFORE USE - Use extra care when cleaning on stairs.
- DO NOT leave the vacuum cleaner unattended while plugged in.
- When powered on, keep the vacuum cleaner moving over the carpet surface at all times to avoid damaging the carpet fibers.
- DO NOT place the vacuum cleaner on unstable surfaces such as chairs or tables.
- Your Shark® vacuum may not be designed to stand up on its own. When taking a break from cleaning, you may need to lean it against furniture or a wall or lay it flat on the floor. Using the vacuum for an application where the unit lacks stability may result in personal injury.
- DO NOT use to pick up:
a) Liquids
b) Large objects
c) Hard or sharp objects (glass, nails, screws, or coins)
d) Large quantities of dust (drywall dust, fireplace ash, or embers). DO NOT use as an attachment to power tools for dust collection.
e) Smoking or burning objects (hot coals, cigarette butts, or matches)
f) Flammable or combustible materials (lighter fluid, petrol, or kerosene)
g) Toxic materials (chlorine bleach, ammonia, or drain cleaner) - DO NOT use it in the following areas:
a) Poorly lit areas
b) Wet or damp surfaces
c) Outdoor areas
d) Spaces that are enclosed and may contain explosive or toxic fumes or vapors (lighter fluid, petrol kerosene, paint, paint thinners, mothproofing substances, or flammable dust) - Turn off all controls before plugging in or unplugging the vacuum.
- Unplug from the electrical outlet when not in use and before any maintenance or cleaning.
- Hand washes with water only. Washing with cleaning chemicals could damage the unit.
- During cleaning or routine maintenance, DO NOT cut anything other than hair, fibers, or string wrapped around the brushroll.
- Allow all filters to air-dry completely before replacing them in the vacuum to prevent liquid from being drawn into electric parts.
- Make sure the dust cap and all filters are in place after routine maintenance.
- If provided, secure the power cord around the two cord hooks during storage.
GETTING TO KNOW YOUR SHARK® CORDED
STICK VACUUM WITH SELF-CLEANING BRUSHROLL AND DUOCLEAN™
WELCOME!
Congratulations on your purchase. Use this instruction manual to learn about your new vacuum’s great features. From assembly to use to maintenance, you will find it all here.
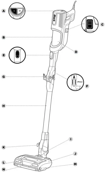
MAIN UNITA power/Selector SwitchB Handheld VacuumC Dust Cup ReleaseD Dust CupE Hand Vac ReleaseF Lock Release Button
G Upper Cord Wrap HookH WandI Lower Wand Release PedalJ Motorized Floor NozzleK Lower Cord Wrap HookL HeadlightsM Brushroll ReleaseN Soft Roller
ASSEMBLY
![]() | ![]() | ![]() |
| 1. Insert Wand into Floor Nozzle | 2. Insert Handheld Vacuum into a wand. | 3. Ensure all connections click securely into place. |
SETTINGS
![]() | ![]() | ![]() |
| Press the power button to begin vacuuming. To turn off the power, press the button again. | Hard Floor/Small Area Rugs The brush roll spin slowly to clean bare floors and small area rugs. | Carpet The brush rolls spin faster to pick up debris below the surface of your carpets. |
NOTE: Select Carpet for stuck-on dust and debris.
CLEANING MODES
![]() | ![]() | ![]() |
| To clean floors, place a foot on the floor nozzle and tilt the handheld vacuum back. | Detach the wand for more reach to clean ceilings, skirting boards, window sills, and other hard-to-access areas. To disconnect the wand, stand the vacuum upright. Step on the foot pedal on the side of the nozzle, then pull the wand out of the nozzle. | To use in Hand Vac mode, press the Wand Release button and lift the handheld vacuum off the wand. Great for cleaning stairs, furniture, and countertops. |
NOTE: All accessories are compatible with both the wand and the handheld vacuum.
CLEANING MODES
USING THE FLEXOLOGY® WAND
To easily access hard-to-reach areas under furniture, press the Flexology Lock Release Button to position the wand to a lower angle.

NOTE: As this unit is not freestanding, the Flexology wand can be used to store the unit as well as for under-furniture cleaning. See below.
STORAGE

Looking at the vacuum from the side with the cord hooks, wrap the power cord anti-clockwise around the hooks, starting under the bottom hook. Then press the Flexology Wand Lock Release button and gently fold the handheld vacuum forward toward the floor nozzle.
To take the vacuum out of storage mode, press the Flexology Wand Lock Release button while lifting up the handheld vacuum. When straightened, the wand will lock in place.
NOTE: Take care whenever folding or unfolding the wand to ensure fingers cannot be caught in the mechanism.
NOTE: Cleaning is not intended while the unit is in storage mode. Bending of Flexology wand beyond 90 degrees intended for storage mode only.
AVAILABLE ACCESSORIES
NOTE: There are a variety of accessories that are compatible with this vacuum series.
The lid of the box shows the select accessories that are included with your model.
To purchase additional accessories visit AU sharkclean.com.au or NZ sharkclean.co.nz
A Crevice Tool
This slim tool is great for cleaning in tight spaces, between sofa cushions, and in hard-to-reach areas.
B Multi-Surface Tool
A single convertible tool for cleaning tough pet messes two ways: use the stiff bristle brush to clean stuck-on debris, or take off the bristles to reveal an upholstery tool perfect for removing stubborn pet air and large piles of debris.
C Self-Cleaning Pet Power Brush
Tackles pet hair and ground-in dirt from above-floor areas like carpeted stairs and upholstery, while actively removing hair wrap as it cleans.
MAINTENANCE
IMPORTANT: Unplug the vacuum before performing any maintenance.
EMPTYING THE DUST CUP
Empty the dust cup each time you vacuum and periodically during cleaning if debris in the dust cup reaches the MAX fill line.
![]() | ![]() |
| Press the wand release button and lift the handheld vacuum off the wand. | To remove the dust cap from the handheld vacuum, squeeze the two Dust Cup Release buttons at the same time and pull out the dust cup. |
![]() | ![]() |
| Hold the dust cup over the bin. Press the Empty the button and pull the dust cup open. | To reinsert the dust cup back into the handheld vacuum, angle the tip first, and then push up until it clicks into place. |
IMPORTANT: Unplug the vacuum before performing any maintenance.
CLEANING FILTERS
Perform regular maintenance on the filters to keep your vacuum’s suction power optimal.
IMPORTANT: To prevent damage, rinse filters with water ONLY. DO NOT use soap. Allow filters to air-dry for at least 24 hours before reinstalling them to prevent liquid from being drawn into electric parts.
![]() | ![]() |
| To access the pre-motor filters, press and pull both filter access tabs on the dust cup to remove the filter holder. The Pre-Motor Filters should be washed twice a month. | Remove the filter cover on the top of the handheld vacuum to access the post-motor filter. The Post-Motor Filter should be washed once every 9 months. |
REPLACEMENT FILTERS
NOTE: For replacement filters please visit AU sharkclean.com.au NZ sharkclean.co.nz
CHECKING FOR BLOCKAGES
![]() | ![]() | ![]() |
| Remove the handheld vacuum from the wand and check all dust cup intake openings. | Detach the wand and check it for blockages. | Detach the wand, then remove the Soft Roller. Tilt the floor nozzle tube back and check openings for blockages. Reinsert Soft Roller until it clicks securely into place. Remove any blockages or debris from the floor nozzle debris intake (see Nozzle Maintenance section). |
NOZZLE MAINTENANCE

Self-Cleaning Brushroll removes hair from your brushroll continuously as you vacuum. At times you may see small amounts of hair around the brushroll – simply continue vacuuming and the comb and suction will remove the hair as you clean.
To remove the cover, use a coin to turn the locks counterclockwise. Lift off the cover and remove any debris or hair wrap. Check the Debris Intake and clear away any dirt or blockages.
To close the cover, push down until it clicks into place, then turn the locks clockwise until closed.
CLEANING THE SOFT ROLLER

- To remove the Soft Roller, slide the Eject Roller button on the floor nozzle.
- Tap loose debris off the Soft Roller. Use a dry towel to wipe it clean, and to remove any debris caught in the teeth behind the Soft Roller.
- Hand-wash the Soft Roller as needed. Use only water, and let it air-dry completely for at least 24 hours.
- Reinsert the Soft Roller and press it in until it clicks securely into place.
NOTE: For best performance, keep the Soft Roller clean with regular maintenance.
TROUBLESHOOTING
The vacuum is not picking up debris. No suction or light suction. (Refer to the Maintenance section for more information.)
- Empty the dust cup. Check filters to see if they need cleaning. Follow instructions for rinsing and completely air-drying the filters before reinstalling them.
- Check floor nozzle and wand for blockages; clear blockages if required.
- Remove any string, carpet fibers, or hair that may be wrapped around the brushroll or Soft Roller.
- Ensure the brushroll cover is locked in place. First, turn the nozzle upside down. Using a coin, turn the three locks counterclockwise. Push down on both sides of the cover until it clicks securely into place, then turn the locks clockwise to close.
Vacuum lifts area rugs.
- Suction is powerful. Take care when vacuuming area rugs or rugs with delicately sewn edges.
- Turn off the unit to disengage the brush roll. To restart, press the power button on the handle.
NOTE: During above-floor cleaning, accessories are optimized for different types of debris (See Available Accessories section).
Brushrolls do not spin.
- If the brushroll indicator light turns solid red, immediately turn off and unplug the vacuum.
- Disconnect the wand from the floor nozzle and clear any blockages.
- Reconnect the wand, plug in the vacuum, and turn on the power.
- If the brushroll indicator light on the floor nozzle is green, the blockage has been successfully cleared. If the light is still red, please contact Customer Service on AU 02 8801 7666 NZ 0800 112 660.
The vacuum turns off on its own or if the indicator light flashes red.
This vacuum is equipped with a motor-protective thermostat that will shut off if it overheats.
Should this occur, perform the following steps to restart the motor-protective thermostat:
1. Turn the vacuum off and unplug it.
2. Empty the dust cup and clean filters (see Emptying the Dust Cup section).
3. Disassemble the vacuum, by removing the nozzle, wand, dust cup, and filters.
4. Check for blockages in the hose, floor nozzle, inlet openings, and accessories.
5. Reassemble the entire vacuum to ensure all parts click into place.
6. Allow the unit to cool for a minimum of 45 minutes.
7. Plugin vacuum and turn it on.
The vacuum is making a loud noise.
If you run over a hard or sharp object or notice a noise change while vacuuming, check for blockages or objects caught behind the brushroll. (Refer to the Maintenance section for more information.)
LIMITED WARRANTY • TWO (2)YEARS
If your vacuum becomes defective due to faulty material or workmanship within a period of 2 years from the date of purchase, we warrant doing the following:
For New Zealand Consumers: We will replace the product with a new product, free of charge, or repair the product at our cost, at our discretion.
For Australian Consumers: Our goods come with guarantees that cannot be excluded under the Australian
Consumer Law. You are entitled to a replacement or refund for a major failure and for compensation for any other reasonably foreseeable loss or damage. You are also entitled to have the goods repaired or replaced if the goods fail to be of acceptable quality and the failure does not amount to a major failure.
Your warranty is subject to the following conditions:
DO NOT operate the appliance with a damaged plug or cord, or if the unit or battery has been dropped, damaged, or dropped in water. To avoid the risk of electric shock, do not disassemble or attempt to repair the appliance on your own. If the charger cord is damaged, it must be replaced by a qualified electrician in order to avoid a hazard. Incorrect re-assembly or repair can cause a risk of electric shock or injury to persons when the appliance is used.
- The item has not been misused, abused, neglected, altered, modified, or repaired by anyone.
- The item has been subjected to fair wear and tear.
- The item has not been used for trade, professional, or hire purposes.
- The item has not sustained damage through foreign objects, substances, or accidents.
Your warranty does not cover:
- Components that are subject to natural wear and tear caused by normal use in accordance with operating instructions.
- Unauthorized/improper maintenance/handling or overload is excluded from this warranty.
- Any additional property that may be damaged due to a fault or misuse of the product and/or component.
For guarantee claims, you will need to submit a proof of purchase in the form of a valid receipt that displays the date and place of purchase.
This warranty does not replace but is in addition to your statutory rights.
This warranty does not apply to accessories supplied with the item.
This warranty applies only to the original purchaser and may not be transferred.
Replacement items will be covered by the limited warranty for the balance of the warranty period from the date of the original purchase.
Customer costs within warranty:
The customer is responsible for any inward freight charge to return a product for warranty if requested, and the outward freight charge for warranty parts and or replacement units.
Please note:
Only the defective product or parts returned to the place of purchase will be replaced under this warranty.
For all other issues, visit AU sharkclean.com.au NZ sharkclean.co.nz.
REGISTER YOUR PURCHASE
sharkclean.com.au
sharkclean.co.nz
Benefits of registering your product and creating an account:
- Get easier, faster product support and access to warranty information
- Access troubleshooting and product care instructions
- Be among the first to know about exclusive product promotions
RECORD THIS INFORMATION
Model Number: ——————
Serial Number: ——————
Date of Purchase: ————–
(Keep receipt)
Store of Purchase:————-
TECHNICAL SPECIFICATIONS
Voltage:
220-240V~, 50-60Hz
Watts: 450W
Power Nozzle: 55W
NOTES
Mann&Noble
Proudly distributed by
Mann&Noble Pty Ltd
Building D, 33 Quarry Road
Erskine Park NSW 2759
Australia
AUS 02 8801 7666
NZ 0800 112 660
Visit us at:
sharkclean.com.au
sharkclean.co.nz
PLEASE READ IT CAREFULLY AND KEEP IT FOR FUTURE REFERENCE.
This Owner’s Guide is designed to help you get a complete understanding of your new Shark® Corded Stick Vacuum with Self-Cleaning Brushroll and DuoClean™.
Illustrations may differ from the actual product. We are constantly striving to improve our products; therefore the specifications contained herein are subject to change without notice.
This product may be covered by one or more U.S. patents. See sharkninja.com/patents for more information.
© 2021 SharkNinja Operating LLC. SHARK is a registered trademark of SharkNinja Operating, LLC.
DUOCLEAN is a trademark of SharkNinja Operating, LLC.
HZ500ANZ Series IB MP Mv7
@sharkcleanapac





































