00500 Series – Field Installed Monitoring Switch Kits
Instruction Manual
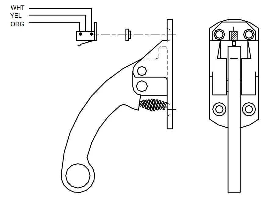
MONITORING SWITCH KIT
SARGENT 9600, 9700, 9800, 9900 SERIES
00500 Series – Field Installed Monitoring Switch Kits

WIRING SPECIFICATION
WHT – COM
YEL – N/O
ORG – N/C
5 AMP
RESISTIVE
Applications
Remote Latch Status Monitoring:
Retracting the latch by depressing thepush pad provides an output signal folocal or remote visual and audible annunciation indicating forced entry ounauthorized egress.
Access Control REX: When connected to the Request-To-Exit input of a keypad, card or biometric Access Controller, depressing the pushpad and retracting the latch actuates the Latch Status contact, shunting the control access control alarm to permit authorized egress and/or releases the magnetic door lock for uninhibited egress.
Magnetic Lock Release: Where Access Controller with REX input is unavailable, the N/C contact of the switch is wired in series between the power supply and fail safe magnetic lock. Depressing the exit device pushpad retracts the latch, causing the contact to open, thereby releasing the magnetic lock for uninhibited egress. Mantrap Logic: Provides N/O and N/C contacts required for 2 or more communicating doors for Interlock and Mantrap applications.
Any suggestions or comments to this instruction or product are welcome. Please contact us through our website or email [email protected]

















