Zambelis 22108 Pendant Light
OVERVIEW

TOOLS

FEATURES

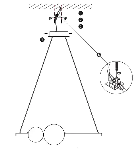
Connecting the Terminal Block
Connect main supply (brown – Live, blue – Neutral) into terminal block making sure all connections are tight.
PENDANT LIGHT
Please read instructions before commencing installation and retain for future reference.
SPECIFICATIONS
- Material: Aluminum + Glass
- Lamp type: LED. 11W . 3000K. 1300Lm. CRi80
- Ingress Protection: IP20. Protection against entry of solid objects greater than 12mm in diameter.
INSTALLATION INSTRUCTIONS
Electrical products can cause death. injury. or damage to property.
Maintenance and installation should only be carried out by a professional electrician.
WARNING
- Make sure that the products is installed properly before connecting to electricity
- Do not cover the fitting.
- Not for outdoor use or in wet conditions.
















