Zambelis 22013 Pendant Light

TOOLS
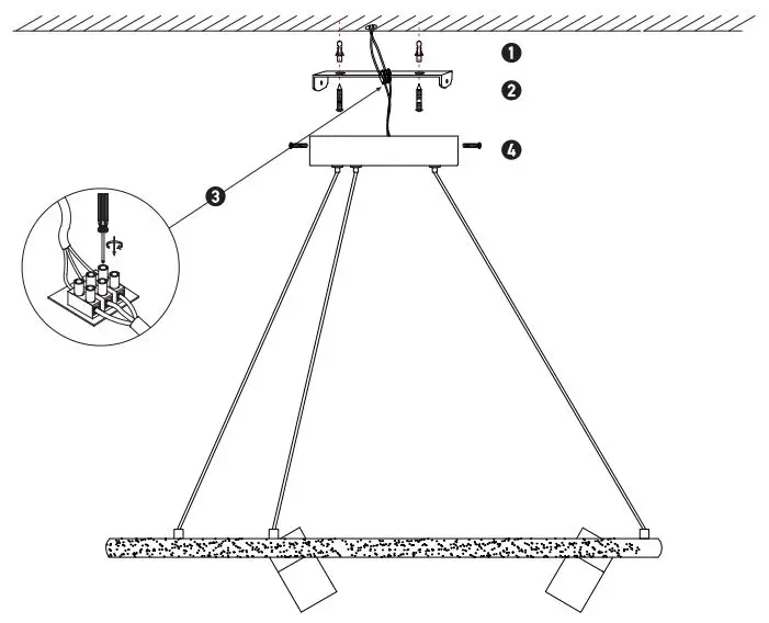
Connecting the Terminal Block
Connect the main supply (brown – Live, blue – Neutral) into the terminal block making sure all connections are tight.
PENDANT LIGHT
- Please read the instructions before commencing installation and retain them for future reference.
SPECIFICATIONS
- Material: Metal + Aluminum + Silicon
- Lamp Type: LED, 39W + 4x 5W. 3000K. 6400Lm, CRi 80
- Ingress Protection: IP20. Protection against entry of solid objects greater than 12mm in diameter.
INSTALLATION INSTRUCTIONS
- Electrical products can cause death. injury, or damage to property. Installation of this product must be carried out by a qualified electrician.
- Ensure the main supply is switched off.
- Insert the masonry plugs into the mounting surface (1).
- Fit the mounting bracket onto the mounting surface with the self-tapping screws (2).
- Connect the main supply wires to the terminal block (3) making sure all connections are tight.
- Fit the ceiling plate onto the mounting bracket with the screws (4).
- Reconnect power.
WARNING
- Make sure that the products are installed properly before connecting to electricity.
- Do not cover the fitting.
- Not for outdoor use or in wet conditions.

















