KAWOTI 21149 1 Light Pendant User Manual
Hardware (Parts are not to scale)
| Hardware (Parts are not to scale) | H2 Support screw (long) (Pre-assembled to mounting strip (H1)) 2 pcs ![]() | H3 Hex nut (Pre-assembled to support screw (long) (H2)) 2 pcs ![]() |
H4 Outlet box screw (short) 2 pcs ![]() | H5 Green ground screw (Pre-assembled to mounting strip (H1)) 1 pc ![]() | H6 Wire connector 3 pcs ![]() |
H7 Cap nut (Pre-assembled to support screw (long) (H2)) 2 pcs ![]() | H8 Socket ring (Pre-assembled to socket of socket assembly (C)) 1 pc ![]() | H9 Plastic screw (Pre-assembled to canopy assembly (A)) 1 pc ![]() |
THIS MANUAL CONTAINS IMPORTANT SAFETY INFORMATION. PLEASE READ AND KEEP FOR FUTURE REFERENCE.
IMPORTANT SAFETY INFORMATION
- Please read and understand this entire manual before attempting to assemble, operate or install the product.
- Turn off electricity at main fuse box (or circuit breaker box) before beginning installation by removing fuse (or switching off circuit breaker).
- Be careful not to damage or cut the wire insulation (covering) during fixture installation. Do not permit wires to contact any surface having a sharp edge. To do so may damage or cut the wire insulation,which could cause serious injury or death from electric shock.
- All electrical connections must be in agreement with local codes, ordinances or the national electric code (NEC). Contact your municipal building department to learn about your local codes, permits and/or inspections. If you do not have electrical wiring experience, refer to a do-it-yourself wiring handbook or have your fixture installed by a qualified licensed electrician.
- Risk of fire – most dwellings built before 1985 have supply wire rated for 140°F/60ºC. Consult a qualified electrician before installation.
- Do not exceed the recommended wattage. Refer to the re-lamping label on the light socket for maximum wattage.
- Do not replace a bulb when electrical outlet switch is turned to the “ON” position.
- Do not immerse your lamp in water; doing so will damage the wire.
- Keep materials that burn easily away from lighted bulbs.
PREPARATION
- Before beginning assembly, installation or operation of product, make sure all parts are present. Compare parts with package contents list and diagram on previous page. If any part is missing or damaged, do not attempt to assemble, install or operate the product. Contact customer service for replacement parts.
- Tools required for assembly (not included): flathead screwdriver, phillips screwdriver, pliers, electrical tape, wire cutters, safety glasses, ladder, wire stripper.
INSTALLATION
Preparing the mounting strip
- Unscrew the two cap nuts (H7) from the support screws (long) (H2). Remove the mounting strip (H1) from the canopy assembly (A), and keep the cap nuts (H7) for later use.
- Loosen the hex nuts (H3) on the support screws (long) (H2) and adjust the support screws (long) (H2) so that they extend long enough to protrude through the canopy of the canopy assembly (A). Then secure the support screws (long) (H2) in place using the hex nuts (H3).

Installing the mounting strip
- Fasten the mounting strip (H1) onto the outlet box using two outlet box screws (short) (H4).

Assembling the tube
- Fasten the tube (B) into the top of the socket assembly (C)

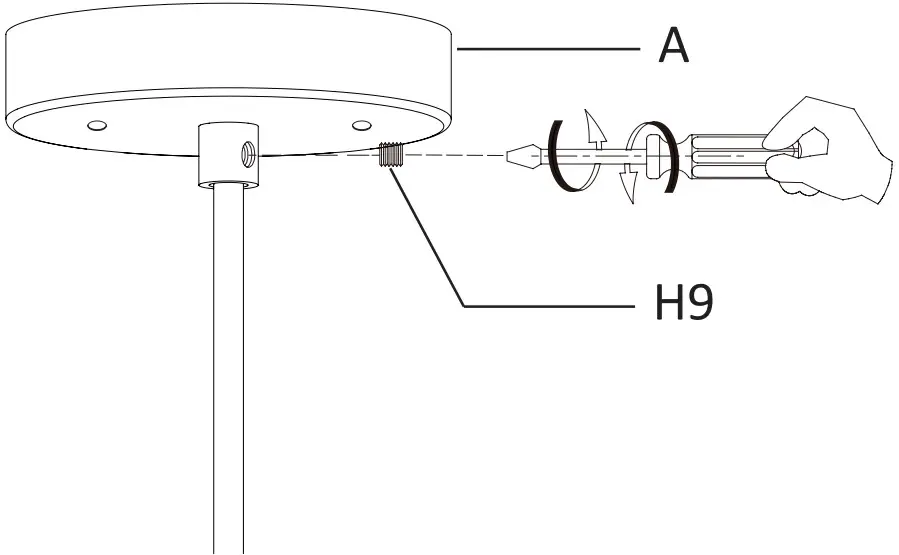
Adjusting the power cord
- Loosen the plastic screw (H9) on the canopy assembly (A) by using a flat head screwdriver (not provided) and adjust the fixture wire to the desired length, then tighten the plastic screw (H9) back into the hole as shown in the diagram.

Making the electrical connections
- Strip 3/4 in. of insulation from the wire ends.
- Connect the black wire from the fixture to the black wire from the outlet box, then connect the white wire from the fixture to the white wire from the outlet box.
- Connect the bare copper ground wire from the canopy assembly (A) to the green ground wire from the fixture and the ground wire from the outlet box. The bare copper wire from the canopy must loop one turn the head of the green ground screw (H5) on the mounting strip (H1) before it is connected to the ground conductor of the supply circuit.
- Cover the wires with wire connectors (H6). Tape the wire connectors (H6) and wires together, and carefully position all wires inside the outlet box.

Installing the canopy assembly to the outlet box
- Place the canopy assembly (A) over the outlet box, and ensure the heads of the support screws (long) (H2) come through the holes of the canopy assembly (A).
- Tighten the cap nuts (H7) onto the protruding support screws (long) (H2) on the mounting strip (H1) until the canopy assembly (A) is held firmly against the ceiling.

Installing the glass shade and light bulb
- Unscrew the socket ring (H8) from the socket of socket assembly (C), place the glass shade (D) onto the socket and secure with the socket ring (H8).
- Install the light bulb (not provided) into the socket. Use one MAX 60 W medium base (E26) type “A” bulb (recommended).
Note: You can also use one MAX 9W medium base (E26) self-ballasted LED bulb. Do not exceed the recommended wattage.
CLEANING
- Do not use any cleaners with chemicals, solvents, or harsh abrasives. Use only a dry, soft cloth to dust or wipe carefully.
- To clean the fixture, disconnect the power by turning off the circuit breaker or by removing the fuse at the fuse box. Use a dry or slightly dampened, clean cloth to wipe the exterior surface of the fixture.
TROUBLESHOOTING
- The light does not come on at all:
a) Make sure the wall switch and circuit breaker are on.
b) Make sure the wiring is correct. - Fuse blows or circuit trips when light is turned on.
a) Check for crossed wires, ensure wiring is correct.
































