Zambelis 22025 Ceiling Light

Tools
Featured

Overview

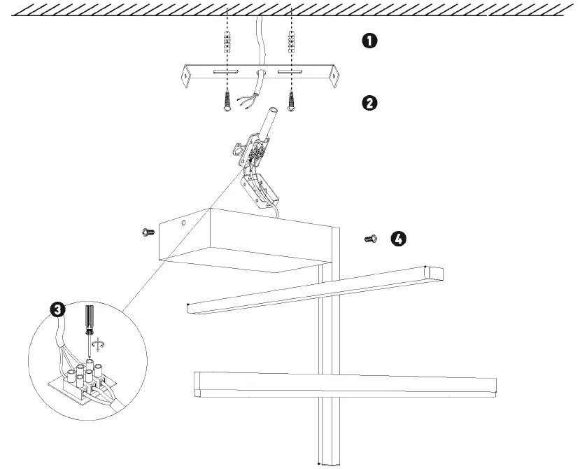
Connecting the Terminal Block
Connect main supply (brown – Live, blue – Neutral) into terminal block making sure all connections are light.
CEILING LIGHT
Please read instructions before commencing installation and retain for future reference.
SPECIFICATIONS
- Material: Metal + Aluminum + Silicon
- Lamp Type: LED • 25W , 3000K • 2700Lm , CRi 80
- Ingress Protection: IP20. Protection against entry of solid objects greater than 12mm in diameter.
INSTALLATION INSTRUCFIONS
A. Electrical products can cause death, injury, or damage to property. Installation of this product must be carried out by a qualified electrician.
- Ensure main supply is switched off.
- Insert masonry plugs into mounting surface (1).
- Fit mounting bracket onto mounting surface with self-tapping screws (2).
- Connect main supply wires to terminal block (3) making sure all connections are tight.
- Fit ceiling plate onto mounting bracket with screws (4).
- Reconnect power.
WARNING
- Make sure that the products is installed properly before connecting to electricity.
- Do not cover the fitting.
- Not for outdoor use or in wet conditions.



















