Z-Lite 3034P8-PN One Light Pendant

FOR YOUR SAFETY
WARNING: BE SURE THE ELECTRICITY TO THE WIRES YOU ARE WORKING ON IS SHUT OFF; EITHER THE FUSE IS REMOVED OR THE CIRCUIT BREAKER IS SHUT OFF. GENERAL You don’t need special tools to install this fixture. Be sure to follow the steps in the order given. Under no circumstances should a fixture be hung on house electrical wires, nor should a swag type fixture be installed on a ceiling which contains a radiant type heating system. Read instructions carefully. If you are unclear as to how to proceed, consult a qualified electrician. NOTE: Proper wiring is essential for the safe operation of this fixture.
GENERAL
You don’t need special tools to install this fixture. Be sure to follow the steps in the order given. Under no circumstances should a fixture be hung on house electrical wires, nor should a swag type fixture be installed on a ceiling, which contains a radiant-type heating system. Read instructions carefully. If you are unclear as to how to proceed, consult a qualified electrician.
NOTE: Proper wiring is essential for the safe operation of this fixture.
FIXTURE ASSEMBLY
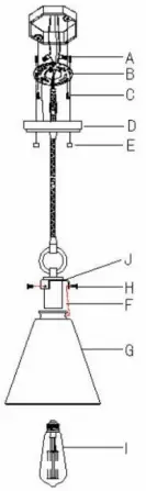
Carefully removed the fixture from the carton and check that all parts are included as shown in figure. Be careful not to misplace any of the screws or parts, which are needed to install this fixture.
INSTALLATION
IMPORTANT: Do not attach fixture directly to outlet box.
STEP1: Install mounting screw (A) into mounting plate(B).
STEP2: Secure universal mounting plate(B) and outlet box with box screw(C).
Proceed to connect wires:
GROUNDING INSTRUCTIONS
STEP 1: Insert the green grounding screw into the hole with two raised dimples on the circular strap. Wrap the ground wire from the fixture (if supplied) around the green grounding screw, then connect it to ground wire from the outlet box (if not fixed on the outlet box) using a wire connector (not supplied). If ground wire from the fixture is not supplied, wrap the ground wire (if not fixed on the outlet box) from the outlet box around the green grounding screw and tighten it.
NEVER CONNECT GROUND WIRE TO BLACK OR WHITE POWER SUPPLY WIRES.

STEP 2: Take note of the color of the wire(s) on your fixture. Identify which group your fixture wire(s) falls into and connect the wires according to the directions below:
*NOTE: When parallel wire (SPT-I & SPT-2) is used, the tracer wire is square shaped or ridged and the less tracer wire is round in shape or smooth (seen best when viewed from wire end.)
STEP 3: Take your fixture wire(s) from group A and place evenly against the black wire from the outlet box. Do NOT twist wires together before using wire connectors.
STEP 4: Fit a wire connector (not supplied) over the wires and screw the connector clockwise until you feel a firmness.
STEP 5: Try gently to pull the connector off the wires. If you can pull the connector off, carefully re-do steps 3 and 4, as above, and check again for a firm connection
STEP 6: Connect the fixture wire from group B to the white wire from the outlet box in the same manner
FINAL ASSEMBLY
STEP1: After wires are connected, tuck them carefully inside outlet box.
STEP2:Put the canopy (D) on the mounting screw (A) and secure them with the nut (E).
STEP3: Put the Glass Shade (G) on the Bracket (J) and secure with screw(H).
STEP5: Install the bulb (I) (NO INCLUDED BULB) on the socket (F)
CLEANING
To clean, wipe fixture with a soft cloth. Clean glass with a mild soap. Do not use abrasive materials such as scouring pads or powders, steel wool or abrasive paper.
ORDERING PARTS
Keep this sheet for future reference, and in case you need to order replacement parts. All parts for this fixture can be ordered from place of purchase. Be sure to use exact wording from illustrations when ordering parts.

Line art shown may not exactly match the fixture enclosed. However, the installations do apply to this fixture.
ITEM NO: 3034P8-PN, 3034P11-PN













