5264-OS-CL-MWP 20 Inch Olde Silver Chandelier Ceiling Light
Instruction Manual
5264-OS-CL-MWP 20 Inch Olde Silver Chandelier Ceiling Light
Crystal Sets
A. 238 Sets. (1)14mm + (1)60mm plug

WARNING:
| Electrical Danger | Turn Power Off |
All electrical components must be installed by a licensed electrician in accordance with the National Electric Code and the appropriate local electrical codes

You will need 6- Candelabra Base Bulb and 1-Medium Base Bulb.
40 Watts recommended 60 Watts Max.
USE LED BULBS FOR EXTENDED USE
The fixture is Damp rated
HOW TO INSTALL:
Place the fixture parts on a soft cloth-covered platform before installation of fixture.
For Hanging:
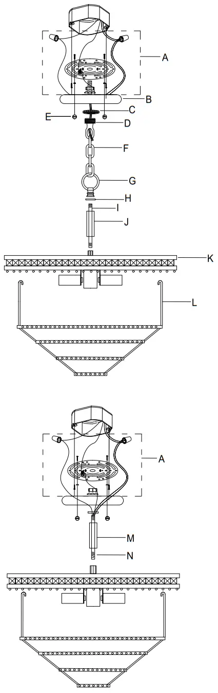
- Lock the threaded nipple into the coupling of the fixture body then put the rod and the check ring onto the threaded nipple and lock them with the fixture loop.
- Hang the basket ring on the crossbar of the fixture body using the hooks attached to the basket ring.
- Install the mounting plate onto the outlet box.
- Decide the desired hanging height and adjust the chain to the correct length.
- Raise the fixture up and do the wire connection. Attach the canopy over the mounting plate and secure with ball nuts.
- Dress the crystals as illustrated.
For Ceiling:
- Same installation step#1 and #2 as above for the hanging.
- Remove the fixture loop from the fixture body and the loop from the ceiling canopy. Place the canopy over the top of the fixture body and secure with the ball nuts.
- Dress the crystals as illustrated.
WARNING: This product can expose you to Lead, which is known to the State of California to cause cancer and/or birth defects or reproductive harm. For more information go to www.p65warnings.ca.gov
Part Number
Part Numbers-For Hanging
A. (1)-Mounting hardware
Mounting plate x1.
Wire connector ×2.
Lock washer ×1.
Hex nut ×1.
nut x2.
Threaded Nipple ×1.
Screw ×4.
B. (1)-Canopy (W6″xH1.4″)-XSN5264OSCAN6IN
C. (1)-Collar Ring
D. (1)-Collar Loop-XSN5264OSLOOP
E. (2)-Ball nut-XSN5264OSBANUT
F. (1)-Chain (4mmx72″)-XSN5264OSCHA4MM
G. (1)-Fixture Loop
H. (1)-Check ring
I. (1)-Threaded nipple; H5″
J. (1)-Rod ; H5″-XSN5264OSROD5IN
K. (1)-Fixture body
Coupling
Banding; Ø20″
Candelabra Socket x6 & Medium Socket x1.
78 round crystal pins.
L. (1)-Basket ring ; Ø14 1/2″
First layer of ring ; 64pin holes.
Second layer of ring ; 48pin holes.
Third layer of ring ; 32pin holes.
Fourth layer of ring ; 16pin holes.
Part Numbers-Conversion kit For Ceiling
M. (1)-Rod ; H3 1/4″-XSN5264OSROD3.25IN
N. (1)-Threaded nipple; H3 3/8″

















