FINSMAKARE

Product description

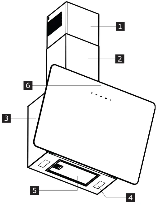
| 1. Upper chimney 2. Lower chimney 3. Hood body | 4. LED Lighting 5. Grease filter 6. Control panel |
Control panel

| A Speed | Turns the motor on/off at speed one. |
| Attention: the product is with the filter alarm disabled. Press and hold the button for approximately 2 seconds, with all the loads turned off (Motor+Lights), to turn the grease filter alarm on. LED(B) flashes twice to confirm. To turn the alarm off, press the button again and hold for at least 2 seconds. The relevant LED (B) flashes once. | |
| B Speed | Turns the motor on at speed two / Activate the charcoal filter alarm. |
| Attention: the product is with the filter alarm disabled. Press and hold the button for approximately 2 seconds, with all the loads turned off (Motor+Lights), to turn the Activated Charcoal Filter alarm on. LED (A) flashes twice to confirm. To turn the alarm off, press the button again and hold for at least 2 seconds. The relevant LED flashes once (A). Only for recirculation mode. | |
| C Speed | Turns the Motor on at speed three / Reset alarm grease filter saturation. |
| Press and hold the button for approximately 2 seconds, with all the loads turned off (Motor+Lights), to reset the grease filter saturation alarm or charcoal filter alarm. LED (A) flashes three times. | |
| D Speed | Turns the motor on at Booster speed. This speed is timed to run for 6 minutes. At the end of this time, the system returns automatically to the speed that was set before. If it is activated with the motor turned off, it will switch to OFF at the end of the time. To deactivate it, press button D or press button A. |
| E Light | Press briefly: Turns the lighting system on and off at maximum intensity. Press and hold to change the lighting intensity up or down. |
Filters Alarm.
When the filter alarm is activated, the following messages will appear over time:
The grease filter must be cleaned: “A” key flashes once per second.
Anti-odour filter must be cleaned: the “A” key flashes twice per second.
Energy efficiency
| Product fiche information, according to 65/2014 | Unit | Value |
| Supplier’s name | IKEA | |
| Model identifier | FINSMAKARE 503.891.40 | |
| Annual Efficiency Consumption | kWh/a | 33,8 |
| Energy Efficiency Class | A++ | |
| Fluid Dynamic Efficiency | 37.6 | |
| Fluid Dynamic Efficiency Class | A | |
| Lighting Efficiency | lux/Watt | 100 |
| Lighting Efficiency Class | A | |
| Grease Filtering Efficiency | % | 75,1 |
| Grease Filtering Efficiency Class | C | |
| Airflow at minimum speed | m’/h | 270 |
| Air flow at maximum speed | rn3/h | 400 |
| Air flow at boost speed | m’/h | 740 |
| Airborne acoustical A-weighted sound Power Emission at minimum speed | dbA | 53 |
| Airborne acoustical A-weighted sound Power Emission at maximum speed | dbA | 0.59 |
| Airborne acoustical A-weighted sound Power Emission at boost speed | dbA | 70 |
| Per Consumption in off mode | Watt | 0,49 |
| Power Consumption in standby mode | Watt | N/A |
| Additional information according to 66/2014 | ||
| Time increase factor | 0,6 | |
| Energy Efficiency Index | 34,7 | |
| Measured Air flow rate at best efficiency point | rn3/h | 429,0 |
| Measured air pressure at the best efficiency point | Pa | 464 |
| maximum airflow | m’/h | 740,0 |
| Measured electric power input at the best efficiency point | W | 147,0 |
| Nominal power of the lighting system | W | 2,2 |
| Average illumination of the lighting system on the cooking surface | lux | 220 |
| The sound power level at the highest setting | dBA | 59 |
To download the full version visit www.ikea.com

991.0674.788_01 – 220218
D00008428_00
23199
© Inter IKEA Systems B.V. 2020
AA-2277467-5


















