995804 SAMIA SAMIA 2 Light Black and Wood Adjustable Wall and Ceiling Light
Instruction Manual
995804 SAMIA SAMIA 2 Light Black and Wood Adjustable Wall and Ceiling Light

995804 / 998605
| 230V / 50Hz~ | |
| 1x E27 max. 40W |
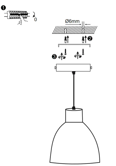
![]()


LeuchtenDirekt GmbH
Olakenweg 36 · D-59457 Werl
+49(0)2922 9721 9290
[email protected]
www.leuchtendirekt.de












