INTERMATIC DT620 Series Digital Timer Instruction Manual
Installation and User Instructions Ratings
- Input: 102-132 VAC 60 Hz, 2.5W max.
- Output: 15A output, 1800W resistive and 12A inductive, 8.3A, 1000W tungsten, 1/2 HP
WARNING
Risk of Fire or Electrical Shock
- Risk of injury or death. Always plug three-prong plug into a properly grounded outlet. Never attempt to defeat this safety feature.
- Do not use timer to control devices that could have dangerous consequences due to inaccurate timing, such as sun lamps, sauna, heaters, crock pots, etc.
- Unplug timer before replacing batteries.
Timer Overview

Item Description
A Battery Holder
B Low battery indicator
C Time of Day display
D Control buttons (4)
E Grounded outlet (2)
F Selector knob
G Reset button
H Day of Week display
I Event display
J Mode display
K ON/OFF indicator light
L Battery Pull Tab
Enable Battery
- Remove Pull Tab (L) (Fig. 1) from battery holder if present.

- Display shows 12:00. If no display see troubleshooting guide.
- For your convenience timer may be set while unplugged. Display turns OFF after 1 minute to save battery. Press any button to turn display back ON.
Clear Out Old Settings
- Press and hold the ON/OFF button.
- While holding ON/OFF button, press and release the reset button (G) with a blunt object. Continue holding ON/OFF button for five seconds until the display shows “CLR”.
- Release ON/OFF button. The screen displays 12:00 AM, with 12 flashing. (Fig. 2) Proceed to step 2 below.

Set The Time, Date and Location
- If necessary, press MODE to display CLOCK in the top right corner of the screen, then press OK. Hours digits flash.
- Turn the selector knob to set the current hour (AM/PM) and press OK.
- Turn the selector knob to set the current minute and press OK.
- Turn the knob to set the desired year and press OK. (Fig. 3)


- Turn the knob to set the desired month and press OK.
- Turn the knob to set the correct date and press OK. The screen displays DAY SAV and flashing AUTO (Meaning AUTOmatic DAYlight SAVing Time adjustment is enabled).
- To accept AUTO Daylight Saving Time adjustment press OK and proceed to step 8. To disable Daylight Saving Adjustment (For example, in Arizona or Hawaii) turn knob to display flashing MAN then press OK. LOC will show on top of display. (Fig. 4) Proceed to step 13.
- Steps 8-10 allow you to change the Daylight Saving Time (DST) adjustment dates. The timer is factory-set to the US Daylight Saving rules effective from the year 2007 forward. The display will show ON DAY SAV, flashing 03, and WK 02, meaning timer will adjust forward on 2nd Sunday in March. Proceed to step 9 if you need to change the factory settings or press OK repeatedly to accept the factory settings until LOC appears on top of display and proceed to step 13. (Fig. 4)

- Turn the knob to change the flashing 03 to the required new month (01-06) for the spring adjustment, then press OK.
- Turn the knob to change the flashing 02 to the required new week (01-02-03-04-L) for the spring adjustment, then press OK. (“L” means Last week of month).
- Turn the knob to change the flashing 11 to the required new month (07-12) for the autumn adjustment, then press OK.
- Turn the knob to change the flashing 01 to the required new week (01-02-03-04-L) for the autumn adjustment, then press OK. LOC shows at top of display. (Fig. 3)
- Turn the knob to select the desired state or province (if in Canada) or MEX for Mexico and press OK.
- Turn the knob to select the region of the state or province and press OK.
- Turn the knob to select the time zone and press OK. The Dawn time flashes.
- Turn the knob to adjust the Dawn Time, (Fig. 5) if necessary and press OK.

- Turn the knob to adjust the Dusk Time, (Fig. 6) if necessary and press Ok. Display shows MAN, and Time of Day.

Programming Dusk ON/Dawn OFF
- From the MAN, AUTO,or RAND screen, press PROG.
- The screen displays a flashing 01. (Fig. 7)

- Press PROG again.
- Turn the selector knob until a flashing ON and DUSK appears at the top of the screen then press PROG.
- Turn the knob to select the required days of the week that you want the DUSK ON event to occur. (Fig. 8)

- Press PROG twice. The screen displays EVENT 02 and flashing text at top.
- Turn the knob until a flashing OFF and DAWN appears on the screen and press PROG.
- Turn the knob to select the required days of the week for the DAWN OFF to occur and press PROG.
- Press OK to save the programming and return to the AUTO screen.
To Set a Dusk ON and Fixed Time OFF Program:
- From the MAN, AUTO or RAND screen, press PROG. The screen displays a flashing 01. Press PROG again.
- Turn selector knob until a flashing ON and DUSK appears. Press PROG.
- Turn the knob to select the required days for the DUSK ON event and press PROG. The screen displays a flashing 02. Press PROG.
- Turn the knob until OFF flashes and 12:00 AM appears then press PROG.
- Turn the knob to select the desired days of the week for the Fixed Time OFF event and press PROG.
- Turn the knob to select the desired OFF hour and press PROG.
- Turn the knob to select the desired OFF minute and press PROG.
- Press OK to return to the AUTO screen.
To Set a Fixed Time ON and Fixed Time OFF Program
- From the MAN, AUTO or RAND screen, press PROG. The screen displays a flashing 01. Press PROG.
- Turn the knob until ON flashes and 12:00 AM appears. Press PROG.
- Turn the knob to select the required days for the fixed time ON and press PROG.
- Turn the knob to select the desired ON hour and press PROG.
- Turn the knob to select the desired ON minute and press PROG. The screen displays a flashing 02. Press PROG again.
- Turn the knob until OFF flashes and 12:00 AM appears and press PROG.
- Turn the knob to select the desired days of the week for the fixed time OFF to occur and press PROG.
- Turn the knob to select the desired OFF hour and press PROG.
- Turn the knob to select the desired OFF minute and press PROG.
- Repeat steps 2-12 for additional (higher numbered) ON/OFF events or press OK to return to the AUTO screen.
To Review/Revise Calendar Settings
- Press MODE repeatedly until CLOCK is displayed.
- Press OK repeatedly to step through all settings until Time of Day and MAN is displayed.
- Use selector knob to revise and OK button to save changes.
- Use MODE button to select MAN, AUTO or RAND operation.
To Review/Revise ON/OFF Settings
- Press PROG button.
- Turn selected knob to view all 28 possible settings.
- Revise per setting procedure.
- Press OK to return to AUTO mode.
- Use MODE button to select MAN, AUTO,or RAND operation.
Select Operating Mode
- PRESS MODE button to select:
a. AUTO (Timer follows your program)
b. RAND (Timer follows your program with daily RANDOM variations in ON/OFF times.
c. MAN (Timer saves but ignores your program. Use ON/OFF to switch the load).
About the Batteries
- The battery voltage is continuously monitored. If a low voltage is detected, the low battery indicator will be displayed. (Fig. 9).

- The timer requires two LR44 batteries to keep time up to three months without power.
- Replace the batteries as soon possible after the low battery indicator appears.
- Change the batteries within one minute of unplugging in order to keep the time and date settings. Afterwards, if the display is wrong or flashes “12:00 AM”, reset the time and date. All other settings (your ON and OFF programming) remain in memory indefinitely without battery or AC power.
- While the batteries are removed, the timer will turn off the display to conserve power.
- Dispose of the used batteries promptly according to local regulations. Keep batteries away from children.
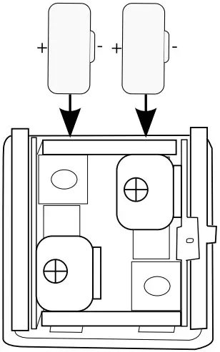
Replacing the Batteries
- Unplug timer before replacing batteries. To remove the batteries, carefully pry the battery holder up with a small flat screwdriver. Install the new batteries as shown in Fig. 10. Firmly place the battery holder into the switch.

Troubleshooting Guide
| Observed Problem | Possible Cause | What to Do |
| Battery symbol always shows in the upper right of display when plugged in or nodisplay at all when unplugged and buttons are pressed. (Note: battery display takes 1 minute to recognize installed or removed batteries.) | Low, missing, or backwards batteries, pull tab not removed, or poor contact in battery holder. | Remove pull tab. Verify correct battery direction per outline on inside or “+/-” on outside of holder. Bend contacts of battery holder to touch the batteries firmly. Replace both batteries. Use 2 type LR44 or A76. |
| Digital timer does not switch on/off but display looks normal. | Digital timer is not set in AUTO, RANDom, or MANual mode. | Press MODE to select the operational mode you want to use; or make sure an ON/OFF schedule is set. |
| Digital timer won’t enter AUTO or RANDom mode when you press MODE. | The time of day or timer settings have not been set. | Make sure the time of day and at least one scheduled activity have been set. |
| Digital timer switches at incorrect times or skips some of the programmed times. | Programmed schedule(s) are incorrect. | Press PROG to review the settings and revise them as necessary. See instructions. |
| Digital timer is in RANDom mode, which varies switching times up to ±30 minutes (to give your home a “lived-in” look). | If you don’t want to keep the timer in RANDom mode, press MODE to change to AUTO mode. | |
| The Astronomic and exact switching times are in conflict. For example, you’ve set on to DUSK and off at 8 pm, and due to seasonal changes, DUSK has advanced to 8:30 pm.NOTE: Your timer automatically skips any conflicting ON event as summer approaches to prevent unwanted operation of lights or other controlled devices. See “What to Do” if you want to identify and remove conflicting settings. | 1. Complete the steps for setting the Time and Date, then temporarily change the date to June 21st.2. Review the DAWN and DUSK settings by pushing the PROG button.3. Make sure the specific ON or OFF time settings won’t interfere with these DAWN and DUSK times. Make changes as necessary.4. When finished, change the Date setting back to today’s date. | |
| The lights or controlled devices don’t match the programmed on/off status immediately after setting the time or programming a schedule. | Digital timer does not “catch up” automatically to the programmed load state. The status of the timer will remain as is until it comes to the next programmed on/off time. | After programming your events or the time, then returning to the AUTO mode, push the ON/OFF button to change the load state if necessary. |
| Timer shows ON but the light or other controlled device is off. | The light or controlled device itself may be switched off or the light bulb may be burned out. | Make sure the light or controlled device is switched on and plugged in or replace the light bulb. |
LIMITED ONE-YEAR WARRANTY
This warranty service is available by either (a) returning the product to the dealer from whom the unit was purchased or (b) completing a warranty claim online at www.intermatic.com. This warranty is made by: Intermatic Incorporated, Customer Service 1950 Innovation Way, Suite 300, Libertyville, IL 60048. For warranty service go to: http://www.Intermatic.com or call 815- 675-7000.
PRODUCT DESCRIPTION
Full feature plug-in timer provides full 7-day programming with astronomical clock and Daylight Saving Time (DST) adjustment in a convenient plug-in for quick and easy automation.
FEATURES
- 28 ON/OFF programmable events
- Full 7-day programming options, including astronomical clock, automatic DST adjustment and random mode
- Two grounded receptacles and a grounded plug
- LR44 battery backup (included)
- Plugs directly into wall outlet
APPLICATIONS
- Air Movement & Ventilation
- Indoor Lighting Control
TECHNICAL DATA
| General | |
| Model Number | DT620 |
| Description | 7-Day Indoor Digital Plug-In Timer |
| UPC Code | 078275125322 |
| Brand | Intermatic |
| Country of Origin (Intermatic) | MEXICO |
| Warranty Period | 1-Year limited |
| Control Specifications | |
| Maximum ON/OFF Operations | 28 |
| Operation Features | Astronomic |
| Operation Mode | 7 day |
| Backup Type | Battery |
| Battery Type | LR44 |
| Mechanism Type | Digital/Electrical |
| Application Compatibilities | CFL; LED |
| Mechanical Specifications | |
| Number of Plugs | 2 |
| Plug Configurations | 5-15 |
| Dimensions | |
| Product Dimensions (H x W x D) in | 3 1/5 x 3 1/3 x 2 1/4 in |
| Material Specifications | |
| Color | White |
| Load Ratings | |


























