Cordless Cellular Shade
Patent no. US8245756B2

tools needed

hardware contents
| Blind Width | Number of Brackets | Number of Screws | Number of Anchors | Number of Operation handle |
| up to 36″ (incl.) | 2 | 4 | 4 | 1 |
| 37″ and up | 3 | 6 | 6 | 1 |
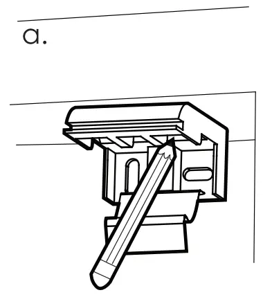
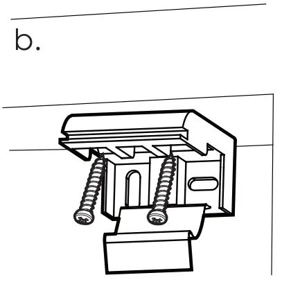
step 1. installing the brackets inside mount
- Pencil mark the mounting screw holes at the top of the bracket.
- Drill holes at the pencil-marked locations.
- Position the brackets near each end of the headrail.

- Secure the brackets with the mounting screws provided.

outside the mount
- Pencil mark the mounting screw holes at the back of the bracket.
- Drill holes at the pencil-marked locations.
- Use level at top of brackets to ensure straight alignment. The shade needs to be level for proper operation.

- Secure the brackets with the mounting screws provided.
- when mounting brackets on wallboard or plaster. use the wall anchors provided.

Step 2. installing the shade
- Make sure the shade is oriented so that the white side of the fabric (the side marked “Exterior Facing” on the top rail) faces towards the window glass panel.

- Insert the flange of the top rail onto the top of the bracket as shown in the drawing then snap in the rear part of the rail onto the tab of the bracket in a twisting motion.

Note:
- Avoid placing brackets over the spring box or cord pulleys.
- When installing brackets make sure the brackets do not catch the shade cord(s) against the headrail.
Step 3. assembling the operation handle rear view
- Locate the center of the bottom rail. Gently lift the shade material out of the way. Fasten the top of the handle onto the middle backside of the bottom rail.

side view
- Rotate the handle upward until it snaps into place.

Step 4. operating the shade
Lowering shade: Simply grasp the center of the bottom rail and pull the shade down to desired length and release.
Raising shade: Simply grasp the center of the bottom rail and push it upward to the desired length and release.

cleaning your shade:
For best results, we suggest using a vacuum cleaner or dry cloth to remove dust. For spot removal try using a lightly damp cloth to wipe the spot clean. Do not use any kind of chemical to clean the shade as it may damage the shade.















