SUN ZERO 60655 Cordless Roman Shade

GETTING STARTED:
Please read all instructions before attempting to install your shade. Carefully unpack your shade and check to make sure you have the folowing parts. If any part is missing or damaged, do not attempt to assemble or install the shade.
PARTS INCLUDED:

YOU WILL NEED THE FOLLOWING TOOLS:

OUTSIDE MOUNT OPTION:
Shades are mounted on the wall surface above opening or casing. Ideal for window with little or no window depth.
- Measure the Window Frame Width and Height.
- Roman Shade Width = Window Frame Width plus 6-10 inches
Roman Shade Height = Window Frame Height plus 3-5 inches - Outside mounted shades require extra width and height to ensure that the entire window is Covered.

INSIDE MOUNT OPTION:
Provides a neater, more tailored look without hiding your decorative window frame.
- Measure the Window Inside Width and Height.
- Roman Shade Width = Window Inside Width minus 0.25 inch
Roman Shade Height = Window Inside Height - Window Depth requires at least 2 inches.

MOUNTING BRACKETS:
The Roman Shade (a) can be mounted two ways; either Inside (Ceiling Mount) or Outside (Wall Mount) of your frame using the provided Brackets (b).

You will need to leave 3-5 inches of space from the ends of the Headrail (e) to properly mount the Brackets. ONLY use the Wall Anchors (d) if you are mounting the brackets onto dry wall.

FITTING THE SHADE & SECURING THE HEADRAIL
For easier fitting, remove the Roman Shade (a) from the velcro attachment on the front of the Headrail (e).

Place the Headrail (e) onto the Brackets (b) by inserting the back side of the Headrail on first and then pushing the front side upward until it snaps into place. There should be an audible click, when the Headrail is secured.

Once secured, reattach the Roman Shade (a) to the velcro strip on the front of the Headrail (e).
HANDLE PULL INSTALLATION
Slide the handle pull (f) over the Slat Bar located at the bottom edge of your shade liner as shown below.

OPERATING INSTRUCTIONS
To Lower the Shade: Pull the bottom edge of the back liner to lower the shade until the desired height.
Pull the bottom edge of the back liner again to hold the shade in place.

To Raise the Shade: Pull the bottom edge of the back liner twice to release the shade. Lift to the desired height then pull back liner again to hold the shade in place.

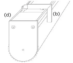
1A. INSTALLING YOUR BRACKETS: OUTSIDE MOUNT
Fix the Brackets (b) on the wall outside and above the window frame. Ensure that the Brackets are moved in 3-5 inches from the sides of the window frame. Drill a hole for the bracket screws. With a lightweight hammer, insert the Wall Anchors (d) until flush with the surface. Fix the Brackets (b) on the wall and tighten the bracket screws (c) until securely fastened to the wall.

1B. INSTALLING YOUR BRACKETS: INSIDE MOUNT
Fix the Brackets (b) onto the ceiling (top) inside the window frame, leaving a depth of 3 inches or more from the window. Ensure that the Brackets are moved in 3-5 inches from the sides of the window frame. Then place the Bracket Screws (c) through the top holes and tighten until securely fastened to the top of the window frame

Care Instructions: Spot clean only.
For inquiries, email: [email protected]
















