PCL850 18V Hybrid 12Inch Misting Air Cannon
Instruction Manual

PCL850 18V Hybrid 12Inch Misting Air Cannon
OPERATOR’S MANUAL
18 VOLT HYBRID 12 IN. MISTING AIR CANNON
PCL850
EXTENSION CORDS NOT INCLUDED
WARNING: To reduce therisk of injury, the user must read and understand the operator’s manualbefore using this product.
SAVE THIS MANUAL FOR FUTURE REFERENCE
IMPORTANT SAFETY INSTRUCTIONS
WARNING
READ AND UNDERSTAND ALL INSTRUCTIONS. Failure to follow all instructions listed below, may result in electric shock, fire and/or serious personal injury.
- To reduce the risk of injury, close supervision is necessary when a product is used near children.
- Do not allow children to operate this product. It is not a toy.
- Exercise caution to avoid slipping or falling.
- Use only recommended accessories. The use of improper accessories may cause risk of injury.
- Never leave product running unattended. Turn hose faucet completely off and remove battery pack. Don’t leave product until spray comes to a complete stop.
- Never direct mist or water toward any electrical wiring or devices.
- Ensure that all hoses and accessories are properly connected before using the product.
- ONLY use clean, cold water.
- Store indoors.
- Do not use this misting fan to spray pesticides, liquid fertilizers, chemicals, or any liquids other than clean water. Spraying these substances could result in serious injury or illness to the operator or bystanders.
- Make sure hose and mist tube are located so that they will not be stepped on, tripped over, come in contact with sharp edges or moving parts or otherwise subjected to damage or stress. This will reduce the risk of accidental falls, which could cause injury, and damage to the hose and mist tube which could prevent the product from working properly.
- Use caution when positioning the product for use. Never place the unit near electrical outlets or switches.
- Check hoses and parts for signs of damage. Replace any damaged hoses or parts.
- Verify that all connections are secure before operating the unit.
- Use caution when using in windy conditions. Winds may carry mists into electrical wiring or devices.
- Do not kink or overbend the hose or mist tube.
- Ensure all hose connections are secure before using misting fan. Spilled water and leaks can result in a slippery surface and create a slip and fall hazard.
ELECTRICAL SAFETY
- Use this product only with batteries and chargers listed in tool/appliance/battery pack/charger correlation supplement 987000-432.
- Do not defeat the safety purpose of the polarized or grounding-type plug. A polarized plug has two blades with one wider than the other. A grounding type plug has two blades and a third grounding prong. The wide blade or the third prong on a grounding plug are for your safety. If the plug does not fit into your outlet, consult an electrician for replacement of the obsolete outlet.
- Protect the extension cord from being walked on or pinched particularly at plugs, convenience receptacles, and the point where they exit from the product.
- Unplug this product during lightning storms or when when not in use.
- Check extension cords before each use. If damaged replace immediately. Never use a product with a damaged cord since touching the damaged area could cause electrical shock resulting in serious injury.
PERSONAL SAFETY
- Dress properly. Do not wear loose clothing or jewelry. Contain long hair. Keep your hair and clothing, away from moving parts. Loose clothes, jewelry, or long hair can be caught in moving parts or drawn into air vents.
- Prevent unintentional starting. Ensure the switch is in the off-position before connecting to power source and/or battery pack, picking up or carrying the product. Carrying battery packs with your finger on the switch or energizing products that have the switch on invites accidents.
- Do not overreach. Keep proper footing and balance at all times. Proper footing and balance enable better control of the product in unexpected situations.
- Do not use on a ladder or unstable support. Stable footing on a solid surface enables better control of the product in unexpected situations.
- Constantly stay aware of cord location.
BATTERY PRODUCT USE AND CARE
- Use battery operated products only with specifically designated battery pack. Use of any other batteries may create a risk of fire.
- Do not use battery product if switch does not turn it on or off. A battery product that cannot be controlled with the switch is dangerous and must be repaired.
- Disconnect battery pack from product before making any adjustments, changing accessories, or storing the product. Such preventive safety measures reduce the risk of starting the product accidentally.
- Recharge only with the charger specified by the manufacturer. A charger that is suitable for one type of battery pack may create a risk of fire when used with another battery pack.
- When battery pack is not in use, keep it away from other metal objects like: paper clips, coins, keys, nails, screws, or other small metal objects that can make a connection from one terminal to another. Shorting the battery terminals together may cause sparks, burns, or a fire.
- Under abusive conditions, liquid may be ejected from the battery; avoid contact. If contact accidentally occurs, flush with water. If liquid contacts eyes, additionally seek medical help. Liquid ejected from the battery may cause irritation or burns.
- Do not use a battery pack or tool that is damaged or modified. Damaged or modified batteries may exhibit unpredictable behavior resulting in fire, explosion, or risk of injury.
- Do not expose a battery pack or tool to fire or excessive temperature. Exposure to fire or temperature above 265° F may cause explosion.
- Keep the product dry, clean and free from oil and grease. Always use a clean cloth when cleaning. Never use brake fluids, gasoline, petroleum-based products, or any strong solvents to clean your battery product. Following this rule will reduce the risk of loss of control and deterioration of the enclosure plastic.
- Know your product. Read operator’s manual carefully. Learn its applications and limitations, as well as the specific potential hazards related to this battery product. Following this rule will reduce the risk of electric shock, fire, or serious injury.
- Battery products do not have to be plugged into an electrical outlet; therefore, they are always in operating condition. Be aware of possible hazards when not using your battery product or when changing accessories. Following this rule will reduce the risk of electric shock, fire, or serious personal injury.
- Do not place battery products or their batteries near fire or heat. This will reduce the risk of explosion and possibly injury.
- Do not crush, drop or damage battery pack. Never use a battery that has been dropped or received a sharp blow. A damaged battery is subject to explosion. Properly dispose of a dropped or damaged battery immediately.
- Batteries can explode in the presence of a source of ignition, such as a pilot light. To reduce the risk of serious personal injury, never use any cordless product in the presence of open flame. An exploded battery can propel debris and chemicals. If exposed, flush with water immediately.
- Do not charge battery product battery in a damp or wet location. Following this rule will reduce the risk of electric shock.
- Under extreme usage or temperature conditions, battery leakage may occur. If liquid comes in contact with your skin, wash immediately with soap and water. If liquid gets into your eyes, flush them with clean water for at least 10 minutes, then seek immediate medical attention. Following this rule will reduce the risk of serious personal injury.
- Do not incinerate the misting fan even if it is severely damaged. The batteries can explode in a fire.
- To reduce the risk of fire or electric shock, do not use this fan with any solid-state speed control device.
- Not for use in kitchens.
- For general ventilating use only. Do not use to exhaust hazardous or explosive materials and vapors.
- To reduce the risk of personal injury and electric shock, the portable fan should not be played with or placed where small children can reach it.
- To reduce the risk of electric shock, do not expose to water or rain.
- Ensure battery compartment cover is completely closed to prevent water from contacting battery or entering battery port.
- Follow all charging instructions and do not charge the battery pack or tool outside the temperature range specified in the instructions. Charging improperly or at temperatures outside the specified range may damage the battery and increase the risk of fire.
- Have servicing performed by a qualified repair person using only identical replacement parts. This will ensure that the safety of the product is maintained.
- Do not modify or attempt to repair the appliance or the battery pack (as applicable) except as indicated in the instructions for use and care.
SERVICE
- Service must be performed only by qualified repair personnel. Service or maintenance performed by unqualified personnel may result in a risk of injury.
- When servicing a battery product, use only identical replacement parts. Follow instructions in the Maintenance section of this manual. Use of unauthorized parts or failure to follow Maintenance Instructions may create a risk of shock or injury.
- Save these instructions. Refer to them frequently and use them to instruct others who may use this tool. If you loan someone this tool, loan them these instructions also.
PORTABLE FAN SAFETY WARNINGS
- Know your portable fan. Read operator’s manual carefully. Learn its applications and limitations, as well as the specific potential hazards related to this product. Following
this rule will reduce the risk of electric shock, fire, or serious injury. - To reduce the risk of electric shock, do not use this fan near water or rain, especially when it is powered by the power cord. Do not allow the battery pack to get wet.
- Clean only with dry cloth.
- Do not operate near any heat sources such as radiators, heat registers, stoves, or other apparatus (including amplifiers) that produce heat.
- Do not charge battery tool in a damp or wet location. Do not use, store, or charge battery packs or products in locations where the temperature is less than 50°F or more than 100°F. Store product indoors only.
- To reduce the risk of fire or electric shock, do not use this portable fan with any solid-state speed control device.
- To reduce the risk of personal injury and electric shock, the portable fan should not be played with or placed where small children can reach it.
- Save these instructions. Refer to them frequently and use them to instruct others who may use this tool. If you loan someone this tool, loan them these instructions also.
ELECTRICAL
DOUBLE INSULATION
Double insulation is a concept in safety in electric products, which eliminates the need for the usual three-wire grounded power cord. All exposed metal parts are isolated from the internal metal motor components with protecting insulation. Double insulated products do not need to be grounded.
WARNING:
The double insulated system is intended to protect the user from shock resulting from a break in the product’s internal wiring. Observe all normal safety precautions to avoid electrical shock.
NOTE: Servicing of a product with double insulation requires extreme care and knowledge of the system and should be performed only by a qualified service technician. For service, we suggest you return the product to your nearest authorized service center for repair. Always use original factory replacement parts when servicing.
ELECTRICAL CONNECTION
This is a hybrid product capable of operating on alternating current (AC) through an extension cord or direct current (DC) through a battery pack. If the product does not operate when an extension cord or battery pack is installed, double-check the power supply.
- To use alternating current, connect the product to a power supply that is 120 volts, AC only (normal household current), 60 Hz.
- To use direct current, install a manufacturerrecommended 18 volt battery pack only.
GROUND FAULT CIRCUIT INTERRUPTER
See Figure 1, page 11.
This unit is recommended for use with a Ground Fault Circuit Interrupter (GFCI), which guards against the hazards of ground fault currents. An example of ground fault current is the current that would flow through a person who is using an appliance with faulty insulation and, at the same time, is in contact with an electrical ground such as a plumbing fixture, wet floor, or earth. GFCI plugs do not protect against short circuits, overloads, or shocks.
NOTE: To ensure readiness for use, press the reset button each time you connect the misting fan to the power supply. The GFCI plug can be tested with the TEST and RESET buttons.
To test:
- Press the TEST button. You will hear a “click” sound and the LED light will go out.
- To restore power, press the RESET button. The LED light will illuminate to indicate power has been restored. Perform this test monthly to ensure proper operation of the GFCI.
EXTENSION CORDS
When using a product at a considerable distance from a power source, be sure to use an extension cord that has the capacity to handle the current the product will draw. An
undersized cord will cause a drop in line voltage, resulting in overheating and loss of power. Use the chart to determine the minimum wire size required in an extension cord. Only round jacketed cords listed by Underwriter’s Laboratories (UL) should be used.
If using this product outdoors, use an extension cord that is designed for outside use. This type of cord is designated with “WA” or “W” on the cord’s jacket.
Before using any extension cord, inspect it for loose or exposed wires and cut or worn insulation.
**Ampere rating (on product data plate)
| 0-2.0 | 2.1-3.4 | 3.5-5.0 | 5.1-7.0 | 7.1-12.0 | 12.1-16.0 | |
| Cord Length | Wire Size (A.W.G.) | |||||
| 25´ | 16 | 16 | 16 | 16 | 14 | 14 |
| 50´ | 16 | 16 | 16 | 14 | 14 | 12 |
| 100´ | 16 | 16 | 12 | 12 | 10 | |
**Used on 12 gauge – 20 amp circuit
NOTE: AWG = American Wire Gauge
WARNING:
Keep the extension cord clear of the working area. Position the cord so that it will not get caught on lumber, tools, or other obstructions while you are working with this product. Failure to do so can result in serious personal injury.
WARNING:
Check extension cords before each use. If damaged replace immediately. Never use a product with a damaged cord since touching the damaged area could cause electrical shock resulting in serious injury.
SYMBOLS
| SYMBOL | SIGNAL | MEANING |
| DANGER: | Indicates a hazardous situation, which, if not avoided, will result in death or serious injury. | |
| WARNING: | Indicates a hazardous situation, which, if not avoided, could result in death or serious injury. | |
| CAUTION: | Indicates a hazardous situation, that, if not avoided, may result in minor or moderate injury. | |
| NOTICE: | (Without Safety Alert Symbol) Indicates information considered important, but not related to a potential injury (e.g. messages relating to property damage). |
Some of the following symbols may be used on this product. Please study them and learn their meaning. Proper interpretation of these symbols will allow you to operate the product better and safer.
| SYMBOL | NAME | DESIGNATION/EXPLANATION |
| Safety Alert | Indicates a potential personal injury hazard. | |
| Read Operator’s Manual | To reduce the risk of injury, user must read and understand operator’s manual before using this product. | |
| Electrocution/ Electric Shock | Keep water and mist discharge pointed away from all electrical devices to reduce the risk of electrocution or electric shock. | |
| Chemical Burns | To reduce the risk of injury or damage, DO NOT USE ACIDS, ALKALINES, BLEACHES, SOLVENTS, FLAMMABLE MATERIAL, OR INDUSTRIAL GRADE SOLUTIONS in this product. | |
| Slippery Surface | Improper hose connections and/or leaks can result in a slip and fall hazard. | |
| Wet Conditions Alert | Do not expose to rain or use in damp locations. | |
| Long Hair | Failure to keep long hair away from air inlet could result in personal injury. | |
| Fan Blades | Contact with moving fan blades can cause serious personal injury. | |
| Recycle Symbol | This product uses lithium-ion (Li-ion) batteries. Local, state or federal laws may prohibit disposal of batteries in ordinary trash. Consult your local waste authority for information regarding available recycling and/or disposal options. | |
| V | Volts | Voltage |
| A | Amperes | Current |
| Hz | Hertz | Frequency (cycles per second) |
| W | Watt | Power |
SYMBOLS
| SYMBOL | NAME | DESIGNATION/EXPLANATION |
| min | Minutes | Time |
| Direct Current | Type or a characteristic of current | |
| Alternating Current | Type of current | |
| Class II Tool | Double-insulated construction |
FEATURES
PRODUCT SPECIFICATIONS
Motor ………………………. 18 Volt DC 120 V, AC only, 60 Hz
Switch …………………… 2-Speed
ASSEMBLY
WARNING:
Do not use this product if it is not completely assembled or if any parts appear to be missing or damaged. Use of a product that is not properly and completely assembledor with damaged or missing parts could result in serious personal injury.
WARNING:
Do not attempt to modify this product or create accessories or attachments not recommended for use with this product. Any such alteration or modification is misuse and could result in a hazardous condition leading to possible serious personal injury.
If any parts are damaged or missing, please call 1-800-525-2579 for assistance.
OPERATION
WARNING:
Do not allow familiarity with tools to make you careless. Remember that a careless fraction of a second is sufficient to inflict serious injury.
WARNING:
Keep water and mist discharge pointed away from all electrical devices to reduce the risk of electrocution or electric shock.
WARNING:
Do not use any attachments or accessories not recommended by the manufacturer of this tool. The use of attachments or accessories not recommended can result in serious personal injury.
WARNING:
Always remove battery pack or unplug extension cord from your product when you are assembling parts, making adjustments, cleaning, or when not in use. Removing battery pack or unplugging extension cord will prevent accidental starting that could cause serious personal injury.
APPLICATIONS
You may use this tool for the purpose listed below:
General ventilation of most household spaces
WARNING:
Hybrid tools are always in operating condition. Therefore, switch should always be in the OFF ( 0 ) position when not in use.
NOTICE:
This product is designed to be powered by either a RYOBI™ ONE+™ 18V battery pack (DC mode) or by electric power (AC mode). Either power source can be used by installing an approved battery pack or power cord into the product as described in this manual.
INSTALLING/REMOVING BATTERY PACK
See Figure 2, page 11.
- Place the speed switch in the OFF ( 0 ) position.
- Open the battery compartment door.
- Insert the battery pack into the product as shown.
- Make sure the latches on each side of the battery pack snap into place and the battery pack is secured before beginning operation.
- Close the battery compartment door.
WARNING:
Do not use the misting fan unless the battery cover is fully closed. NEVER allow water or any liquids to enter the battery compartment.
Depress the latches to remove the battery pack.
NOTE: If desired, the battery cover can be locked by installing a padlock through the holes at the top of the cover.
For complete charging instructions, see the operator’s manuals for your battery pack and charger.
USING A POWER CORD (NOT INCLUDED)
See Figure 3, page 11.
NOTE: Use a GFCI rated cord.
- Place the speed switch in the OFF ( 0 ) position.
- Insert the female end of the power cord into the product as shown.
- Connect the male end of the power cord to the power source.
- Make sure the power cord is secured before beginning operation.
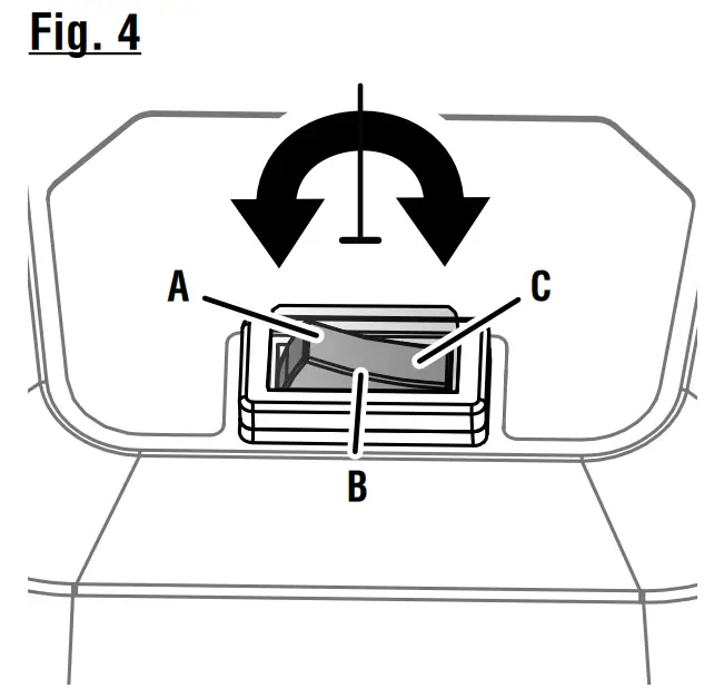
FAN LOW/OFF/HIGH SWITCH
See Figure 4, page 12.
The LOW/OFF/HIGH fan switch is located on the center front of the base.
- To select LOW speed, press ( I ).
- To select HIGH speed, press ( II ).
- To turn the fan OFF, select the center position ( O ).
HANGING THE PORTABLE FAN WITH THE KEYHOLE MOUNT
See Figure 5, page 12.
NOTE: Be careful not to hang the fan in such a way that it prevents normal fan operation or damages the cord.
- Use a 6 mm minimum screw size for mounting the fan.
- Ensure that the screw is securely fastened into a stud and that the screw is exposed no more than 5/8 in.
- Slide the keyhole hanger, located on the frame cross member, over the screw. Make sure the fan is securely mounted.
ADJUSTABLE HEAD
See Figure 6, page 12.
To change the angle of the fan head, loosen the adjustment knob on each side of the fan head. Select the desired position and tighten each knob to secure.
NOTICE: Adjusting the fan head without loosening the adjustment knobs could result in damage to the fan.
ADJUSTING THE MISTING ANGLE
See Figure 6, page 12.
The fan can be angled forward -15° or back 45° to adjust the direction of the mist.
USING THE MISTING FAN WITH A GARDEN HOSE (NOT INCLUDED)
See Figure 7, page 12.
WARNING:
Always route hoses away from traffic areas to prevent a tripping hazard.
- Choose a flat, steady surface, such as a concrete patio or tabletop.
- Set the fan switch to the OFF ( O ) position.
- With the water faucet turned completely off, attach a garden hose (not provided) securely to the garden hose connector and hand tighten.
- Install the battery pack and close the battery compartment.
- Turn the garden hose faucet on all the way and allow the hose to fill with water.
- Rotate the water control valve on the garden hoseconnector to the ON position.
- Press the fan switch to LOW ( I ) or HIGH ( II ) position.
To move the fan to another location: - Set the fan switch to the OFF ( O ) position.
NOTE: The intake tube cannot be removed.
USING THE FAN WITHOUT MIST
If desired, this product may be used as a fan only, when not connected to a water source. Always disconnect the garden hose and place the misting tube in its storage area.
MAINTENANCE
WARNING:
When servicing, use only identical replacement parts. Use of any other part could create a hazard or cause product damage.
GENERAL MAINTENANCE
Avoid using solvents when cleaning plastic parts. Most plastics are susceptible to damage from various types of commercial solvents and can be damaged by their use. Use
clean cloths to remove dirt, dust, oil, grease, etc.
WARNING:
With the battery pack removed from the misting fan, always clean and thoroughly dry out all parts of the misting fan and intake tube, when not in use to prevent the possible formation of bacteria or mold. Spraying mist that contains bacterial or mold can result in serious personal injury or illness.
NOZZLE MAINTENANCE
See Figure 8, page 12.
WARNING:
Ensure all nozzle maintenance is properly performed to prevent leaks. Leaks can result in a slippery surface, create a slip and fall hazard, or cause property damage. Irregular mist patterns or leakage may be the result of a clogged or dirty nozzle.
To clean nozzles:
- Make sure both the power switch and pump switch are in the OFF ( O ) position.
- Remove the battery pack.
- Remove the brass nozzles from each side of the fan.
- Soak nozzles in nozzle cleaner (not included) to loosen foreign materials clogging or restricting the nozzle.
- Using a garden hose, flush debris out of nozzle by back flushing (running the water through the nozzle backwards or from the outside to the inside).
- Reconnect the nozzles.
TROUBLESHOOTING
| PROBLEM | POSSIBLE CAUSE | SOLUTION |
| Leak at nozzle or threaded hole | Nozzles were installed improperly. Nozzles clogged or dirty. | Reinstall nozzles and tighten securely. Clean nozzles. |
| Fan will not start | Battery is defective or fully discharged. | Charge battery or contact customer service. |
Charge battery or contact customer service.
PCL850
A – Adjustable head
B – 2-speed switch
C – AC Receptacle
D – Battery port
E – Carry handle
F – Garden hose connector
G – Misting nozzles 
A – Test button
B – Reset button
A – Latches
B – Battery pack
C – Battery port
D – Padlock hole
A – Power cord
B – AC Receptacle 
FAN LOW/OFF/HIGH SWITCH
A – LOW speed
B – OFF
C – HIGH speed
A – Keyhole mount
B – Screw
C – Adjustable head
D – Adjustment knob 
Fig. 6
ADJUST FROM -15° TO 45°
A – Garden hose connector
B – Garden hose
C – Water control valve
A – Brass nozzle
OPERATOR’S MANUAL/12 in.,18 VOLT HYBRID MISTING AIR CANNON
To request service, purchase replacement parts, locate an Authorized Service Center or obtain Customer or Technical Support:
Visit www.ryobitools.com or call 1-800-525-2579
If any parts or accessories are damaged or missing, do not return this product to the store.
Call 1-800-525-2579 for immediate service.
Please obtain your model and serial number from the product data plate.
This product is covered under a 3-year limited Warranty. Proof of purchase is required.
MODEL NUMBER* _______________
SERIAL NUMBER ____________________________
*Model number on product may have additional letters at the end. These letters designate manufacturing information and should be provided when calling for service.
RYOBI is a trademark of Ryobi Limited and is used pursuant to a license granted by Ryobi Limited.
TTI CONSUMER POWER TOOLS, INC.
P.O. Box 1288, Anderson, SC 29622
• Phone 1-800-525-2579
États-Unis, Téléphone 1-800-525-2579
• USA, Teléfono 1-800-525-2579
www.ryobitools.com
998000856
12-6-21 (REV:01)













