DAYLIFF AQUASTRONG SMART 45 Water Boosting Pump

Congratulations on selecting Dayliff Aquastrong Smart 45 Water Boosting System. They are manufactured to the highest standards and if installed and operated correctly will give many years of tneicfeand trouble-free service. Careful reading of this Installation Manual is therefore important, though should there be any queries they should be referred to the equipment supplier.
SPECIFICATIONS

PUMP
Dayliff Aquastrong SMART45 is a highly innovative smart variable speed water boosting pump ideal for automatic pressurised water supply for houses, apartments, offices and other small-scale applications where reliable water supply is demanded, the variable speed technology providing constant pressure at varying water demand. Particular features include:-
- Innovative inverter controlled variable speed technology that minimises energy consumption.
- Optimized self-priming hydraulic design with that includes four-stage AISI304 stainless steel impellers, high-spec mechanical seal that accommodates dry-running and integral pressure and flow sensors.
- Permanent magnet air cooled DC motor that features high efficiency with quiet (60dB) operation and inbuilt thermal overload and dry run protection.
- Fully automatic operation with the option of adjustable constant pressure settings that matches flow with demand and constant speed function that varies pressure with demand.
- Easy to use LED control panel with display for operating mode, motor speed, operating pressure and various fault indicators.
- Convenience features including adjustable inlet and outlet connectors for installation flexibility, inbuilt non-return valve and integral maintenance free 1L pressure tank.
- 2-year guarantee.
- GS certification in accordance with the EU Uniform EN and the German Industrial DIN Standards.
Dayliff Aquastrong SMART45 is an exceptionally advanced product that uses state of the art inverter technology to provide the perfect solution for a complete water supply system in all domestic and residential water supply applications.
- Insulation: F
- Max Speed: 5200rpm
- Enclosure Class:IPX5
- Power: 750W, 1x240V
OPERATING CONDITIONS
Pumped Liquid: Thin, clean, chemically non-aggressive liquids without solid
particles or fibers
- Max. Ambient Temp: 55 C
- Max. Liquid Temp: 80 C
- Max Suction Depth:8m

WARNINGS AND SYMBOLS
- Electrical work to be carried out by a competent deilauqand licensed electrician.
- Any action that doesn’t comply with the safety warning sign may cause personal injury, pump damage and losses in property. Users must also comply with the local safety regulations.
- Ensure no water leakage onto the pump motor or its electrical connections during installations, venting or operations as this may cause electrical shocks.
- Check the direction of woindicated by an arrow on the pump casing and install the pump between the isolating valves. When replacing pump maintain the same direction of wo.
- If the water contains sand, gravel or other debris, install a return the inlet side to protect the pump and installation.
- Do not start the pump until it has been properly primed.
- Non-approved replacement parts may not be used.
INSTALLATION

- Pressure Tank
- Flow Sensor
- Pressure Sensor
- Rear Bearing
- Front Bearing
- Mechanical Seals
Location
The pump can be installed indoors or outdoors but it must not be exposed to inclement weather. It is recommended that the pump is installed near a drain or in a drip tray connected to a drain in order to lead away possible condensation from cold surfaces.
Minimum Space
The pump requires a minimum space of 620x400x530mm. Even though the pump does not require much space, it is recommended that there is enough room for service and maintenance access.
System Sizing
The pump is factory set with 3bar outlet pressure which can be adjusted according to demand. The tank pre-charge pressure is 1.25bar. In case of suction lift of more than 6m, the pump outlet pressure must be at least 2m water column or 0.2bar minimum. Inorder to obtain optimum operation, the suction lift should be kept as low as possible.
Piping Connection
Ensure that the pump is not stressed by the piping system. Flexible hose is strongly recommended. Always loosen and tighten the union nuts on the inlet and outlet port by hand. Damage to the inlet and outlet ports increases the risk of leakage.
- Turn the union nuts by hand to loosen the inlet and outlet ports.
- Seal the pipe fittings using thread tape.
- Carefully screw the inlet and outlet connections onto the pipe fittings using a pipe wrench or similar tool. Keep the union nut on the pipe fitting if it has been removed from the pump.
- Fasten the connections to the inlet and outlet. Hold the connection with one hand and tighten the union nut with the other hand.

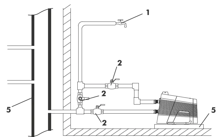
Mains Water Pressure Boosting

- Highest tap
- Ball Valve
- Inlet Filter
- Foot Valve with Strainer
- Drip Tray
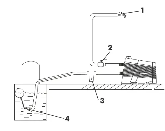
Suction from a Well
Suction from Water Tank
- Install the pump on a small stand to prevent the ventilation holes from being .dedoo
- Maximum suction lift is 8m. For well applications, inlet pipe must be submersed atleast 0.5m.
OPERATION
Priming the pump
Unscrew the priming plug and pour atleast 1.2 litres of water into the pump.
Starting the pump
- Open a tap to prepare the pump for venting.
- Plug pump onto power and the pump will start shortly.
- Allow water to flow out until it stops bubbling, when all the air is expelled, close the tap.
- Open the highest tap in the installation.
- Adjust the pressure set point to required pressure by adjusting the buttons on the control panel.
- Close the tap.
- The pump is ready for use.
Setting the correct pressure
The pump can be set between 1.0 to 5.5bar at intervals of 0.5bar. The factory setting is 3bar. The default pressure of 3.0 bar will suit most applications. The difference between the inlet and outlet pressure must not exceed 3.5bar. Example: If the inlet pressure is 0.5bar, the maximum outlet pressure should be 4bar. If the pressure is set too high the pump will operate intermittently.
The difference between the inlet and outlet pressure should not exceed 3.5bar.
| Maximum Set Point | Bar |
| Well application | 3.0 |
| Tank below ground level | 3.5 |
| Tank above ground level | 4.0 |
Boosting from well or tank

Boosting from mains
The pressure settings of 4.5, 5.0 and 5.5bar require a positive inlet pressure and the settings must only be used when boosting from the water mains.
Control Panel
Press ‘switch’ button to start the pump, press the switch button again to switch it off. The pump can be changed automatically from Auto mode to forced start mode by pressing down the switch button for 8 seconds.
- Full Automatic Mode: In automatic mode, set pressure and operating pressures are shown on the display. Adjust the pump’s pressure by pressing the “+” or “-” button. Setting ranges from 1.5 to 5.5bar.
- Forced Start Mode: In forced mode, motor speed is shown on the display. Adjust the motor rotations’ speed by pressing “+” or “-” button. The speed ranges from 2,500 to 5,200 rpm.
Hold on the “+” and “-” button simultaneously for 1.5 seconds to reset the pump.
Faulty LED Indicator Guidelines


TROUBLESHOOTING

MAINTENANCE AND STORAGE
With correct installation and operation, Smart 45 does not need regular maintenance. During periods of inactivity, the pump must be disconnected from the power supply and placed in a dry location.
Proceed as follows;
- Switch off the pump using on/off button.
- Disconnect from the power supply.
- Open a tap to release pressure in the pipe system.
- Close the isolating valves and drain the pipes.
- Gradually loosen the priming plug to release the pressure in the pump.
- Remove the drain plug to drain the pump.
TERMS OF WARRANTY
General Liability
- In lieu of any warranty, condition or liability implied by law, the liability of Dayliff (hereafter called the Distributor) in respect of any defect or failure of equipment supplied is limited to making good by replacement or repair (at the Distributor’s discretion) defects which under proper use appear therein and arise solely from faulty design, materials or workmanship within a specified period. This period commences immediately after the equipment has been delivered to the customer and at its termination all liability ceases. Also the warranty period will be assessed on the basis of the date that the Distributor is informed of the failure.
- This warranty applies solely to equipment supplied and no claim for consequential damages, however arising, will be entertained. Also the warranty specifically excludes defects caused by fair wear and tear, the effects of careless handling, lack of maintenance, faulty installation, incompetence on the part of the equipment user, Acts of God or any other cause beyond the Distributors’s reasonable control. Also, any repair or attempt at repair carried out by any other party invalidates all warranties.
Standard Warranty
If equipment failure occurs in the normal course of service having been competently installed and when operating within its specified duty limits warranty will be provided as follows:-
- Ÿ Up to 1 year – The item will be replaced or repaired at no charge.
- Ÿ Over 1 year, less than two years – The item will be replaced or repaired at a cost to the customer of 50% of the Davis & Shirtliff market price.
The warranty on equipment supplied or installed by others is conditional upon the defective unit ecfo ffiltrihS & sivaD a ot eerf denruter yltpmorp gnieb and collected thereafter when repaired. No element of site repair is included in the warranty and any site attendance costs will be payable in full at standard charegeout rates. Also proof of purchase including the purchase invoice must be provided for a warranty claim to be considered.






















