
DAYLIFF DSD Submersible Borehole Pump Installation Guide

© Davis & Shirtliff Ltd 2020
Contents herein are not warranted
Congratulations on selecting a Dayliff DSD borehole Pump. They are manufactured to the highest standards and if installed and operated correctly will give many years of efcient and trouble free service. Careful reading of this Installation Manual is therefore important, though should there be any queries they should be referred to the equipment supplier.
1. PUMP SPECIFICATIONS


PUMP
Dayliff DSD range of Submersible Multistage centrifugal pumps are specially designed for domestic and small scale water supply from wells and boreholes. Material of construction include polycarbonate impellers and diffusers, cast iron delivery and suction chambers and AISI 304 stainless steel pump housing, shaft and shaft coupling. These quality materials together with the polycarbonate impellers provide the pumps with excellent sand handling capabilities for a longer life. DSD 3/7, 3/13 and 3/18 are supplied complete with 30m cable and control box.
MOTOR
The pump is coupled to a sealed liquid cooled 2-pole asynchronous squirrelcage motor constructed of stainless steel. Single phase motors should be supplied with purpose designed Dayliff SCM control boxes for operation and protection against overload, dry running and over/under voltage. Three phase motors require a remote DOL starter; A DAYLIFF SCT electronic Pump Controller is recommended for comprehensive pump control including low level, motor overload and irregular power supply protection.
Enclosure Class: IP68
Insulation Class: B
Speed: 2850rpm
OPERATING CONDITIONS
Pumped liquid: Thin, clean, chemically non-aggressive liquids with a max. sand content of 0.25%
0 Max. Water temperature: +35 C
Max. immersion depth: 150m
Min. borehole diameter: 110m
PUMP DATA


2. DELIVERY & STORAGE
i) Delivery
DAYLIFF DSD pumps are supplied from the factory in proper packing in which they should remain until they are to be installed. During unpacking and prior to installation, care must be taken when handling the pump to ensure that misalignment does not occur due to bending. The cable and control box should be checked to ensure they are intact before installation.
ii) Storage and Handling
The pump should not be exposed to direct sunlight. If the pump has been unpacked, it can be stored either horizontally if adequately supported as shown in Fig 1. or vertically to prevent misalignment of the pump. Ensure that the pump does not roll or fall over.

3. PUMP ACCESSORIES
i) Delivery Pipe
The delivery pipe should be matched to the pump outlet unless the installation demands. A flexible delivery hose may be used for the majority of applications while G1 pipes in 6m or 3m lengths may be used where the pump is installed at greater depths and pumping to higher heads.
ii) Electric Cable
Proper selection of power cables should be done in accordance to standard sizing table. The cable should be checked for physical damage arising from transport and storage if damaged, they should be replaced before installation.
Do not lift or lower the pump by using power cables, otherwise damage will occur.
iii) Wellhead
A robust sealed well head plate should be fitted on the borehole top to prevent borehole contamination, a DAYLIFF well head assembly being recommended . The assembly includes a delivery outlet with isolating valve and test tee as well as drop cable entry and optional provision for low level electrode cables and an airline to measure borehole water depth.

4. ELECTRICAL CONNECTIONS
i) General Information
Before starting work on the pump, make sure that the electricity supply has been switched off and that it cannot be accidentally switched on.
The electrical connection should be carried out by an authorised electrician in accordance with local regulations.
Correct earthing for all borehole pump installations is essential for safety and pump motor protection. Consult a licensed electrician for advice on requirements.
Correct connection of terminals and identication of the start, run and common windings is essential or else the motor will burn out. Extra care must therefore be taken when connecting and if in doubt the pump supplier should be consulted.
- The required voltage quality for DAYLIFF DSD motors measured at the motor terminals is -10%/+10% of the nominal rated voltage during continuous operation including variations in the supply voltage and cable losses.
- All motors must be fitted with a mains isolator and coarse current protection in the form of an MCB or fuse. Coarse current rating should be approximately 3X maximum rated motor current.
- DSD3/7, 3/13 and 3/18 are supplied with control unit and should be installed with a Dayliff AVS.
- Dayliff SCM/SCT electronic pump controllers are recommended for comprehensive pump protection of the other models.
- Generally recommended unless water availability is assured is low level protection to prevent the pump running dry. Conventionally this is provided by a relay connected by cable to sensors in the borehole water, though wireless electronic protection is also available.
- DSD motors can be used with inverters for power by DC sources, particularly solar modules and also variable speed operation. Further information can be obtained from the pump supplier if there is a particular installation requirement.


5. INSTALLATION
i) Pump Application
- Different pump models are available and the pump selected must be matched to the well output to provide optimal operating performance. Where installation is in a borehole refer to the borehole drillers report in consultation with a borehole installation specialist. As a rule pump output should not exceed 65% of maximum tested borehole yield.
- Minimum Borehole Diameter -110mm.
- Maximum Pump Immersion Depth – 150m.
- Pumped liquid should be clean, thin and non-explosive containing no solid particles or fibres. Sand content should not exceed 0.25% or else pump life will be reduced and any warranties will be invalidated.
- Liquid temperature should not exceed 35 C in order to preserve rubber components. Also for high temperatures one motor size larger should be fitted to prolong motor life due to high operating temperatures according to deration factors.
- Pumps can be installed either vertically or horizontally, though if installed horizontally the discharge outlet should never fall below the horizontal plane. For all horizontal installations a flow sleeve should be used and also there should be a minimum of 0.5m water depth above the pump to prevent the formation of a vortex.
- If the pump is installed in a well or in open water with no water flow past the motor it is important that a flow sleeve is fitted to enhance motor cooling.

Never allow the pump to operate dry, without water.
If a plastic delivery pipe is used a steel or nylon rope to hook the pump is required during lowering and lifting.
ii) Pump Position
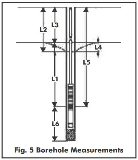
Borehole Measurement Parameters

L1. Immersion depth below static water level
L2. Depth to dynamic water level (DWL)
L3. Depth to static water level (SWL)
L4. Draw down. This is the difference between the dynamic and the static water levels
L5. Installation depth
L6. Distance of pump from well bottom
The immersion depth should not exceed 80m for the smaller 1phase pumps and 150m for larger pumps and be at least 3m above the borehole bottom
- When positioning the pump it is important to ensure adequate motor cooling through water flow past the motor.
- It is recommended that the complete pump is submerged at least 3m below the dynamic water level and if possible the pump should be installed at least 3m from the bottom of the borehole to prevent silting damage.
iii) Pump Lowering
For shallow boreholes (less than 50m) a manual tripod arrangement can be used while a more elaborate lowering mechanism may be required for deeper boreholes. When moving the pump the following procedures should be followed:-
- Before pump lowering it is important to check well depth and straightness to ensure there is unobstructed passage. The pump shall be carefully lowered into the well and if an obstruction is encountered the pump should be removed and the cause investigated to avoid pump or cable damage.
- Fit the first starter pipe into the pump outlet and ensure a tight leak free joint while the pump is on the surface. The thread on the starter pipe should not be longer than the threads in the pump outlet or it will interfere with operation of the non-return valve.
- Screw the starter pipe into a robust adaptor hook attached to the winch or tripod cable and lower the pump and pipe section into the borehole. When fully lowered hold the pipe below the socket with a clamp, disconnect the lifting hook and attach to the next pipe length ensuring a water tight connection. Ensure the pipe joint is fully home and repeat until all pipes are lowered.
- While the pipes are being lowered bind the drop cable, low level cable (if fitted), and airline (if fitted) to the drop pipes with a PVC cable clip at 2m centres.
6. PUMP OPERATION
When the pump has been connected correctly and is submerged in water proceed as follows:-
- The pump should be run with the discharge valve restricted to approximately 1/3 of its maximum volume of water. Observe if there are impurities in the water and then gradually open the valve until the water is observed to be clear. If the water continues to be silted the pump is installed too low in the borehole it should be raised until it is in a position of clear water availability. Alternatively a borehole problem is indicated and the driller should be consulted.
- As the valve is being opened, the water output should be monitored to ensure that the pump output does not exceed the borehole capacity as indicated by the pump starting and stopping on the low level relay (if fitted) or uneven water flow at the outlet. If this occurs the pump should either be changed to one of suitable specification or throttled on the outlet valve to a sustainable output. Note that the dynamic water level should always be above the suction interconnector of the pump.
- After the water flow settles the pump overload relay should be set. This is carried out by reducing the overload setting to the cutout condition and then increasing by +10%.
- During regular operation the pump operating current should be monitored and if a substantial change is noted (±10%) it should be investigated by a service technician. Pump output should also be monitored and if the flow rate or consistency changes investigations should be made.
- In order to obtain maximum pump life the number of starts should be controlled and should not exceed 30 per hour. It is also necessary to start the pump at least monthly to prevent seizure.
- The controller should be connected by a qualified technician and the pump must be connected according to the wiring diagram.
7. MAINTENANCE
- No regular maintenance is required though periodically, recommended every 3 months, the installation should be inspected to check operating parameters including running current, water output, closed head pump pressure and water quality as well as switch gear condition. Rectification should be carried out as necessary.
- Interpretations of various operating problems are given in the Trouble shooting guide.
- Also important is a periodic check of motor winding and insulating resistance, especially if there is an abnormal operating current or voltage reading. For insulating resistance a satisfactory reading is >100MOhm and if below this some deterioration in motor winding insulation, cable integrity or cable joint security is indicated. Generally it is satisfactory to keep running the motor until resistance drops to below 0.5MOhm when the equipment should be removed and checked.
- As a rule periodic lifting and checking of borehole installations is not recommended until an operating fault is noted.
8. TROUBLE SHOOTING GUIDE






9. TERMS OF WARRANTY
i) General Liability
- In lieu of any warranty, condition or liability implied by law, the liability of Davis & Shirtliff (hereafter called the Company) in respect of any defect or failure of equipment supplied is limited to making good by replacement or repair (at the Company’s discretion) defects which under proper use appear therein and arise solely from faulty design, materials or workmanship within a specified period. This period commences immediately after the equipment has been delivered to the customer and at its termination all liability ceases. Also the warranty period will be assessed on the basis of the date that the Company is informed of the failure.
- This warranty applies solely to equipment supplied and no claim for consequential damages, however arising, will be entertained. Also the warranty specifically excludes defects caused by fair wear and tear, the effects of careless handling, lack of maintenance, faulty installation, incompetence on the part of the equipment user, Acts of God or any other cause beyond the Company’s reasonable control. Also, any repair or attempt at repair carried out by any other party invalidates all warranties.
ii) Standard Warranty
General Terms
If equipment failure occurs in the normal course of service having been competently installed and when operating within its specified duty limits warranty will be provided as follows:-
- Up to 1 year – The item will be replaced or repaired at no charge.
- Over 1 year, less than two years – The item will be replaced or repaired at a cost to the customer of 50% of the Davis & Shirtliff market price.
The warranty on equipment supplied or installed by others is conditional upon the defective unit being promptly returned free to a Davis & Shirtliff ofce and collected thereafter when repaired. No element of site repair is included in the warranty and any site attendance costs will be payable in full at standard chargeout rates. Also proof of purchase including the purchase invoice must be provided for a warranty claim to be considered.

Read More About This Manual & Download PDF:



















