WILO TWI 5 submersible motor pump
General
About this document
These Installation and Operating Instructions form an integral part of the unit. They must be kept close to the unit and in readiness whenever required. Precise observance of these instructions is a pre-condition for use of the unit for the intended purpose and for its correct operation. These Installation and Operating Instructions conform to the relevant version of the equip-ment and the underlying safety standards valid at the time of going to press.
Safety
These instructions contain important information which must be followed when installing and operating the pump. It is therefore imperative that they be read by both the installer and the operator before the pump is installed or operated. Both the general safety instructions in this section and the more specific safety points in the following sections should be observed.
Instruction symbols used in this operating manual
Symbols
General danger symbol.
Hazards from electrical causes.
NOTE: ….
Signal words:
DANGER! Imminently hazardous situation. Will result in death or serious injury if not avoided.
WARNING! Risk of (serious) injury. ‘Warning’ implies that failure to comply with the safety instructions is likely to result in (severe) personal injury.
CAUTION! Risk of damage to the pump/installation. ‘Caution’ alerts to user to potential product damage due to non-compliance with the safety instructions.
NOTE! Useful information on the handling of the product.
It alerts the user to potential difficulties.
Personnel qualification
The personnel installing the pump must have the appropriate qualification for this work.
Risks incurred by failure to comply with the safety instructions
Failure to comply with the safety precautions could result in personal injury or damage to the pump or installation. Failure to comply with the safety precautions could also invalidate any claim for damages.
In particular, failure to comply with these safety instructions could give rise, for example, to the following risks:
- Failure of important pump or system functions,
- Personal injury due to electrical, mechanical and bacteriological causes.
Safety instructions for the operator
The relevant accident precaution regulations must be observed.
Potential dangers caused by electrical energy must be excluded. Local or general regulations [e.g. IEC, VDE, etc.] and directives from local energy supply companies are to be followed.
Safety instructions for inspection and assembly
The operator must ensure that all inspection and assembly work is carried out by authorised and qualified specialists who have carefully studied these instructions.
Work on a pump or installation should only be carried out once the latter has been brought to a standstill.
Unauthorised modification and manufacture of spare parts
Changes to the pump/machinery may only be made in agreement with the manufacturer. The use of original spare parts and accessories authorised by the manufacturer will ensure safety. The use of any other parts may invalidate claims invoking the liability of the manufacturer for any consequences.
Improper use
The operating safety of the pump or installation can only be guaranteed if it is used in accordance with paragraph 4 of the operating instructions. All values must neither exceed nor fall below the limit values given in the catalogue or data sheet.
Transport et stockage
When receiving the material, check that there has been no damage during the transport. If any defect has been stated, take the required steps with the carrier within the allowed time.
CAUTION! If the delivered material is to be installed later on, store it in a dry place and protect it from impacts and any outside influences (humidity, frost etc…).
Handle the pump carefully so as not to damage the unit prior to installation.
Application
CAUTION! Possible damage of the pump.
This pumps are intended for use with water only. Series TWI5 submersible pumps are suitable for the application areas fallowing:
- For not very deep wells, tank, cistern.
- Pumping and water distribution for:
domestic use (potable water supply) agricultural use (watering, irrigation), - Pumped liquids: non polluted, potable, cold, rain waters.
The pump is not suitable for continuous use, e.g. for the operation of fountains.
(Continuous operation > 2 hrs reduces the lifetime of the pump).
The pump must not be used for emptying swimming pools.
Product
Type key

Technicals characteristics
- Maximum operating pressure: see rating platee
- Liquid temperatures max.: 40 °C
- Power P1: see rating plate
- Current: see rating plate
- Speed of rotation: see rating plate
- Protection index motor: IP68
- Protection index switchbox (single phase): IP54
- Insulation class: F
- Frequencie: 50 Hz
- Voltage Single phase: 230V (± 10 %)
Tree phase: 400V (± 10 %) - Cable length: 20m
- Max. starts per hour: 40
- Maximum immersion depth.: 20m
- Maximum grain size.: 2mm
- Maximum sand content: 50g/m3
Outline and pipe connections: (See Fig. 1)
Scope of Supply
- Single phase pump with connecting cable
(H07RN-F) and switchbox with 2 m mains cable and shock-proof plug,
or three phase pump with connecting cable
(H07RN-F) and a three cable end. - Carrying rope 20m.
- Installation and operating instructions.
- Security instructions.
Accessories
Accessories must be ordered separately.
- Insulation valve
- Non return valve
- Command box and protection
- Circuit breaker
- Float switch
- Overflow sound alarm
- Fluid control
- Pressure switch
- Floating tapping device:
- suction coarse strainer,
- suction fine strainer
For specifications and descriptions of accessories, see catalogue/data sheet.
Product description (Fig. 2, 3, 4, 5, 6 and 7)






- Non return valve
- Valve
- Float switch
- Connection box (single-phase)
- Carrying rope
- Fluid control
- Supply cable
- Float in low position
- Float in high position
- Pressure switch
- Connection box (three phase)
- Floating tapping device
- Draining air hole to realize
- Suction strainer
Design of pump and motor
The submersible pump is of the multi-stage, centrifugal design.
All parts in contact with the flow medium are of either corrosion-resistant material.
The electric motor is protected of the hydraulic part pump by two mechanicals seal and a oil chamber for maintained the tightness of the motor.
The pumps are supplied with a carrying rope. The pump base contains a suction strainer.
The SE type model are fitted with a suction sup-port to allow the connection of floating or fixed suction filters, together with a stand including 4 vibration absorbers for installation on the ground.
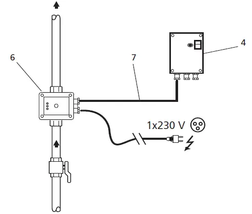
The single-phase motor pumps (EM) are delivered ready for connection with a switchbox. It contains:
- Cut-out switch with indicator light,
- Built-in over current trip device in manual reset,
- Motor capacitor,
- Connection for a float switch (Low-water – / Dry running protection),
- Cable connected to the terminal box as well as to the pump,
- Connected 1 m long mains cable with shock-proof plug.
The motor is fitted with a winding protection which automatically switches the motor off if it overheats and on again once it has cooled down. Three-phase pumps (DM) are supplied with bare cable lead ends.
The switch box can be ordered from the Wilo range or provided by the customer.
It must be fitted with a motor safety switch. Once the over current protective device has been triggered the fault must be reset by operating the cut-out switch.
Installation – Mounting
DANGER! Installation and electrical work in compliance with any local codes and by qualified personnel only !
WARNING! Bodily injury
Existing regulations for the prevention of accidents must be observed.
WARNING! Electrical shock hazard
Dangers caused by electrical energy must be excluded.
National Electrical Codes, local codes and regulations must be followed.
Installation
CAUTION! Possible damage of the pump
Do not transport , hang or suspend the pump by the cable.
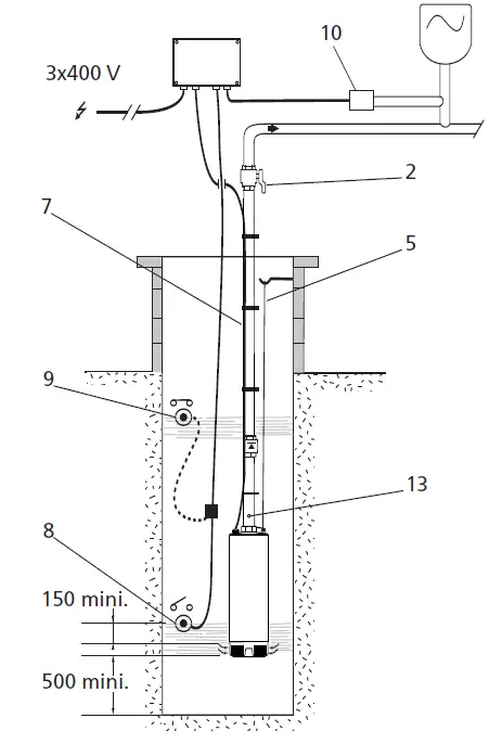
- The pump must be installed in frost-free place.
- Fix the rope in the hole of fixing in the superior part of the pump.
- Connect the delivery pipe work.
- Fix the supply cable without constraint to the delivery pipe with the appropriate bindings.
- Lower the pump with the help of the cable and support it so that it is always immersed in water, maximum depth: 20 m and in suspension.
- The pump can run in a horizontal position.
- To ensure that the well diameter is always consistent and allows a free lowering of the unit.
- To centre the pump in the middle of the well.
- To ensure that the pump, the electric cable and the rope, in operation, could not rubb against the well sides or any other obstacle.
- In final position, the unit can be hung 0.50 at the least over the well bottom.
- To ensure that the minimum water height is always 0.15 m over the suction sieve of the pump (pump in operation).
- If the installation is in open air, protect the delivery pipe work, the electric box, valves, flap, electric controls from frost.
- If a floating tapping device (suction filter with hose connection) is used take care to ensure that the length of the hose is adapted to the structural conditions of the cistern. To prevent air from entering, the filter basket must no reach the surface of the water (see Fig. 8).
- The SE-type model can be installed out of water, because the motor is cooled by the fluid (see Fig. 7).
- The box delivered with the single-phase pumps allows the dry run safety through a float switch adaptation (see § 7.3) or an on-off control through a pressure switch connection (see Fig. 4).
- Boxes delivered with the three phase pumps allows the dry run safety through a float switch adaptation and an on-off control through a pressure switch connection (see Fig. 5).
Electrical connections
CAUTION! Possible damage of the pump During the use of SE pump, fill the section hose with water before starting the pump (see Fig. 8).
- The pipework diameter cannot be inferior to the pump’s one on rigid threaded steel pipework or a semi rigid polyethylene high density pipework.
- In the case of a semi rigid pipework the pump must be supported by a cable fixed to the lifting ring situated on the discharge casing.
- The installation of a non return valve in pump outlet and before the isolation valve is obligator.
Electrical connections
WARNING! Electrical shock hazard
The electrical connections and the inspections have to be done by a qualified electrician and comply with the applicable local standards.
- Control the kind of current and the network voltage.
- Observe the specifications of the pump name-plate.
- Fuse: 16 A, for line protection
- Not forget the earthing.
- The three-phase pump is delivered with a 20 m long cable to be connected with a protection mechanism or a connection box (electrical connection: see installation and operating instructions of the switching device).
- The electric protection of the pump with three phase motor is obligatory.
- The pump with single-phase motor is cabled and delivered with a capacitor box and a thermic protection. This box has to be connected to the supply network with the cable provided to that effect.
- Connection of a float switch or a pressure switch. Disconnect the pump from the network before opening the box. Remove the strap and connect in its place the feed cable of the on/off switch and the earth cable if provided. Please refer to the terminal diagram inside the terminal box for details of the electrical connection.
- Levels regulation : to ensure that in off position, the water level is always 150 mm minimum over the suction sieve (see Fig. 3).
Starting up
Sense of rotation
NOTE: The pressure measured at the borehole outlet with closed valve corresponds to the head of the pump at zero output minus the height between ground level and water level.
Single-phase 230 V: No reverse risk
Three-phase 400 V: To determine the right sense of rotation of the unit, to compare the delivery pressure, and bear in mind that the right sense of rotation corresponds to the highest pressure. Or by measuring the pressure, delivery valve closed and compare it to the required one.
In case of reverse sense of rotation, interchange the two phase wires inside the box or circuit breaker.
Operation
CAUTION! Possible damage of the pump Never allow the pump to run dry or operate with the shut-off valve closed. The manufacturer’s guarantee does not cover damage to the pump caused by dry running.
- Once again check all the electric connections, electric protection, rating of the fuse(s).
- Measure the current in each phase and compare with the nominal values mentioned on the nameplate.
CAUTION! Possible damage of the pump
Do not exceed the nominal current of the motor.
- After being submerged, the pump should be switched on and off several times to allow it to be ventilated.
- It is necessary to realize a hole Ø3 in the piping (see Fig. 3 ) for to improve the air evacuation.
- Measure the power supply voltage with motor running.
NOTE: See 5.2 for allowed tolerance
Maintenance
DANGER! Before any operation, switch off the pump(s).
- If the sieve is obstructed, the flow rate decreases significantly, you must carry the pump back, and 9. Problems, causes and remediesdis-mantle the cover.
- The repairs on the pump and the modifications of the electric connection will be realized by a specialist or a after sales member only.
- It is advisable to mention the nameplate specifications at the time of a spare parts order.
Problems, causes and remedies
| Problems | Causes | Remedies |
| Pump does not start up | Inadequate voltage or voltage drop | Check voltage on start-up, an insuffi- cient cable cross-section can cause a voltage drop that prevents the motor from operating normally |
| Motor power cable break | Measure the resistance between phases. Re-assemble the pump if required and check the cable | |
| Motor protection ON | Check the current set on thermal relay and compare it to the mentioned value Important: if it trips repetitively, do not insist (look at the cause). Forcing the unit to operation can damage the motor (by overheating) in a very short time limit | |
| No output or a very low output | Very low voltage | Check the power supply at the switch box |
| The suction strainer is obstructed | Reassemble the pump, clear and clean it | |
| The valve is closed | Open the valve | |
| The sense of rotation is not correct (three-phase motor) | Interchange the two phase wires inside the switch box | |
| The non return valve is jammed in the close position | Dismantle and clean the non return valve | |
| No water or very low water level in well Check this level ; it must be at least 0.15 m above the sieve pump (during operating) | ||
| Very frequent starts of the pump | Pressure gauge contactor difference too Increase the gap between shutdown and low start-up | |
| Inadequate float set-up | Adjust float location to ensure an appro- priate time between pump ON/OFF | |
| Bladder tank capacity is tow low or insufficiently inflated | Check and adjust pressures (ON/OFF) Check tank inflation. This pressure must be 0.3 bar less than the pump starting pressure Increase capacity with an additionnal tank or change the tank | |
| The non return valve leaked | Clean or change the non return valve | |
CAUTION! Possible damage of the pump
A common cause of faults is a silted-up or choked pump. The pump without stand must hang sufficiently high above the bottom of the shaft that it is not possible for it to silt up.
On repeated trippings of the overload protector it will be necessary to have the pump checked by a specialist or by WILO customer services.
If no solution can be found, please contact your plumbing and heating specialist or your nearest Wilo Customer Service or representative.
Assembly – Disassembly
CAUTION! Be careful not to mix part.
Unplug the pump. (see FIG. 9a and 9b)

Spart parts
Spare parts are ordered via a local specialist dealer and/or Wilo customer service.
In order to avoid queries and incorrect orders, make sure to mention all data indicated on the rating plate when placing your order.
Subject to technical alterations!
EC – Declaration of conformity
Herewith, we declare that this product:
in its delivered state comply with the following relevant provisions:
EC-Machinery directive/98/37/EG
Electromagnetic compatibility – directive/89/336/EWG /92/31/EWG
Low voltage directive/73/23/EWG
Applied harmonized standards, in particular:/EN 809
EN 60034-1
EN 60204-1
EN 61000-3-2
EN 61000-3-3
WILOAG Nortkirchenstrar..e 100 44263 Dortmund Germany
T +49 231 4102-0
F +49 231 4102-7363 www.wilo.com
Wilo – International (Subsidiaries)
Austria
WILO Handelsges. m.b.H. 1230 Wien
T +43 5 07507-0
F +43 5 07507-15 [email protected]
Azerbaijan
WILO Caspian LLC
1014 Baku
T +994 12 4992372
F +994 12 4992879 [email protected]
Belarus
WILOBel 000
220035 Minsk
T +375 17 2503393
F +375 17 2503383 [email protected]
Belgium
WILD NV/SA
1083 Ganshoren
T +32 2 4823333
F +32 2 4823330
[email protected]
Bulgaria
WILD Bulgaria EODD 1125 Sofia
T +359 2 9701970
F +359 2 9701979 [email protected]
Canada
WILD Canada Inc. Calgary. Alberta T2A5L4 T/F +1 403 2769456 [email protected]
China
WILD SALMSDN (Beijing) Pumps System Ltd. 101300 Beijing
T +86 10 80493900
F +86 10 80493788 [email protected]
Spain
WILO lberica 5.A.
28806 Alcala de Henares (Madrid)
T +34 91 8797100
F +34 91 8797101
[email protected]
Sweden
WILO Sverige AB
35240 Viixjo
T +46 470 727600
F +46 470 727644 [email protected]
Switzerland
EMB Pumpen AG
4310 Rheinfelden
T +41 61 8368020
F +41 61 8368021
[email protected]
Turkey
WILO Pompa Sistemleri San. ve Tic, A..
34530 Istanbul
T +90 216 6610211
F +90 216 6610214 [email protected]
Ukraina
WILO Ukraina t.o.w. 01033 Kiew
T +38 044 2011870
F +38 044 2011877 [email protected]
USA
WILO-EMU LLC Thomasville. Georgia 31758-7810
T +1 229 584 0098
F +1 229 584 0234
[email protected]
Uzbekistan
700046 Taschkent
T /F +998 71 1206774 i[email protected]
March 2006





















