
DSD Submersible Borehole Pump
Instruction Manual
DSD
SUBMERSIBLE BOREHOLE PUMP
Installation & Operating Manual
© Davis & Shirtliff Ltd 2020 Contents herein are not warranted
Congratulations on selecting a Dayliff DSD borehole Pump. They are manufactured to the highest standards and if installed and operated correctly will give many years of efficient and trouble-free service. A careful reading of this Installation Manual is therefore important, though should there be any queries they should be referred to the equipment supplier.
PUMP SPECIFICATIONS

PUMP
Dayliff DSD range of Submersible Multistage centrifugal pumps are specially designed for domestic and small-scale water supply from wells and boreholes. Material of construction includes polycarbonate impellers and diffusers, cast iron delivery and suction chambers, and AISI 304 stainless steel pump housing, shaft, and shaft coupling. These quality materials together with the polycarbonate impellers provide the pumps with excellent sand handling capabilities for longer life. DSD 3/7, 3/13, and 3/18 are supplied complete with 30m cable and control box.
MOTOR
The pump is coupled to a sealed liquid-cooled 2-pole asynchronous squirrel-cage motor constructed of stainless steel. Single-phase motors should be supplied with purpose-designed Dayliff SCM control boxes for operation and protection against overload, dry running, and over/under voltage. Three-phase motors require a remote DOL starter; A DAYLIFF SCT electronic Pump Controller is recommended for comprehensive pump control including low level, motor overload, and irregular power supply protection.
Enclosure Class: IP68
Insulation Class: B
Speed: 2850rpm
OPERATING CONDITIONS
Pumped liquid: Thin, clean, chemically non-aggressive liquids with a max. sand content of 0.25%
Max. Water temperature: +350C
Max. immersion depth: 150m
Min. borehole diameter: 110m
PUMP DATA
| Model | Power | Voltage (V) | Current (A) | Istat I | DN (”) | Dimensions (mm) | Weight (kg) | ||
| kW | HP | A | D | ||||||
| DSD 3/7 | 0.37 | 0.5 | 1×240 | 3.7 | 4 | 1¼ | 410 | 717 | 10 |
| DSD 3/13 | 0.75 | 1 | 6.2 | 4 | 568 | 920 | 14 | ||
| DSD 3/18 | 1.1 | 1.5 | 8 | 4 | 673 | 1065 | 17 | ||
| DSD 3/30 | 2.2 | 3 | 15 | 4 | 1047 | 1564 | 27 | ||
| DSD 3/40 | 3 | 4 | 3×415 | 8 | 7 | 1341 | 1923 | 32 | |
| DSD 3/50 | 4 | 5.5 | 10 | 7 | 1604 | 2261 | 38 | ||
| DSD 5/24 | 2.2 | 3 | 1×240 | 15 | 4 | 1½ | 957 | 1474 | 26 |
| DSD 5/40 | 4 | 5.5 | 3×415 | 10 | 7 | 1454 | 2111 | 36 | |
| DSD 5/56 | 7.5 | 10 | 17 | 6.5 | 1951 | 2787 | 47 | ||
| Model | Motor | Voltage (V) | Current (A) | Istat I | DN (”) | Dimensions (mm) | Weight (kg) | ||
| kW | HP | A | D | ||||||
| DSD 8/23 | 3 | 4 | 3x415V | 8 | 6.9 | 2 | 1093 | 1675 | 28 |
| DSD 8/33 | 5.5 | 7.5 | 13 | 6.3 | 1586 | 2264 | 35 | ||
| DSD 8/45 | 7.5 | 10 | 17 | 6.5 | 1955 | 2791 | 49 | ||
i) Delivery
DAY LIFE DSD pumps are supplied from the factory in proper packing in which they should remain until they are to be installed. During unpacking and prior to installation, care must be taken when handling the pump to ensure that misalignment does not occur due to bending. The cable and control box should be checked to ensure they are intact before installation.
ii) Storage and Handling
The pump should not be exposed to direct sunlight. If the pump has been unpacked, it can be stored either horizontally if adequately supported as shown in Fig 1. or vertically to prevent misalignment of the pump. Ensure that the pump does not roll or fall over.
PUMP ACCESSORIES
i) Delivery Pipe
The delivery pipe should be matched to the pump outlet unless the installation demands it. A flexible delivery hose may be used for the majority of applications while G1 pipes in 6m or 3m lengths may be used where the pump is installed at greater depths and pumping to higher heads.
ii) Electric Cable
Proper selection of power cables should be done in accordance with the standard sizing table. The cable should be checked for physical damage arising from transport and storage if damaged, it should be replaced before installation
WARNING
Do not lift or lower the pump by using power cables, otherwise, the damage will occur.
iii) Wellhead
A robust sealed wellhead plate should be fitted on the borehole top to prevent borehole contamination, a DAYLIFF wellhead assembly being recommended. The assembly includes a delivery outlet with isolating valve and test tee as well as drop cable entry and optional provision for low-level electrode cables and an airline to measure borehole water depth.
ELECTRICAL CONNECTIONS
i) General Information
WARNING
Before starting work on the pump, make sure that the electricity supply has been switched off and that it cannot be accidentally switched on.
WARNING
The electrical connection should be carried out by an authorized electrician in accordance with local regulations.
WARNING
Motors
WARNING
Correct earthing for all borehole pump installations is essential for safety and pump motor protection. Consult a licensed electrician for advice on requirements. Correct connection of terminals and identification of the start, run, and common windings is essential or else the motor will burn out. Extra care must therefore be taken when connecting and if in doubt the pump supplier should be consulted.
- The required voltage quality for DAYLIFF DSD motors measured at the motor terminals is -10%/+10% of the nominal rated voltage during continuous operation including variations in the supply voltage and cable losses.
- All motors must be fitted with a mains isolator and coarse current protection in the form of an MCB or fuse. Coarse current rating should be approximately 3X maximum rated motor current.
- DSD3/7, 3/13, and 3/18 are supplied with a control unit and should be installed with a Dayliff AVS.
- Dayliff SCM/SCT electronic pump controllers are recommended for comprehensive pump protection of the other models.
- Generally recommended unless water availability is assured is low-level protection to prevent the pump from running dry. Conventionally this is provided by a relay connected by cable to sensors in the borehole water, though wireless electronic protection is also available.
- DSD motors can be used with inverters for power by DC sources, particularly solar modules, and also variable speed operation. Further information can be obtained from the pump supplier if there is a particular installation requirement.

INSTALLATION
i) Pump Application
- Different pump models are available and the pump selected must be matched to the good output to provide optimal operating performance. Where installation is in a borehole refer to the borehole drillers report in consultation with a borehole installation specialist. As a rule pump output should not exceed 65% of the maximum tested borehole yield.
- Minimum Borehole Diameter -110mm.
- Maximum Pump Immersion Depth – 150m.
- The pumped liquid should be clean, thin, and non-explosive containing no solid particles or fibers. Sand content should not exceed 0.25% or else pump life will be reduced and any warranties will be invalidated.
- The liquid temperature should not exceed 350C in order to preserve rubber components. Also for high temperatures, one motor size larger should be fitted to prolong motor life due to high operating temperatures according to duration factors.
- Pumps can be installed either vertically or horizontally, though if installed horizontally the discharge outlet should never fall below the horizontal plane. For all horizontal installations, a flow sleeve should be used and also there should be a minimum of 0.5m water depth above the pump to prevent the formation of a vortex.

- If the pump is installed in a well or in open water with no water flow past the motor it is important that a flow sleeve is fitted to enhance motor cooling.
WARNING
Never allow the pump to operate dry, without water.
WARNING
If a plastic delivery pipe is used a steel or nylon rope to hook the pump is required during lowering and lifting.
ii) Pump Position
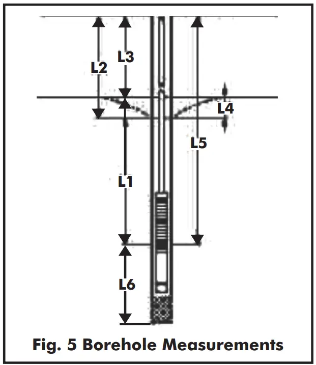
Borehole Measurement Parameters
L1.Immersion depth below static water level
L2.Depth to dynamic water level (DWL)
L3.Depth to static water level (SWL)
L4.Drawdown. This is the difference between the dynamic and the static water levels
L5.Installation depth
L6.Distance of pump from well bottom
NOTE
The immersion depth should not exceed 80m for the smaller 1phase pumps and 150m for larger pumps and be atleast 3m above the borehole botto
- When positioning the pump it is important to ensure adequate motor cooling through water flow past the motor.
- It is recommended that the complete pump is submerged at least 3m below the dynamic water level and if possible the pump should be installed at least 3m from the bottom of the borehole to prevent silting damage.
- iii) Pump Lowering For shallow boreholes (less than 50m) A manual tripod arrangement can be used while a more elaborate lowering mechanism may be required for deeper boreholes.
- When moving the pump the following procedures should be followed:Y
- Before pump lowering it is important to check well depth and straightness to ensure there is unobstructed passage. The pump shall be carefully lowered into the well and if an obstruction is encountered the pump should be removed and the cause investigated to avoid pump or cable damage.
Pump aowerire
- Fit the first starter pipe into the pump outlet and ensure a tight leak free joint while the pump is on the surface. The thread on the starter pipe should not be longer than the threads in the pump outlet or it will interfere with operation of the non-return valve.
- Screw the starter pipe into a robust adaptor hook attached to the winch or tripod cable and lower the pump and pipe section into the borehole. When fully lowered hold the pipe below the socket with a clamp, disconnect the lifting hook and attach to the next pipe length ensuring a water tight connection. Ensure the pipe joint is fully home and repeat until all pipes are lowered.
- While the pipes are being lowered bind the drop cable, low level cable (if fitted), and airline (if fitted) to the drop pipes with a PVC cable clip at 2m centres.
PUMP OPERATION
When the pump has been connected correctly and is submerged in water proceed as follows:-
- The pump should be run with the discharge valve restricted to approximately 1/3 of its maximum volume of water. Observe if there are impurities in the water and then gradually open the valve until the water is observed to be clear. If the water continues to be silted the pump is installed too low in the borehole it should be raised until it is in a position of clear water availability. Alternatively a borehole problem is indicated and the driller should be consulted.
- As the valve is being opened, the water output should be monitored to ensure that the pump output does not exceed the borehole capacity as indicated by the pump starting and stopping on the low level relay (if fitted) or uneven water flow at the outlet. If this occurs the pump should either be changed to one of suitable specification or throttled on the outlet valve to a sustainable output. Note that the dynamic water level should always be above the suction interconnector of the pump.
- After the water flow settles the pump overload relay should be set. This is carried out by reducing the overload setting to the cutout condition and then increasing by +10%.
- During regular operation the pump operating current should be monitored and if a substantial change is noted (±10%) it should be investigated by a service technician. Pump output should also be monitored and if the flow rate or consistency changes investigations should be made.
- In order to obtain maximum pump life the number of starts should be controlled and should not exceed 30 per hour. It is also necessary to start the pump at least monthly to prevent seizure.
- The controller should be connected by a qualified technician and the pump must be connected according to the wiring diagram.
MAINTENANCE
- No regular maintenance is required though periodically, recommended every 3 months, the installation should be inspected to check operating parameters including running current, water output, closed head pump pressure and water quality as well as switchgear condition. Rectification should be carried out as necessary.
- Interpretations of various operating problems are given in the Trouble shooting guide.
- Also important is a periodic check of motor winding and insulating resistance, especially if there is an abnormal operating current or voltage reading. For insulating resistance a satisfactory reading is >100MOhm and if below this some deterioration in motor winding insulation, cable integrity or cable joint security is indicated. Generally it is satisfactory to keep running the motor until resistance drops to below 0.5MOhm when the equipment should be removed and checked.
- As a rule periodic lifting and checking of borehole installations is not recommended until an operating fault is noted.
TROUBLE SHOOTING GUIDE
| Problem | Possible Cause | Solution |
| The pump does not run | The fuses are blown | Replace the blown fuses. If the replacements blow too, the electric installation and the submersible drop cable should be checked |
| The ELCB or the voltageoperated ELCB has tripped out | Re-set the circuit breaker | |
| No electricity supply | Contact the power supply provider | |
| The motor overload has tripped out | Reset the motor starter overload. If it trips again, check the voltage and if normal call service technician | |
| Motor starter/contactor defective | Repair the motor starter/contactor | |
| The control circuit has been interrupted or is defective | Check the electric installation | |
| The dry running protection has cut out the pump due to low water level | Check the water level. If it is in order check the water level electrodes/level switch | |
| The pumps submersible drop cable is defective | Repair/replace the pump/cable | |
| The protection relay has tripped due to power | Contact the power supply provider | |
| The pump runs but gives no water | The discharge valve is closed | Open the valve |
| No water or very low level in borehole | Increase the installation depth of the pump, throttle the pump or replace it with a smaller model to obtain reduced capacity | |
| The non-return valve is stuck in its shut position | Pull out the pump and clean or replace the valve | |
| The inlet strainer is choked up | Pull out the pump and clean the strainer | |
| The pump unit is defective | Replace or repair the pump | |
| Pipes are leaking | Replace pipes | |
| The draw down is larger than anticipated | Increase the installation depth of the pump, throttle the pump or replace it with a smaller model to obtain a smaller capacity | |
| The valves in the discharge pipes are partly closed or blocked | Check and clean or replace the valves and discharge pipe | |
| The non-return valve of the pump is partly blocked | Pull out the pump and check or replace the valve | |
| The pump and the riser pipe are partly choked by impurities | Pull out the pump. Check and clean or replace the pump if necessary | |
| The pump is defective | Repair or replace the pump | |
| Leakage in the pipework | Check and repair the pipe work | |
| Frequent starts and stops | The water level electrodes or level switches have not been installed correctly | Adjust the intervals of the electrodes to ensure suitable time between the cutting-in and cutting-out of the pump. If the intervals between stop/start cannot be changed utomatically, the pump capacity may be reduced by throttling the discharge valve changed |
| The non-return valve is leaking or stuck half open | Pull out the pump and clean or replace the non-return valve | |
| The pump is oversized for borehole | Increase the installation depth of the pump, throttle the pump or replace it with a smaller model to obtain a | |
| Long period until water flow after start | Riser pipe leakage | Check and repair riser pipe |
| Pump NRV faulty | Lift pump and rectify NRV | |
| Loud noise in the pipework | Water hammer | Fit a surface non-return valve and a diaphragm tank on the surface delivery piping |
| Mechanical damage to pump and motor | Pump cavitation due to low system head resulting in operation at insufficient pressure | Throttle the pump or replace it with a lower pressure alternative |
TERMS OF WARRANTY
i) General Liability
- In lieu of any warranty, condition or liability implied by law, the liability of Davis & Shirtliff (hereafter called the Company) in respect of any defect or failure of equipment supplied is limited to making good by replacement or repair (at the Company’s discretion) defects which under proper use appear therein and arise solely from faulty design, materials or workmanship within a specified period. This period commences immediately after the equipment has been delivered to the customer and at its termination all liability ceases. Also the warranty period will be assessed on the basis of the date that the Company is informed of the failure
- This warranty applies solely to equipment supplied and no claim for consequential damages, however arising, will be entertained. Also the warranty specifically excludes defects caused by fair wear and tear, the effects of careless handling, lack of maintenance, faulty installation, incompetence on the part of the equipment user, Acts of God or any other cause beyond the Company’s reasonable control. Also, any repair or attempt at repair carried out by any other party invalidates all warranties.
ii) Standard Warranty
General Terms
If equipment failure occurs in the normal course of service having been competently installed and when operating within its specified duty limits warranty will be provided as follows:
- Up to 1 year – The item will be replaced or repaired at no charge.
- Over 1 year, less than two years – The item will be replaced or repaired at a cost to the customer of 50% of the Davis & Shirtliff market price.
The warranty on equipment supplied or installed by others is conditional upon the defective unit being promptly returned free to a Davis & Shirtliff ofce and collected thereafter when repaired. No element of site repair is included in the warranty and any site attendance costs will be payable in full at standard chargeout rates. Also proof of purchase including the purchase invoice must be provided for a warranty claim to be considered.
www.davisandshirtliff.com
INS393B-02/20
INSTALLATION


















