BEC AirConnect 8231 5G CBRS Outdoor Router
Package Contents
- AirConnect® 8231 5G CBRS Outdoor Router x 1
- This Quick Installation Guide x 1
- M25 Cable Gland x 1
- Gigabit Power-over-Ethernet (PoE) Injector x 1
- Grounding Wire x 1
- Mounting Kit (#LP2S or #RT4R) x 1

Attention
- Do not remove, open, or repair the case yourself. Contact with your Internet Service Provider or have it repaired at a qualified service center.
- Use the supplied PoE (Power-over-Ethernet) injector for indoor only to connect to the device.
- It is mandatory to earth ground the device. Improper grounding not only could damage the unit but also all equipment connected to it.
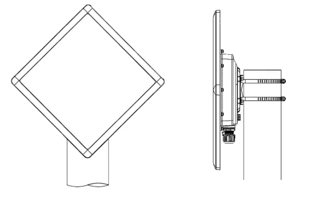
Hardware Overview
| CONNECTORS | DESCRIPTION |
| SIM / LED / Reset | Insert the SIM card into the SIM slot. Press the reset button to reset device or restore to factory default settings |
| Gigabit LAN(PoE) | Connect the supplied PoE injector, using an Ethernet cable. |
| LED | STATUS | DESCRIPTION |
|
1. Power | Orange | System is either in initial startup phase or has boot failure |
| Green | System is up and ready | |
| Off | No input power | |
|
2. LAN(PoE) | Orange | Transmission speed is at 10/100Mbps |
| Green | Transmission speed is at gigabit speed (1000Mbps) | |
| Blinking | Data being transmitted/received | |
| Off | No device is being connected | |
| 3. Internet | Orange | IP request failed or System is in initial booting phase |
| Green | IP connected and traffic is passing thru the device | |
|
4. 5G Signal Strength | Green | RSSI greater than -69 dBm. Excellent signal condition |
| Green Flashing quickly | RSSI from -81 to -69 dBm. Good signal condition | |
| Orange Flashing quickly | RSSI from -99 to -81 dBm. Fair signal condition | |
| Orange Flashing slowly | RSSI less than -99 dBm. Poor signal condition | |
| Orange | No signal. 5G/LTE module is still in connected mode | |
| Off | No 5G/LTE module or 5G/LTE module has failed | |
| 5. GPS | Green | GPS location is acquired |
| Off | GPS is not configured |
Mounting Kit Installation – Using LP2S Mounting Kit
Mounting Kit includes:
- Stainless Steel Bracket x 1
- Hose Clamp x 2
- M6x15 Screw x 4
- M6 Washer x 4
- Spring Washer x 4
Attach the Stainless-Steel Bracket to the Enclosure
Attach the stainless-steel bracket to the back of the BEC 5G CBRS Outdoor Router enclosure then use the supplied M6 Washer, Spring Washer, and M6x15 screws in the mounting kit to screw the bracket tightly.
Pole Mounting for Pole 1” ~ 3” (25.4 ~ 76.2mm)
- Use 1~3” hose clamps through the stainless-steel bracket

- Fix the stainless-steel bracket to the pole by using the supplied stainless hose clamps (1”~ 3”). Use a flat-head screwdriver to turn the head of the screw clockwise to tighten it

- The BEC 5G CBRS Outdoor Router must be directed towards the nearest base station

Proper Grounding to Complete the Installation
Attach the grounding wire to the BEC 5G CBRS Outdoor Router and tighten the screw.
Mounting Kit Installation – Using RT4R Mounting Kit
Mounting Kit includes:
- Articulation Pole x 1
- T-formed Bracket x 1
- M8x40 Screw Bolt x 1
- M8 Nut x 1
- M8 Washer x 1
- M6 Washer x 4
- M8 Spring Washer x 1
- M6 Spring Washer x 4
- M6x16 Screw x 4

For Wall Mount Installation, you’ll need:
- Wood Screw x 4
- Wood / Gyprock x 4

For Pole Mount Installation, you’ll need:
- W-Bar x 1
- Stainless Hose Clamp x 2
- M6x60 Screw Bolt x 2
- M6 Washer x 2
- M6 Spring Washer x 2

Attach the Articulation Pole to the Enclosure
Attach the articulation pole to the back of the BEC 5G CBRS Outdoor Router enclosure using the supplied M6 screws, M6 spring washers and M6x16 screws which are included in the mounting kit
Tool Advice :
Use #10 HEX. Wrench to tighten or loosen the bolt(s).
Note:
The flexible mounting kit can be adjusted in multiple angles to align with the base station for higher efficiency.
Wall or Pole Mount Installation
Mounting on Wall
Fix the T-formed Bracket to the wall by using wood screws and Gyprock plugs.
Mounting on a Pole between 1.5” to 2” (38.1~50.8mm)
Mounting on a Pole between 1.5” to 2” (38.1~50.8mm) Attach the T-formed Bracket and the W-bar to the pole then use M6x60 bolts, M6 spring washers and M6 washers to fix the mounting kit onto the pole.
WARNING
- The accept pole diameter is from 1.5” to 2”. If the diameter is larger than 2”, it can cause a failure very fast. If diameter is smaller than 1.5”, the clamping force might be insufficient in holding the device to the pole.Attach the T-formed Bracket and the W-bar to the pole then use M6x60 bolts, M6 spring washers and M6 washers to fix the mounting kit onto the pole.
- To minimize bolts crosstalk, the bolt should gradually increase the bolt load on both sides.
Mounting on a Pole between 1” to 3” (25.4 ~ 76.2mm)
- Use the stainless hose clamps through the T-formed Bracket
Fix the T-formed Bracket to the pole by using the supplied stainless hose clamps. Use a flat-head screwdriver to turn the head of the screw clockwise to tighten it.
Attach the BEC 5G CBRS Outdoor Router Enclosure to the Pole
Attach the articulation pole (BEC 5G CBRS Outdoor Router enclosure) to the T-formed bracket using the supplied M8 nut, M8 spring washer, M8 washer and M8x40 screw bolt
Proper Grounding to Complete the Installation
Attach the grounding wire to the BEC 5G CBRS Outdoor Router and tighten the screw.
Position Adjustment
Position Adjustment Adjust the BEC 5G CBRS Outdoor Router until it reaches the desire elevation and depression angle, then tight the M8 nut (see Attach the BEC 5G CBRS Outdoor Router Enclosure to the Pole for more information)Adjust the BEC 5G CBRS Outdoor Router until it reaches the desire elevation and depression angle, then tight the M8 nut (see Attach the BEC 5G CBRS Outdoor Router Enclosure to the Pole for more information)
Router Installation Instructions
Power on your BEC 5G CBRS Outdoor Router
Step 1: Assemble M25 cable gland
Step 2: Unscrew the LAN (PoE) cap then insert an outdoor Ethernet cable (RJ-45) through material A-D, and then connect the RJ-45 Ethernet cable into the LAN (PoE) port.

Step 3:
- Insert C at the back end of D
- clip B on C
- keep B close to D
- then tighten A

Step 4:
Insert the other end of outdoor Ethernet cable (RJ-45) to the supplied Gigabit PoE injector Data+Power port. Connect another Ethernet cable (RJ-45) directly to the Data port and the other end of cable to a switch or broadband router
IMPORTANT:
It is recommended to put the Gigabit PoE Injector on an UPS or Surge Protector. Use a grounding wire to ground your BEC 5G CBRS Outdoor Router is REQUIRED!
Set up your 5G/LTE Internet Connection
Step 1: Unscrew the cap of SIM card slot
Step 2: Slide the SIM card with the mental contacts (gold plate) facing down to the SIM slot then push it all the way in until you hear the clicking sound is recommended to use an industrial-grade SIM card.

Step 3: Screw the cap back tightly.

Step 4: Login to your BEC 5G CBRS Outdoor Router
The default IP of the router is 192.168.1.254 with subnet 255.255.255.0. Make sure the attached PC to this router is in the same subnet and has an IP address in the range between 192.168.1.1 ~ 192.168.1.253. Open a web browser and type http://192.168.1.254 in the URL address bar.
The login prompt will appear. Input the default username (admin) and password (admin) for Account type, Administrator. This username / password may vary by different Internet Service Providers. Please see the relevant sections of user manual for detailed instructions on how to configure your BEC 5G CBRS Outdoor Router.
Step 5: Use the Quick Start wizard for fast Internet connection setups.
- Change administration password: Setup a new password for “admin” account for device management. The default password is “admin”. Click Continue to go on to the next step. The password may vary by different Internet Service Providers.

- Time Zone Configuration: Enable and select your Time Zone then click Continue to go on to the next step

- 5G/LTE Internet Connection Setup: Fill out all relevant parameters provided by your ISP.
- Saving Configuration Settings: The Setup Wizard has completed. Click BACK to make changes or correct mistakes. Click NEXT to save settings. If the Internet connection is not ready, please double check your 4G/LTE settings again
Troubleshooting
- None of the LEDs are on when you turn on the Router.
- Check the connection between the adapter and the router. If the error persists, you may have a hardware problem. In this case you should contact technical support.
- You have forgotten your Router login and/or password.
- Try the default login and password, please refer to User Manual or consult with your Internet Service Provider. If this fails, you can restore your router to its factory settings by holding the Reset button on the back of your router for 6 seconds or more. *This username / password may vary by different Internet Service Providers.
- Can’t ping any PCs on the LAN.
- Check the LAN (PoE) LED on the Router. The LED should be on for the port that has a PC connected. If it is off, check the cables between your Router and the PC.
- Make sure you have uninstalled any software firewall for troubleshooting. Verify that the IP address and the subnet mask are consistent between the router and the workstations.
Product Support and Contact Information
Product Support and Contact Information
Most problems can be solved by referring to the Troubleshooting section in the User Manual. If you have other inquiries or need further technical support, please contact with your Internet Service Provider or visit us at www.bectechnologies.net.
Professional Installation Instructions
Installation Personal
This product is designed for specific application and needs to be installed by a qualified personal who has RF and related rule knowledge. The general user shall not attempt to install or change the setting.
Installation Location
The product shall be installed at a location where the radiating antenna can be kept 25 cm from nearby person in normal operation condition to meet regulatory RF exposure requirement.
External Antenna
Use only the antennas which have been approved by the applicant. The non-approved antenna(s) may produce unwanted spurious or excessive RF transmitting power which may lead to the violation of FCC limit and is prohibited.
Installation Procedure
Please refer to user’s manual for the detail.
Warning
Please carefully select the installation position and make sure that the final output power does not exceed the limit set force in relevant rules. The violation of the rule could lead to serious federal penalty.
FCC Statement
This equipment has been tested and found to comply with the limits for a Class B digital device, pursuant to FCC Part 15 and FCC 47 CFR Part 96 of the FCC Rules. These limits are designed to provide reasonable protection against harmful interference in a residential installation. This equipment generates, uses and can radiate radio frequency energy and, if not installed and used in accordance with the instructions, may cause harmful interference to radio communications. However, there is no guarantee that interference will not occur in a particular installation. If this equipment does cause harmful interference to radio or television reception, which can be determined by turning the equipment off and on, the user is encouraged to try to correct the interference by one of the following measures:
- Reorient or relocate the receiving antenna.
- Increase the separation between the equipment and receiver.
- Connect the equipment into an outlet on a circuit different from that to which the receiver is connected.
- Consult the dealer or an experienced radio/TV technician for help.
FCC Caution:
This device complies with Part 15 and FCC 47 CFR Part 96 of the FCC Rules. Operation is subject to the following two conditions:
- This device may not cause harmful interference, and
- this device must accept any interference received, including interference that may cause undesired operation.
Any changes or modifications not expressly approved by the party responsible for compliance could void the user’s authority to operate this equipment. This device and its antenna(s) must not be co-located or operating in conjunction with any other antenna or transmitter.
FCC Radiation Exposure Statement
This equipment complies with FCC radiation exposure limits set forth for an uncontrolled environment. This equipment should be installed and operated with minimum distance 25cm between the radiator & your body.








Fix the T-formed Bracket to the pole by using the supplied stainless hose clamps. Use a flat-head screwdriver to turn the head of the screw clockwise to tighten it.




















