![]()
IOT-CPE5G
Quick Start Guide
Safety Precautions
Linovision will not shoulder responsibility for any loss or damage resulting from not following the instructions of this operating guide.
- The device must not be modified in any way.
- Do not place the device close to objects with naked flames.
- Do not place the device where the temperature is below/above the operating range.
- Do not power on the device or connect it to other electrical device when installing.
- Check lightning and water protection when used outdoors.
- Do not connect or power the equipment using cables that have been damaged.
This Quick Start Guide only explains the installation of Linovision IOT-CPE5G. For more functionality and advanced settings, please refer to the relevant documents as below.
| Document | Description |
| IOT-CPE5G Datasheet | Datasheet for IOT-CPE5G. |
| IOT-CPE5G User Guide | Users can refer to the guide for instruction on how to log in the web GUI, and how to configure all the settings. |
The related documents are available on Linovision website: https://www.linovision.com
Declaration of Conformity
IOT-CPE5G is in conformity with the essential requirements and other relevant provisions of the CE, FCC, and RoHS.

For assistance, please contact
Linovision technical support:
Email:[email protected]
Tel: 86 571-8670 8175
Web:www.linovision.com/support
Revision History
| Date | Doc Version | Description |
| 28-Jul-21 | V1.0 | Initial version |
Packing List
Before you begin to install the IOT-CPE5G, please check the package contents to verify that you have received the items below.

If any of the above items is missing or damaged, please contact your sales representative.
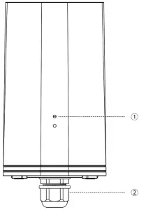
Hardware Introduction
Overview

- LED Indicator Area
STATUS: Power & System Indicator
5G: Cellular Indicator - Waterproof Connector

- SIM Slot
- Reset Button
- Vent Plug
- LAN2 Port
- Bracket Mounting Screws
- Serial & IO & Power Interface
- LAN1/WAN Port (PoE PD)
Dimensions (mm)

Serial & IO & Power Pinouts

| PIN | RS232 /RS485 | DI | DO | Power | Description |
| 1 | — | IN | — | — | Digital Input |
| 2 | GND | GND | — | — | Ground |
| 3 | — | — | — | (-) | Negative |
| 4 | — | — | — | (+) | Positive (9-48V) |
| 5 | — | — | COM | — | Common Ground |
| 6 | — | — | OUT | — | Digital Output |
| 7 | RXD/B | — | — | — | RS232-RXD RS485-B |
| 8 | TXD/A | — | — | — | RS232-TXD RS485-A |
LED Indicators
| LED | Indication | Status | Description |
| STATUS | Power & System Status | Off | The power is switched off |
| Orange | Static: The system is startup | ||
| Green | Static: The system is running properly | ||
| Red | Static: The system goes wrong | ||
| 5G | Cellular Status | Off | SIM card is registering or fails to register (or there are no SIM cards inserted) |
| Green | Blinking slowly: SIM card has been registered and is ready for dial-up | ||
| linking rapidly: SIM card has been registered and is dialing up now | |||
| Static: SIM card has been registered and dialed up to 5G network | |||
| Orange | Static: SIM card has been registered and dialed up to 4G network | ||
| Ethernet Port | ink Indicator (Orange) | Off | Disconnected or connect failure |
| On | Connected | ||
| Blinking | Transmitting data | ||
| Rate Indicator (Green) | Off | 100 Mbps mode | |
| On | 1000 Mbps mode |
| Function | Description | |
| STATUS & 5G LED | Action | |
| Reset | Static | Press and hold the reset button for more than 5 seconds. |
| Static → Blinking | Release the button and wait. | |
| Off → Static Green | The device resets to factory default. | |
Power Supply
IOT-CPE5G can be powered by 802.3af standard PoE or 9-48VDC. Both power supplies can’t be used at the same time.
PoE Supply: Follow the below picture to provide power supply via PoE injector. Besides, IOT-CPE5G can also be powered by PoE switch.

DC Supply: Connect the DC power cable to terminal block, then connect the terminal block to DC interface to power the device.
Hardware Installation
IM Card Installation
Insert the SIM card into the device according to the direction icon on the device. If you need to take out the SIM card, press into the SIM card and it will pop out automatically.
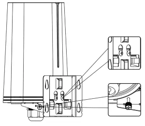
Waterproof Cover & Ethernet Cable Installation
If you need to use IOT-CPE5G outdoors, the waterproof cover and cable gland should be installed under the bottom of the device.
A. Install the rubber ring into the bottom of the device. Note that the round part needs to face the gap of bottom when installing, otherwise it may cause waterlogged.
B. Connect a round Ethernet cable to LAN1/WAN port, then pass the Ethernet cable through all parts of the cable gland and the bottom cover.
C. Fix the bottom cover to the bottom of the device with 4 screws.Note that the arrow behind the cover needs to face the bracket mounting screws.
Note: Bottom cover can be fixed with the device via the wiring behind the cover.
Device Installation
IOT-CPE5G supports multiple installation methods like desktop, wall mounting, pole mounting, etc.
Before you start, make sure that your SIM card has been inserted and all cables have been installed.
Note: Do not connect device to power supply or other devices when installing.
Desktop
When using indoors, pile 4 rubber feet into the gaps at the bottom of the device. The rough surface of rubber feet should face desktop.
Wall Mounting
Preparation: mounting bracket(with 2 screws), wall plugs, wall mounting screws and other required tools.
A. Align the mounting bracket horizontally to the desired position on the wall, use a marker pen to mark four mounting holes on the wall, and then remove the mounting bracket from the wall.
Note: The connecting lines of adjacent points are at right angles.
B. Drill four holes with a depth of 32 mm by using your drill with a 6 mm drill bit on the positions you marked previously on the wall.
C. Insert four wall plugs into the holes respectively.
D. Mount the mounting bracket horizontally to the wall by fixing the wall mounting screws into the wall plugs.

E. Hang the device to the mounting bracket via bracket mounting screws on the back of device, then screw the 2 bracket screws to the bottom of the device.

Pole Mounting
Preparation: mounting bracket(with 2 screws), hose clamps and other required tools.
A. Loosen the hose clamp by turning the locking mechanism counter-clockwise.
B. Straighten out the hose clamp and slide it through the rectangular rings in the mounting bracket, wrap the hose clamp around the pole.
C. Use a screwdriver to tighten the locking mechanism by turning it clockwise.

D. Hang the device to the mounting bracket via bracket mounting screws on the back of device, then screw the 2 bracket screws to the bottom of the device.

Login the Web GUI
IOT-CPE5G provides web-based configuration interface for management. If this is the first time you configure the device, please use the default settings below:
Username: admin
Password: password
Wireless Access
A. Enable Wireless Network Connection on your computer and search for access point “Router_******” to connect it.
B. Open a Web browser on your PC (Chrome is recommended) and type in the IP address 192.168.1.1 to access the web GUI.
C. Enter the username and password, click “Login”.

If you enter the username or password incorrectly more than 5 times, the login page will be locked for 10 minutes.
D. After logging in the web GUI, you can view system information and perform configuration of the device.

Wired Access
Connect PC to IOT-CPE5G LAN port directly or through PoE injector. The following steps are based on Windows 10 operating system for your reference.
A. Go to “Control Panel” → “Network and Internet” → “Network and Sharing Center”, then click “Ethernet” (It may have different names).

B. Go to “Properties” → “Internet Protocol Version 4(TCP/IPv4) ”, select “Obtain an IP address automatically” or “Use the following IP address”, then assign a static IP manually within the same subnet of the device.

C. Open a Web browser on your PC (Chrome is recommended) and type in the IP address 192.168.1.1 to access the web GUI.
D. Enter the username and password, click “Login”.

If you enter the username or password incorrectly more than 5 times, the login page will be locked for 10 minutes.
E. After logging in the web GUI, you can view system information and perform configuration of the device.

Network Connection
This section explains how to connect the device to network via WAN connection, Wi-Fi or cellular.
Configure the Ethernet Connection
A. Go to “Network”→ “Interface” → “Port” page to select connection type and configure WAN parameters, then Click “Save & Apply”.

B. Connect WAN port to other network devices like modem.
C. Go to “Network” → “Interface” → “Link Failover” to enable WAN.

D. Log in web GUI via WAN IP address and check the network connection.
Configure the Wi-Fi Connection

C. Type the key of Wi-Fi.

D. Go to “Network” → “Interface” → “Link Failover” to enable WLAN.

E. Go to “Status”→”WLAN” to check Wi-Fi status. If it shows “Connected”, it means the device connects to Wi-Fi successfully.

Configure the Cellular Connection
A. Go to “Network” → “Interface” → “Cellular” → “Cellular Setting” page to enable cellular settings.
B. Choose relevant network type and fill in SIM card information like APN or PIN code, then click “Save” and “Apply”.

C. Go to “Network” → “Interface” → “Link Failover” to enable Cellular.

D. Go to “Status” → “Cellular” page to view the status of the cellular connection. If it shows “Connected”, it means the SIM has dialed up successfully. On the other hand, you can check the status of indicator. If it keeps light up statically, it means SIM has dialed up successfully.
[END]



















