COiNFYCARE EL04 Electric Traction Table User Manual
SAFETY PRECAUTIONS
- During the adjustment of the table, do not put any part of the body into the gap of any moving parts.
- Please operate with both hands when adjusting the leaning angle of back, foot or head sections.
- When the patient is on the table, it is not recommended to adjust the angle of the table top
- Before using the product, ensure the four feet of the table frame touch the ground at the same time and check the stability of the table frame.
- Before connecting to the power supply, please check whether the incoming line to the controller is intact
- A regular inspection (at least once a year) is needed to the treatment table.\
- Do not exceed the table weight capacity of 250 kg. The safe load of the arm rest is 15 kg.
- Always clean the table after each use with a soft cloth damperned with water and a mild antibacterial detergen Do not use abrasive cleansers..
- . Disconnect the table from the power source before attempting any maintenance, installation, removal OF replacement procedures to prevent electrical shosk and possible damage to the table.
- Please DO NOT make any changes to the table Replacement parts or labor furnished can be operated by Coinfycare, the selling dealer or a service technician certified by the manufacturer..
CONTENTS OF CARTON
Electrical Traction Table: 1 unit
Instruction Manual: 1 unit
NORMAL OPERATING CONDITIONS
Temperature: 5 C – 40 C
Relative humidity: 30% – 75%
Air pressure range: 860-1060hpa
Power supply: AC 220V + 10%, 50Hz
REGULATION AND PRODUCT
STANDARDS
This table complies with the European regulation of medical devices (EU) 2017/745 and with the following standards:
- EN 60601-1:2006+A1:2013+AC:2014
Medical electrical equipment. Part 1: General Requirements for Basic Safety and Essential Performance. - iEC/EN 60601-2-52:2009+A1:2015 clause 201.9.8.3.2
Medical electrical equipment. Part 2-52: Particular requirements for basic safety and essentia operation of medical tables. - EN 60601 1-6:2010+A1:2015
Medical electrical equipment. Part 1-6: General Requirements for basic safety and essential performance. Collateral standard: Suitability fo use - EN 60601-1-2:2015Medical electrical equipment. Part 1-2: Genera requirements for basic safety and essential performance. Collateral standard:
Electromagnetic disturbances. Requirements and tests - EN ISO 13485:2016
Medical devices – Quality management systems Requirements for regulatory purposes (ISO 13485:2016)
DIN EN ISO 13485:
PRECAUTIONS AND SAFETY
INDICATIONS
Coinfycare is not liable for any material or personal damage due to misuse or incorrect use of this table or for any purpose other than described in this user manual.
Inspect the condition of the table before using it for the first time and on a recurring basis as indicated in the “MAINTENANCE” section.
Keep table out of high moisture environments. Do not transport the table over rough or outdoor surfaces. The retractable caster system could become damaged and inoperable.
This table should be operated, transported, and stored in temperatures beMeen 5° C to + 45° C, with max humidity of 75%.
DO NOT operate this table in an environment where other devices are being used that intentionally radiate electromagnetic energy in an unshielded manner. Portable and mobile communications equipment can affect Medical Electrical Equipment.
This table generates, uses, and can radiate radio frequency energy and, if not installed and used in accordance with the instructions, may cause harmful interference to other devices in the vicinity. However, there is no quarantee that interference will not occur in a particular installation. Harmful interference to other devices can be determined by turning this table on and off. Try to correct the interference using one or more of the following: reorient or relocate the receiving device, increase the separation between the equipment,connect the table to an outlet on a different circuit from that which the other device(s) are connected, and consult the Coinfycare for help.
Unplug the table from the power supply before starting cleaning or any types of maintenance operations.
The table should be kept out of the reach of children when there is no adult supervision.
The table is designed for discontinuous interval operation, so the continuous running time of the motor should never exceed 2 minutes. Should this happen, damage may occur due to overheating of the electronics.
Always use original accessories and spare parts provided by your dealer.
Always cover the table with a towel, disposable paper or a cover and change it for each user, thus ensuring correct hygiene and extending the useful life of the upholstery.
Only connect the table to a properly installed and grounded outlet. The local mains voltage must correspond to the technical data of the device.
The power outlet should be accessible in case the table needs to be quickly unplugged at any given time. Always pull the plug and not the mains cable.
Unplug the table from the power supply before starting cleaning or any types of maintenance operations.
TECHNICAL SPECIFICATIONS
Product dimensions
Length: 1950mm
Width: 700mm
Lifting range of bed surface: 520-940mm
Included angle between head plate and horizontal plane: -45°SAS40°
Included angle between leg plate and chest plate: 0°sBs70°
If the electrical supply cable is defective, disconnect the table immediately and inform your dealer or a specialized technician. Position the power cord properly so that it cannot be tripped over.
Unplug the power cord from the mains if the table is not going to be used for a long period of time.
If you detect any abnormality in the operation of the table, consult your dealer or a specialized technician.
Never manipulate any electrical part or open or repair any part of the table.
Only your dealer or a specialized technician should repair the table.
Never touch the table or the power cord with wet hands.
Never place your hands or any other part of your body in any hole or void on the table while it is in operation.
Make sure there are no objects in the space under the table that could cause collisions or entrapment during operation.
Make sure that your feet are not resting on the peripheral foot bar or foot control during treatment and especially when sitting near the table. This could create a dangerous situation where your leg is caught beMeen the section and the peripheral foot bar or floor surface.
Take into account the weight distribution on the table when working. The weight must be distributed along the table without concentrating on its ends to maintain the correct stability.
You should not sit on the head and foot sections.If you do,there is a danger of tipping and table damage.
PLACEMENT IN THE WORKPLACE
The table has four carters to facilitate movement to the place where it will be used.
OPERATION
Connect the bed to an electrical outlet using the power cord.
Moving and adjusting the table
The bed bottom frame is equipped with two control casters and two adjustable feet.
Empty the head of the bed and make sure that the casters at the rear of the bed are active.(Figure 1)
When the table top is lowered, the bed is in a stable status.The column at the front side of the base frame isequipped with adjusting feet for adjusting the height. After moving, please confirm whether the two adjusting feet are in full contact with the ground,otherwise rotate the feet for adjustment.(Figure 2)
Lifting the table
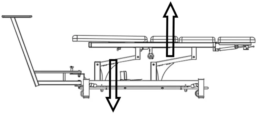
Foot bar under the table is for height adjustment. (Figure 3)
The height adjustment is done by means of a foot-controlled frame located at the bottom of the table.
To elevate the table, pushing up the foot controller frame.
To lower it, pulling down the foot controller frame.
The actuator switches off automatically when the table reaches it minimum or maximum position.
The up and down of the foot bar can adjust the height of the bed surface within the range of 520 – 940mm, as shown in the Figure 4.
Before operation, please confirm that there are no objects in the space under the bed.
In order to reduce the risk of injury caused by the patient rolling off the table when unattended, the table should be placed at the lowest level. Head angle adjustment
As shown in the Figure 5, pull the control lever (in the direction shown by the arrow) to adjust the horizontal angle of the head plate. The angle range is -45° to 40°
Tilting adjustment of bed lower limbs section As shown in the Figure 6, the tilting angle of the bed lower limbs section can be adjusted up and down. The angle range is 0° to 70°.
Adjusting bed traction position Adjust the black knob indicated by the arrow, and the middle section of the bed can be horizontally displaced by 16cm.(Figure 7)
Legend to symbols and information on the product label.
- Model: Product identification.
- Model Num.: Product version. CE conformity marking. Unique serial number identifying the product. Date of manufacture.
Product Net Weight : Table weight in kg.
INPUT : Necessary values of the electrical mains supply.
ON: 2 min I OFF: 18 min: Indicates the discontinuous operation of the device according to IEC/EN 60601-1, which indicates that 2 minutes of continuous operation of the motor or motors should not be exceeded.
Consult the instructions for use or the user manual.
Maximal load capacity that the table can support.

Waste from Electrical and Electronic Equipment. Selective waste collection of electrical and electronic equipment is required.

Classification of medical electrical equipment – Double Insulation.

Electrical Safety Classification – Type B.

Protection against splashing water or liquids.

Manufacturer identification.
![]()
Authorized representative in the EU.

Importer.
TROUBLESHOOTING
If, during the life of the table you detect any malfunction or need a repair, contact your dealer and do not use the table until you have received a diagnosis or the table has been professionally repaired.
MAINTENANCE
Carry out a visual inspection at least once a month to check the general conditions of the table. Moreover, you must do the following:
- Check the correct adjustment of the different sections.
- Check the proper functioning of the motors and their movements.
- Check and clean the gas struts
- Check and tighten screws (if necessary).
- Grease the parts with friction.
- Check the conditions of the electrical wiring and the socket.
- Check the wheel immobilization system.
WARRANTY
This warranty shall remain in effect for 5 years (60 months) for the structure and 3 years (36 months) for the base frame and motor from the date of original consumer purchase. An original sales receipt or proof of purchase may be required in order to redeem the warranty.
All repairs to the Product must be performed by a service center certified by Coinfycare. Any modifications or repairs performed by unauthorized centers or groups will void this warranty. This statement of guarantee prevails over any other statement specified or implied by the seller.
CLEANING AND DISINFECTION
Before cleaning the table, unplug it from the mains. Clean the table after each use. Dust the table with a soft, dry cloth.
To clean the upholstery, apply a solution of warm water and a mild detergent (for example, neutral soap) with a well wrung soft cloth. Wipe the table over once cleaned.
Disinfect upholstery and other surfaces with a suitable bactericide for this purpose.
Apply the disinfectant on a soft cloth, never directly on the table.
Never use a mixture of disinfectants or a mixture of disinfectant and soap.
Wipe the table upholstery over once cleaned & disinfected with a cloth and water only. This will remove any residue from the upholstery.
Avoid the accumulation of moisture on the moving parts of the metal structure, as they could rust.
Since we do not know which disinfectant will be used, we cannot guarantee that it will not cause damage to the upholstery. Read the instructions and warnings for use of the disinfectant product carefully before its purchase or use.
TRANSPORTATION AND STORAGE CONDITION
Transport condition
The products can be transported by general means of transportation. They should be protected from the sun and rain, and should not be mixed with toxic, harmful and corrosive materials. Storage
The packed electric multifunctional physiotherapy bed should be stored in a dry and well ventilated environment without corrosive gas.
SHUTDOWN PROCEDURE
Adjust the bed to a suitable position to ensure that the patient is safely left, then turn off the power. Contraindication
Please note that our beds are not sterilized. Please do not use them according to aseptic standards.
CONTACT
Applicant / company name / after sales service unit:
Huangshan Jinfu Medical Instrument Co., Ltd
Domicile / production address: No. 17, Qiliting, Qimen County, Huangshan City, Anhui Province China
Tel: 0086 571 87006218
www.coinfycare.com
European legal representative: LOTUS NL B.V.
Koningin Julianaplein 10, 1e Verd 2595AA, The Hague, Netherlands

ON: 2 min I OFF: 18 min: Indicates the discontinuous operation of the device according to IEC/EN 60601-1, which indicates that 2 minutes of continuous operation of the motor or motors should not be exceeded.
















