CONFYCARE LOMI EL05 Electric Treatment Tables 
INTRODUCTION
DDUUEETT Europe SL thanks you for choosing Coinfycare products. We hope this instruction manual will help you to get the most out of this product. Contact your dealer if you need clarification regarding its use or operation. Read the entire instruction manual carefully before using the table. Take note of the warnings in this manual. Always keep this instruction manual and should you give the table to another operator make sure you also provide the manual since it is an essential part of the product. Some table parts may differ from the image that appears in catalogs, the web, trade brochures, or other publications. In order to make improvements to the table, the manufacturer reserves the right to modify its characteristics or parts without prior notice. If during the useful life of this table, any accident occurs that causes or could have caused serious injuries to the user, DDUUEETT Europe SL must be informed immediately.
WHAT’S IN THE BOX
- Electric treatment table: 1 unit
- Paper Roll holder: 1 unit
- Instruction Manual: 1 unit
STANDARDS
This table complies with the European regulation of medical devices (EU) 2017/745 and with the following standards:
- EN 60601-1:2006+A1:2013+AC:2014
Medical electrical equipment. Part 1: General Requirements for Basic Safety and Essential Performance. - IEC/EN 60601-2-52:2009+A1:2015 clause 201.9.8.3.2
Medical electrical equipment. Part 2-52: Particular requirements for basic safety and essential operation of medical tables. - EN 60601-1-6:2010+A1:2015
Medical electrical equipment. Part 1-6: General Requirements for basic safety and essential performance. Collateral standard: Suitability for use. - EN 60601-1-2:2015
Medical electrical equipment. Part 1-2: General requirements for basic safety and essential performance. Collateral standard: Electromagnetic disturbances. Requirements and tests.
CORRECT USE OF THE PRODUCT
This table has been designed for use in the field of physiotherapy and manual therapies. This table is intended to support users during treatment and should not be used to transport patients. Do not make any changes to the table without DDUUEETT Europe SL’s authorization. Please note that any misuse or modification of the table voids the warranty.
PRECAUTIONS AND SAFETY INDICATIONS
DDUUEETT Europe SL is not liable for any material or personal damage due to misuse or incorrect use of this table for any purpose other than those described in the “CORRECT USE OF THE PRODUCT” section above.
Inspect the good condition of the table before using it for the first time and on a recurring basis as indicated in the “MAINTENANCE” section. Do not use the table outdoors or in places where it may be affected by moisture or adverse weather conditions. The ideal conditions for use are a temperature between 5-40 °C, relative humidity between 30-75%, and atmospheric pressure between 860-1060 hPa. Do not use the table in environments where other devices may emit electromagnetic radiation. These radiations could affect the correct functioning of the table. This table can generate electromagnetic energy that can interfere with other nearby electronic devices. The table should be kept out of the reach of children when there is no adult supervision. The table is designed for discontinuous interval operation, so the continuous running time of the motor should never exceed 2 minutes. Should this happen, damage may occur due to the overheating of the electronics. Always use original accessories and spare parts provided by your dealer. Always cover the table with a towel, disposable paper or a cover and change it for each user, thus ensuring correct hygiene and extending the useful life of the upholstery. Only connect the table to a properly installed and grounded outlet. The local mains voltage must correspond to the technical data of the device. The power outlet should be accessible in case the table needs to be quickly unplugged at any given time. Always pull the plug and not the main cable. Unplug the cable from the power supply before starting a cleaning or any type of maintenance operation.If the electrical supply cable is defective, disconnect the table immediately and inform your dealer or a specialized technician. Position the power cord properly so that it cannot be tripped over. Unplug the power cord from the mains if the table is not going to be used for a long period of time. If you detect any abnormality in the operation of the table, consult your dealer or a specialized technician. Never manipulate any electrical part or open or repair any part of the table. Only your dealer or a specialized technician should repair the table. Never touch the table or the power cord with wet hands. Never place your hands or any other part of your body in any hole or void on the table while it is in operation. Make sure there are no objects in the space under the table that could cause collisions or entrapment during the movement of the same. Make sure that your feet are not resting on the peripheral foot bar during treatment and especially when sitting near the table. This could create a dangerous situation where your leg is caught between the section and the peripheral foot bar. Take into account the weight distribution on the table when working. The weight must be distributed along with the table without concentrating on its ends to maintain the correct stability of the same. You should not sit on the head and foot sections. If you do, there is a danger of tipping.
INSTRUCTIONS FOR ASSEMBLY
Place the paper roll holder in the position indicated in the image below. Tighten the 2 locking knobs until secure.
PLACEMENT IN THE WORKPLACE
The table has 4 wheels to facilitate its movement to the place where it will be used. Once correctly positioned, the table has an immobilization system that prevents it from moving during use.To activate or deactivate this system, you must press either of the two levers with your foot, as shown in the following images.
- Image 1: Table in working position.

- Image 2: Table in position for movement.

OPERATIONS
Connect the bed to an electrical outlet using the power cord.
Motor functions
- Peripheral foot bar for height adjustment
- Before adjusting, make sure there are no objects in the space below the table that could cause collisions or entrapment.
- Press the peripheral foot bar with your foot to one side or the other to adjust the height of the table.

- Foot control for adjusting the central section
- Use the foot control to adjust the inclination of the central section of the table. With this, it is possible to place the table in the Kyphosis and Trendelenburg positions.


- Use the foot control to adjust the inclination of the central section of the table. With this, it is possible to place the table in the Kyphosis and Trendelenburg positions.
Manual functions
- Adjusting the inclination of the «headrest + armrest» ensemble
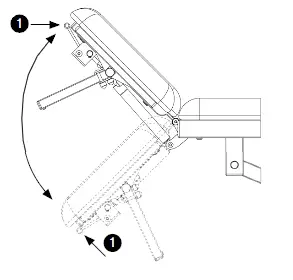
- To lower the ensemble, move the lever 1 that operates the gas lift, and press down until the desired inclination is obtained.
- To raise the ensemble, move the lever 1 that operates the gas lift and follow the assembly until the desired inclination is obtained.

- Armrest adjustment
- Use both hands to raise the armrest.
- Press inwards as indicated by arrow 1 and move the armrest 2 up through the guide to the desired position.

- Use both hands to lower the armrest.
- Press inwards as indicated by arrow 1 and move the armrest 2 down the guide to the desired position.

- Press inwards as indicated by arrow 1 and move the armrest 2 down the guide to the desired position.
- Side armrest adjustment
- To fold the armrest, press lightly in the direction indicated by the arrow (applying pressure to the spring) and then push it downwards.

- To fold the armrest, press lightly in the direction indicated by the arrow (applying pressure to the spring) and then push it downwards.
- To raise the armrest, press lightly in the direction indicated by the arrow (applying pressure to the spring) and then guide it upwards until it is correctly fixed in a horizontal position.

Legend to symbols and information on the product label.
- Model: Product identification.
- Model Num.: Product version.
- CE conformity marking.
- Unique serial number identifying the product.
- Date of manufacture.
- Product Net Weight: Table weight in kg.
- INPUT: Necessary values of the electrical mains supply.
- ON: 2 min / OFF: 18 min: Indicates the discontinuous operation of the device according to IEC/EN 60601-1, which indicates that 2 minutes of continuous operation of the motor or motors should not be exceeded.
- Consult the instructions for use or the user manual.
- The total maximum load that the table can support.
- Waste from Electrical and Electronic Equipment Selective collection of waste on electrical and electronic equipment is required.
- Classification of medical electrical equipment – Double Insulation.
- Electrical Safety Classification – Type B.
- Protection against splashing water or liquids.
- Manufacturer identification.
- Authorized representative in the EU.
- Importer.
PRODUCT IDENTIFICATION AND CHARACTERISTICS
On page 27 you can find the different models of Coinfycare electric treatment tables, with detailed information about:
- Name, reference, and main technical features.
- Sketch of the table, measurements, and possible angles of movement of each section.
TROUBLESHOOTING
If, during the life of the table, you detect any malfunction or need a repair, contact your dealer and do not use the table until you have received a favorable diagnosis or the table has been repaired.
MAINTENANCE
Carry out a visual inspection at least once a month to check the general conditions of the table. Moreover, you must do the following:
- Check the correct adjustment of the different sections.
- Check the proper functioning of the motors and their movements.
- Check and clean the gas lifts.
- Check and tighten screws (if necessary).
- Grease the parts with friction.
- Check the conditions of the electrical wiring and the socket.
- Check the wheel immobilization system. USEFUL LIFE OF THE TABLE The table has a useful life of 5 years. However, this period can be extended for periods of 2 years, according to assessments made by an authorized distributor or DDUUEETT Europe, SL.
RECYCLING
If you need to dispose of the table or any of its parts or accessories, consult and respect the laws and regulations applicable to waste management and the protection of the environment.
WARRANTY
DDUUEETT Europe SL guarantees the products for manufacturing defects for 12 months from the invoice date. Any warranty will be void if the instructions for use and maintenance have not been observed if changes have been made to the products, if parts have been replaced, or if materials that do not meet the specifications of the original manufacturer’s products have been used.
CLEANING AND DISINFECTION
Before cleaning the table, unplug it from the mains. Clean the table after each use. Dust the table with a soft, dry cloth. To clean the upholstery, apply a solution of warm water and a mild detergent (for example, neutral soap) with a well-wrung soft cloth. Disinfect upholstery and other surfaces with a suitable bactericide for this purpose. Apply the disinfectant on a soft cloth, never directly on the table. Never use a mixture of disinfectants or a mixture of disinfectant and soap. Avoid the accumulation of moisture on the moving parts of the metal structure, as they could rust. Since we do not know which disinfectant will be used, we cannot guarantee that it will not cause damage to the upholstery. Read the instructions and warnings for use of the disinfectant product carefully before its purchase or use.
CONTACT
Authorized distributor of Coinfycare products where you have purchased the electric treatment table. Importer: DDUUEETT Europe SLFont de la Ventaiola, 1-3 Nau 3 08670, Navàs Barcelona, Spain European legal representative: LOTUS NL B.V. Koningin Julianaplein 10, 1e Verd 2595AA, The Hague, Netherlands






























