Coinfycare EL08 Electrical Chiropractic Table
Product Information
EL08 / EL08B / EL08F / EL08FS Electrical Chiropractic Table
The EL08 / EL08B / EL08F / EL08FS Electrical Chiropractic Table is a medical device that complies with the European Regulation of medical devices (EU) 2017/745.
The product comes with an instruction manual and is designed for basic safety and essential performance. The product dimensions are as follows:
- Length: 1830-1930mm
- Width: 550mm
- Lifting stroke distance: 340mm
- Lifting range of bed surface: 430-770mm
Product Usage Instructions
Safety Precautions
Before using the EL08 / EL08B / EL08F / EL08FS Electrical Chiropractic Table, please read and follow the safety precautions carefully:
- Inspect the condition of the table before using it for the first time and on a recurring basis as indicated in the MAINTENANCE section.
- Keep table out of high moisture environments.
- Do not transport the table over rough or outdoor surfaces. The retractable caster system could become damaged and inoperable.
- DO NOT operate this table in an environment where other devices are being used that intentionally radiate electromagnetic energy in an unshielded manner. Portable and mobile communications equipment can affect Medical Electrical Equipment.
- Unplug the table from the power supply before starting a cleaning or any type of maintenance operation.
- The table should be kept out of the reach of children when there is no adult supervision.
- The table is designed for discontinuous interval operation, so the continuous running time of the motor should never exceed 2 minutes. Should this happen, damage may occur due to overheating of the electronics.
- Always use original accessories and spare parts provided by your local dealer.
- Always cover the table with a towel, disposable paper, or a cover and change it for each user, thus ensuring correct hygiene and extending the useful life of the upholstery.
- Only connect the table to a properly installed and grounded outlet. The local mains voltage must correspond to the technical data of the device.
- The power outlet should be accessible in case the table needs to be quickly unplugged at any given time. Always pull the plug and not the main cable.
Contents of Carton
The EL08 / EL08B / EL08F / EL08FS Electrical Chiropractic Table comes with:
- 1 unit Electrical Chiropractic Table
- 1 unit Instruction Manual
Normal Operating Conditions
The EL08 / EL08B / EL08F / EL08FS Electrical Chiropractic Table is designed for basic safety and essential performance.
Please use the product within its normal operating conditions as specified in the instruction manual.
Regulation and Product Standards
The EL08 / EL08B / EL08F / EL08FS Electrical Chiropractic Table complies with the following standards:
- EN 60601-1:2006+A1:2013+AC:2014 Medical electrical equipment.
- Part 1: General Requirements for Basic Safety and Essential Performance.
- IEC/EN 60601-2-52:2009+A1:2015 clause 201.9.8.3.2 Medical electrical equipment. Part 2-52: Particular requirements for basic safety and essential operation of medical tables.
- EN 60601-1-6:2010+A1:2015 Medical electrical equipment. Part 1-6: General Requirements for basic safety and essential performance. Collateral standard: Suitability for use
- EN 60601-1-2:2015 Medical electrical equipment. Part 1-2: General requirements for basic safety and essential performance. Collateral standard: Electromagnetic disturbances. Requirements and tests.
- EN ISO 13485:2016 Medical devices – Quality management systems
- Requirements for regulatory purposes (ISO 13485:2016) DIN EN ISO 13485:2016
SAFETY PRECAUTIONS
- During the adjustment of the table, do not put any part of the body into the gap of any moving parts.
- Please operate with both hands when adjusting the leaning angle of back, foot or head sections.
- When the patient is on the table, it is not recommended to adjust the angle of the table top.
- Before using the product, ensure the four feet of the table frame touch the ground at the same time and check the stability of the table frame.
- Before connecting to the power supply, please check whether the incoming line to the controller is intact.
- A regular inspection (at least once a year) is needed for the treatment table.
- Do not exceed the table weight capacity of 250 kg. The safe working load of the arm rest is 15 kg.
- Always clean the table after each use with a soft cloth dampened with water and a mild antibacterial detergent. Do not use abrasive cleaners.
- Disconnect the table from the power source before attempting any maintenance, installation, removal or replacement procedures to prevent electrical shock and possible damage to the table.
- Please DO NOT make any changes to the table. Replacement parts or labor can be provided by Coinfycare, the selling dealer or a service technician certified by the manufacturer.
CONTENTS OF CARTON
- Electrical Chiropractic Table: 1 unit
- Instruction Manual: 1 unit
NORMAL OPERATING CONDITIONS
- Temperature: 5 ℃ – 40 ℃
- Relative humidity: 30% – 75%
- Air pressure range: 860-1060hpa
- Power supply: AC 220V ± 10%, 50Hz
REGULATION AND PRODUCT STANDARDS
This table complies with the European Regulation of medical devices (EU) 2017/745 and with the following standards:
EN 60601-1:2006+A1:2013+AC:2014
- Medical electrical equipment. Part 1: General Requirements for Basic Safety and Essential Performance.
IEC/EN 60601-2-52:2009+A1:2015 clause 201.9.8.3.2
- Medical electrical equipment. Part 2-52: Particular requirements for basic safety and essential operation of medical tables.
EN 60601-1-6:2010+A1:2015
- Medical electrical equipment. Part 1-6: General Requirements for basic safety and essential performance. Collateral standard: Suitability for use
EN 60601-1-2:2015
- Medical electrical equipment. Part 1-2: General requirements for basic safety and essential performance. Collateral standard: Electromagnetic disturbances. Requirements and tests.
EN ISO 13485:2016
- Medical devices – Quality management systems -Requirements for regulatory purposes (ISO 13485:2016) DIN EN ISO 13485:2016
PRECAUTIONS AND SAFETY INDICATIONS
- Coinfycare is not liable for any material or personal damage due to misuse or incorrect use of this table or for any purpose other than described in this user manual.
- Inspect the condition of the table before using it for the first time and on a recurring basis as indicated in the “MAINTENANCE” section.
- Keep table out of high moisture environments.
- Do not transport the table over rough or outdoor surfaces. The retractable caster system could become damaged and inoperable.
- This table should be operated, transported, and stored in temperatures between 5° C to + 45° C, with max humidity of 75%.
- DO NOT operate this table in an environment where other devices are being used that intentionally radiate electromagnetic energy in an unshielded manner. Portable and mobile communications equipment can affect Medical Electrical Equipment.
- This table generates, uses, and can radiate radio frequency energy and, if not installed and used in accordance with the instructions, may cause harmful interference to other devices in the vicinity. However, there is no guarantee that interference will not occur in a particular installation.
- Harmful interference to other devices can be determined by turning this table on and off. Try to correct the interference using one or more of the following: reorient or relocate the receiving device, increase the separation between the equipment,connect the table to an outlet on a different circuit from that which the other device(s) are connected, and consult Coinfycare or your local dealer for help.
- Unplug the table from the power supply before starting cleaning or any type of maintenance operations.
- The table should be kept out of the reach of children when there is no adult supervision.
- The table is designed for discontinuous interval operation, so the continuous running time of the motor should never exceed 2 minutes. Should this happen, damage may occur due to overheating of the electronics.
- Always use original accessories and spare parts provided by your local dealer.
- Always cover the table with a towel, disposable paper or a cover and change it for each user, thus ensuring correct hygiene and extending the useful life of the upholstery.
- Only connect the table to a properly installed and grounded outlet. The local mains voltage must correspond to the technical data of the device.
- The power outlet should be accessible in case the table needs to be quickly unplugged at any given time. Always pull the plug and not the mains cable.
- Unplug the table from the power supply before starting cleaning or any type of maintenance operations.
TECHNICAL SPECIFICATIONS
Product dimensions
- EL08 – Base Chiropractic Table
- Length: 1830-1930mm
- Width: 550mm
- Lifting stroke distance: 340mm
- Lifting range of bed surface: 430-770mm
- EL08B – Chiropractic Breakaway Table
- Length: 1830-1930mm
- Width: 510mm
- Lifting stroke distance: 175mm
- Lifting range of bed surface: 485-660mm
- EL08F – Premium Chiropractic Table
- Length: 1850-1980mm
- Width: 530mm
- Lifting range of bed surface: 600-800mm
- Included angle between head plate and horizontal plane: -20°≤A≤25°
- Included angle between leg plate and chest plate: 0°≤B≤25°
EL08FS – Stationary Chiropractic Table
- Length: 1800mm
- Width: 530mm
- Fixed table height: 480mm
- Included angle between head plate and horizontal plane: -20°≤A≤15°
- Included angle between leg plate and chest plate: 0°≤B≤30°
- If the electrical supply cable is defective, disconnect the table immediately and inform your dealer or a specialized technician.
- Position the power cord properly so that it cannot be tripped over.
- Unplug the power cord from the mains if the table is not going to be used for a long period of time.
- If you detect any abnormality in the operation of the table, consult your dealer or a specialized technician.
- Never manipulate any electrical part or open or repair any part of the table.
- Only your dealer or a specialized technician should repair the table.
- Never touch the table or the power cord with wet hands.
- Never place your hands or any other part of your body in any hole or void on the table while it is in operation.
- Make sure there are no objects in the space under the table that could cause collisions or entrapment during operation.
- Make sure that your feet are not resting on the peripheral foot bar or foot control during treatment and especially when sitting near the table. This could create a dangerous situation where your leg is caught between the section and the peripheral foot bar or floor surface.
- Take into account the weight distribution on the table when working. The weight must be distributed along the table without concentrating on its ends to maintain the correct stability.
- You should not sit on the head and foot sections. If you do, there is a danger of tipping and table damage.
PLACEMENT IN THE WORKPLACE
- The table has two wheels to facilitate movement to the place where it will be used.
- Once correctly positioned, the table has two adjustable feet that prevent it from moving during use.
EL08 Base Chiropractic Table OPERATION
- Connect the bed to an electrical outlet using the power cord.
- Moving and adjusting the table
- The bed bottom frame is equipped with two control casters and two adjustable feet.
- Empty the head of the bed and make sure that the casters at the rear of the bed are active.

- When the table top is lowered, the bed is in a stable status.
- The column at the front side of the base frame is equipped with feet for adjusting the height.
- After moving, please confirm whether the two adjusting feet are in full contact with the ground, otherwise rotate the feet for adjustment.

- The table can be lifted or lowered by the foot switch. Step on the left or right button of the foot switch respectively to adjust the height of the table.
- When the required height is reached (Figure 4), release the button to stop.
- Please make sure that there are no objects in the space under the table before any operation. The table should be placed at the lowest level to reduce the risk of injury caused by the patient falling off the table when unattended.

- Adjusting the height of the head plate
- Pull the control lever (in the direction indicated by the arrow) to adjust the horizontal height of the head plate. (Figure 5)

Adjusting the head angle and head pressurization operation
- Lift up the pull rod ① in Figure 6 to adjust the head plate angle
- Lift up the pull rod ② in Figure 6 to activate the head plate drop section. Then press down on the head plate to achieve the effect of the drop pressure.

Adjusting head plate width
- As shown in Figure 7, pull the control lever to adjust the width of the head plates.

Drop operation
- Lift the pull rod with one hand to activate the drop and then press down on the bed section to achieve the effect of the drop pressure. (Figure 8)

Drop Tension adjustment
- Use the black knob on the side as indicated below. The tension direction is indicated on the knob. (Figure 9)

Adjustment of bed middle section angle
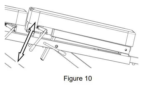
- The middle section of the bed is raised and adjusted. Hold the part shown in the figure with both hands and pull it up. The angle of raising the waist rest is shown in the Figure below. Maximum angle is 15 degrees.(Figure 10)
Extended leg segment adjustment
- For adjustment of the height and length of the foot rest, loosen the correct knob as shown below. Then slide the section up/down to adjust height or out/in to adjust distance up to 18cm or height to 18 degrees (Figure 11).

Bed traction position adjustment
- Adjust the black knob indicated by the arrow, and the middle section of the bed can be horizontally displaced by 16cm.(Figure 12)

EL08B Chiropractic Breakaway Table OPERATION
- Connect the bed to an electrical outlet using the power cord.
- Moving and adjusting the table
- The bed bottom frame is equipped with two control casters and two adjustable feet.
- Empty the head of the bed and make sure that the casters at the rear of the bed are active.

- When the table top is lowered, the bed is in a stable status.
- The column at the front side of the base frame is equipped with feet for adjusting the height.
- After moving, please confirm whether the two adjusting feet are in full contact with the ground, otherwise rotate the feet for adjustment.

Lifting the table
- The height of the table can be adjusted by the foot switch. Figure 3 shows the appearance of the foot switch.

- The table can be lifted or lowered by the foot switch. Step on the left or right button of the foot switch respectively to adjust the height of the table.
- When the required height is reached (Figure 4), release the button to stop.
- The table should be placed at the lowest level to reduce the risk of injury caused by the patient falling off the table when unattended.

Adjusting height of head plate
- Pull the control lever (in the direction indicated by the arrow) to adjust the horizontal height of the head plate.(Figure 5)

Adjusting head angle and head pressurization operation
- Lift up the pull rod ① in Figure 6 to adjust head plate angle
- Lift up the pull rod ② in Figure 6 to activate the head plate drop section. Then press down on the head plate to achieve the effect of the drop pressure.

Adjusting head plate width
- As shown in Figure 7, pull the control lever to adjust the width of the head plate.

Drop operation
- Lift the pull rod with one hand to activate the drop and then press down on the bed section to achieve the effect of the drop pressure. (Figure 8)

Drop Tension adjustment
- Use the black knob on the side as indicated below. The tension direction is indicated on the knob. (Figure 9)

Adjustment of bed middle section angle
- The middle section of the bed is raised and adjusted. Hold the pull rod in Figure 10 with both hands and pull it up. Maximum angle is -18 degrees.

- Bed traction position adjustment Adjust the pull rod indicated by the arrow, and the middle section of the bed can be raised by 35 degrees.(Figure 11)

Extended leg segment adjustment
- For adjustment of height and length of the footrest, loosen the correct knob as shown below. Then slide the section up/down to adjust height and out/in to adjust distance up to 18cm or up to 18 degrees. (Figure 12).

Bed traction position adjustment
- Adjust the black knob indicated by the arrow, and the middle section of the bed can be horizontally displaced by 16cm.(Figure 13)

EL08F Premium Chiropractic Table OPERATION
- Connect the bed to an electrical outlet using the power cord.
- Moving and adjusting the table
- The bed bottom frame is equipped with two control casters and two adjustable feet.
- Empty the head of the bed and make sure that the casters at the rear of the bed are active.

- When the table top is lowered, the bed is in a stable status.
- The column at the front side of the base frame is equipped with feet for adjusting the height.
- After moving, please confirm whether the two adjusting feet are in full contact with the ground, otherwise rotate the feet for adjustment.

- The table can be lifted or lowered by the foot switch. Step on the left or right button of the foot switch respectively to adjust the height of the table.

- When the required height is reached (Figure 4), release the button to stop.
- Please make sure that there are no objects in the space under the table before any operation. The table should be placed at the lowest level to reduce the risk of injury caused by the patient falling off the table when unattended.

Adjusting height of head plate
- Pull the control lever (in the direction indicated by the arrow) to adjust the horizontal height of the head plate.(Figure 5)

Adjusting head angle and head drop
- Lift up the pull rod ① in Figure 6 to adjust head plate angle
- Lift up the pull rod ② in Figure 6 to activate the head plate drop section. Then press down on the head plate to achieve the effect of the drop pressure.

Adjusting head plate width
- As shown in Figure 7, pull the control lever to adjust the width of the head plates.

- Lift the pull rod with one hand, and then press down the bed section to achieve the effect of drop pressure. As shown in Figure 8.

Drop tension adjustment
- Use the black knob on the side as indicated below. Tension direction is indicated on the knob.(Figure 9)

Adjustment of bed tail section angle
- Lift up the pull rod to release the angle adjustment.(Figure 10)

Adjustment of front bed angle
- Lift up the pull rod to release the angle adjustment.(Figure 11)

Adjustment of bed middle section angle
- Lift up the pull rod to release the angle adjustment.(Figure 12)

Head horizontal angle adjustment
- As shown in Figure 13, the horizontal angle of the head plate can be adjusted. The black knob can be adjusted to fix the angle of the head. The angle range is – 10° to 10°.

EL08FS Stationary Chiropractic Table OPERATION
- Connect the bed to an electrical outlet using the power cord.
- Moving and adjusting the table
- The bed bottom frame is equipped with two control casters and two adjustable feet.
- Empty the head of the bed and make sure that the casters at the rear of the bed are active.

- When the table top is lowered, the bed is in a stable status.
- The column at the front side of the base frame is equipped with feet for adjusting the height.
- After moving, please confirm whether the two adjusting feet are in full contact with the ground, otherwise rotate the feet for adjustment.

Adjusting height and horizontal angle of head plate
- Lift up the pull rod ① in Figure 3 to adjust the height of the head plate.
- Lift up the pull rod ② in Figure 3 to adjust the horizontal angle of the head plate. The angle range is – 10° to 10°.

Adjusting head angle and head pressurization operation
- Lift up the pull rod ① in Figure 4 to adjust head plate angle.
- Lift up the pull rod ② in Figure 4 to activate head plate drop section. Then press down the head plate to achieve the effect of the drop pressure.

Adjusting head plate width
- As shown in Figure 5, pull the control lever (in the direction shown by the arrow) to adjust the width of the head plate.

Drop operation
- Lift the pull rod with one hand, and then press down the bed section to achieve the effect of drop pressure.(Figure 6)

Drop tension adjustment
- Use the black knob on the side as indicated below. Tension direction is indicated on the knob.(Figure 9)

Adjustment of bed tail section angle
- Lift up the pull rod to release the angle adjustment.
- Adjust the black knob indicated by the arrow, and the tail section of the bed can be horizontally elongated by 16cm.(Figure 8) horizontally elongated by 16cm

Adjustment of front bed angle
- Lift up the pull rod to release the angle adjustment.(Figure 9)

- Adjusting angle of bed middle section Lift up the pull rod to release angle.(Figure 10)

Legend to symbols and information on the product label.
- Model: Product identification.
- Model Num.: Product version.
- CE conformity marking.
- Unique serial number identifying the product.
- Date of manufacture.
- Product Net Weight : Table weight in kg.
- INPUT : Necessary values of the electrical mains supply.
- ON: 2 min / OFF: 18 min: Indicates the discontinuous operation of the device according to IEC/EN 60601-1, which indicates that 2 minutes of continuous operation of the motor or motors should not be exceeded.
- Consult the instructions for use or the user manual.
- Maximal load capacity that the table can support.
- Waste from Electrical and Electronic Equipment. Selective waste collection of electrical and electronic equipment is required.
- Classification of medical electrical equipment – Double Insulation.
- Electrical Safety Classification – Type B.
- Protection against splashing water or liquids.
- Manufacturer identification.
- Authorized representative in the EU.
- Importer.
TROUBLESHOOTING
If, during the life of the table you detect any malfunction or need a repair, contact your dealer and do not use the table until you have received a diagnosis or the table has been professionally repaired.
MAINTENANCE
Carry out a visual inspection at least once a month to check the general conditions of the table. Moreover, you must do the following:
- Check the correct adjustment of the different sections.
- Check the proper functioning of the motors and their movements.
- Check and clean the gas struts
- Check and tighten screws (if necessary).
- Grease the parts with friction.
- Check the conditions of the electrical wiring and the socket.
- Check the wheel immobilization system.
RECYCLING
If you need to dispose of the table or any of its parts or accessories, consult and respect the laws and regulations applicable to waste management and protection of the environment.
WARRANTY
- This warranty shall remain in effect for 5 years (60 months) for the structure and 3 years (36 months) for the base frame and motor from the date of original consumer purchase. An original sales receipt or proof of purchase may be required in order to redeem the warranty.
- All repairs to the Product must be performed by a service center certified by Coinfycare. Any modifications or repairs performed by unauthorized centers or groups will void this warranty. This statement of guarantee prevails over any other statement specified or implied by the seller.
CLEANING AND DISINFECTION
- Before cleaning the table, unplug it from the mains. Clean the table after each use.
- Dust the table with a soft, dry cloth.
- To clean the upholstery, apply a solution of warm water and a mild detergent (for example, neutral soap) with a well wrung soft cloth. Wipe the table over once cleaned.
- Disinfect upholstery and other surfaces with a suitable bactericide for this purpose.
- Apply the disinfectant on a soft cloth, never directly on the table.
- Never use a mixture of disinfectants or a mixture of disinfectant and soap.
- Wipe the table upholstery over once cleaned & disinfected with a cloth and water only. This will remove any residue from the upholstery.
- Avoid the accumulation of moisture on the moving parts of the metal structure, as they could rust.
- Since we do not know which disinfectant will be used, we cannot guarantee that it will not cause damage to the upholstery. Read the instructions and warnings for use of the disinfectant product carefully before its purchase or use.
TRANSPORTATION AND STORAGE CONDITION
Transport condition
- The products can be transported by general means of transportation. They should be protected from the sun and rain, and should not be mixed with toxic, harmful and corrosive materials.
Storage
- The packed electric multifunctional physiotherapy bed should be stored in a dry and well ventilated environment without corrosive gas.
SHUTDOWN PROCEDURE
- Adjust the bed to a suitable position to ensure that the patient is safely left, then turn off the power. Contraindication
- Please note that our beds are not sterilized. Please do not use them according to aseptic standards.


































































