AVENO life Portable Massage Tables
Product Information
- Product Name: AVENO LIFE Products
- User Manual number: 004/2022
- User Manual release date: 10.10.2022
Dimensions
| Product Model | Length | Width | Height (adjustable) |
|---|---|---|---|
| Nadia | 185 cm | 60 cm | 61 – 85 cm |
| Adele | 185 cm | 70 cm | 61 – 85 cm |
| Sofia | 185 cm | 60 cm | 59 – 80 cm |
| Sofia Light | 185 cm | 70 cm | 61 – 85 cm |
| Bianca | 185 cm | 60 cm | 59 – 80 cm |
- Weight:
- Nadia – 11 kg
- Adele – 13.3 kg
- Sofia – 12.5 kg
- Sofia Light – 11.5 kg
- Bianca – 15.1 kg
- Maximum Load: 250 kg
- Dynamic Weight Capacity: 900 kg
- Static Weight Capacity: 900 kg
Product Usage Instructions
- To adjust the height of the table, unscrew the caps and remove the leg from the fixings. Place the leg in the desired position and screw the caps back on. (Applies to Bianka and Adele tables)
- To adjust the height of the table, press the locking pin, move the leg to the desired position, and release the pin. (Applies to all tables)
- The patient should sit on the table and assume a comfortable and level position. The masseuse should secure the patient, ensuring proper positioning on the table, and assist in safely getting off the table after the treatment.
- To fold the external legs, pay attention to the correct position of the lines and their fixing parts. Place the equipment inside the table, close the suitcase with a lock (5), and place it in a cover (if available).
- Before using any cleaning agents other than mild detergent, test the effect in an inconspicuous area, and clean it very carefully.
Application
Portable rehabilitation tables enable the physiotherapist correct, safe and effective conduct of rehabilitation treatment, physiotherapy, physical therapy, massage, aiming at treating or alleviating the course of illnesses and the results of injuries /impairments. Used at the medical and doctor’s offices, they allow patients to adopt the correct posture for conducting effective and safe treatment or examination. The construction of the rehabilitation tables enables the physiotherapist easy and complete access to the patient from each side, thanks to which all various treatments produce desired results and ensure proper conditions for the conduct of a treatment/examination.
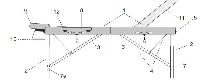
Construction of the portable table
- Wooden table top covered with upholstery
- External legs
- External legs’ spacers
- System of cables
- Suitcase lock
- Transport handles
- Locking pin
- Additional locking pin (regards Sofia, Sofia Light, Bianca)
- Armrests
- Headrest
- Arms front shelf (additional option)
- Elevated backrest (regards Bianka, Adele)
- Face hole filler

Operation
The sequence of unfolding the table:
- The table in the folded condition constitutes a suitcase.
- Open the lock (5).
- Turn the table tops aside (1).
- Draw out the equipment (8, 9 ,10) from the table inside.
- Unfold the legs outside (2) maximally extended.
- Put the table on a hard and even foundation. (Prior to loading the centre of the table top should be tilted up approx. 3 cm).
- Check the tension of the system of cables (4).
- Set the appropriate table height according to the table entitled ”Height adjustment”.
- Install the headrest (9) and the remaining equipment (8, 10).
- Lifting of the mobile part of the table takes place by means of:
- unlocking elevated backrest,
- lifting on the required height.*
- Lowering of the mobile part of the table takes place by its maximum lifting and then lowering it down and locking.*
Tab. Height adjustment
Laying the patient
The patient sits at the table side onto the upholstered top and adopts a comfortable horizontal position. The above-mentioned activities are safeguarded by the massage therapist, who determines the correct position on the table for the patients, and after the finished treatment helps them get down safely from the table.
Folding the table down
- Dismount the headrest (9) and the remaining accessories (8, 10) (if any).
- Reset the table from the working condition to the folding position (lateral position on the rubber feet). Fold the external legs paying attention to the correct location of the cables and their fastening parts.
- Put the equipment inside the table, close the suitcase by means of lock (5) and Place the suitcase in the carry case (if any).
Disinfection, maintenance and cleaning
- Lacquered elements. For cleaning products that do not contain abrasives are recommended.
- Wood, plywood. Surfaces made of wood or plywood should be cleaned by means of soft damp cloth wiping them until dry. No chemical agents should be used. Notice! Wood as a natural raw material may have differences in the tree ring layout, differences in the shades as well as natural inserts like: streaks, dots. Such properties do not constitute a basis for a complaint.
- Upholstery.
- Avoid contact with oils. To do this, use oil-resistant or waterproof cover sheets.
- Upholstery should be used and stored away from direct sources of fire and heat.
- Upholstery should not be exposed to long-lasting sunlight.
- Do not use: pastes, waxes, sprays, strong detergents, agents containing solvents, cleaning agents for natural leather.
- Dirt from oils, creams must be immediately removed with a mild detergent solution (warm water with potassium soap solution) and a soft cloth or sponge.
- Daily soiling should be cleaned with a mild detergent, preferably potassium soap solution with a sponge or soft brush. At the end, wipe the cleaned place with a damp cloth and then wipe dry.
- Stronger spot soiling should be cleaned using a 25% solution of ethyl alcohol. Wipe gently with soaked gauze swab. At the end, wipe the cleaned place with a damp cloth and then wipe dry.
- Disinfect if necessary disinfectants dedicated to PVC, PU upholsteries. After disinfecting the tabletop or the mattress with any disinfectant thoroughly dry up the upholstery before inserting it into the carrying case. Otherwise upholstery could be permanently stained.
Attention: Before using other agent than mild detergent you need to check its influence on the place out of eyeshot. Cleaning should be carried out carefully.
Exploitation remarks
- The table is intended for use inside the dry and closed rooms and for the treatment of one person only at a time.
- It is unacceptable to shift the table along with a patient on it. Rapid sitting on the table (jumping on), sitting, kneeling and basing on the headrest, shelves and armrests is forbidden .
- While folding and closing the table attention should be paid to avoid snapping the cables.
- The table should be used and stored far away from the direct sources of fire and heat.
- Only after meeting the above recommendations there are no contraindications to use the product.
- Each serious incident related to the device should be reported to the manufacturer and the competent authority of the Member State in which the user and/or patient is established.
Technical data
Dynamic resistance – measurement made with an evenly distributed dynamic load, simulating the tensions that occur during a typical classical massage. **Static resistance – measurement made with an evenly distributed, fixed static load.
Meaning of pictographs
WARRANTY CONDITIONS
- For the purposes of the guarantee:
- “Manufacturer” refers to HABYS Spółka z ograniczoną odpowiedzialnością (Limited Liability Company) with its registered seat in Jasło, ul. Produkcyjna 16, 38-200 Jasło, entered into the Register of Entrepreneurs kept by the District Court in Rzeszów, XII Commercial Division of the National Court Register, with the assigned KRS number: 0000513317, with the share capital in the amount of PLN 10.750.000 (ten million seven hundred fifty thousand zlotys), the capital has been fully paid up, NIP: 6852208438, REGON: 180186290.
- “Buyer” refers to the final Buyer of the equipment, manufactured by the Manufacturer, including both the consumer and the entrepreneur.
- “Distributor” refers to an entity that, under an agreement with the Manufacturer, sells the Equipment in a designated area.
- “Authorized Service Centre” refers only to a service held by the Manufacturer or a service indicated by the Manufacturer and held by its Distributor,
- “Equipment” refers to a movable item, manufactured by the Manufacturer, being the subject of the sales and to which the said warranty applies.
- The manufacturer ensures good quality and efficient operation of the equipment for which the warranty card has been issued, for the period of: 2 years for constructional elements and 12 months for upholstered elements.
- The guarantee repair does not include the activities provided for in the manual, which the Buyer is obliged to perform on his own (installation of the Equipment, maintenance of the Equipment, etc.).
- Liability under the guarantee covers only defects resulting from causes inherent in the Equipment., In particular, the guarantee does not cover any damage resulting from improper or inconsistent use, storage, maintenance or transport of the Equipment, as well as colour differences between the parts exposed and not exposed to solar radiation, the influence of chemical or abrasive agents, atmospheric pollution or accidental punctures and abrasions, the presence of stains or rings from greasy or dying substances (fats, creams, lotions or oils), permanent staining with dyes such as inks, permanent markers or other non-permanent dyes used in the production of clothing (e.g. dyes used to make blue jeans).
- The guarantee does not cover any mechanical damage to the Equipment.
- The buyer loses the guarantee rights in the event of:
- the Manufacturer states that the Equipment was repaired by entity other than the Authorized Service,
- making any design modifications to the Equipment without the prior written consent of the Manufacturer,
- using the Equipment contrary to its intended use,
- using the Equipment after revealing any defect in it.
- Regardless of the loss of the guarantee rights, described above, in point 6, the Manufacturer shall not be liable for any damage to property or caused to third parties, which may be caused by the use of the Equipment covered by the guarantee.
- The guarantee does not exclude or limit the rights resulting from the warranty for defects. Exercising the rights under the guarantee does not affect the seller’s liability under the warranty for defects. If the Buyer exercises the rights under the guarantee, the time limit for the exercise of the rights under the warranty for defects is suspended on the date the Manufacturer is notified of the defect. The period runs further from the date of the Manufacturer’s refusal to perform the obligations arising from the guarantee or the ineffective expiry of the time for their performance.
- The scope of the guarantee coverage is limited to the territory of the country in which the Equipment was sold.
- The Manufacturer shall perform its obligations under the guarantee (removal of defects or damage to the structure of the Equipment arising from reasons inherent in the Equipment, and disclosed during the guarantee period) free of charge within 14 days from the date of delivery of the Equipment to the Manufacturer or the Authorized Service Centre. If the repair of the Equipment cannot be performed within the above-mentioned period, the Manufacturer shall inform the Buyer of the above, and also indicate the reasons for the delay and the expected date of fulfilment of the recognized guarantee request.
- The use of the guarantee rights requires the total (cumulative) fulfilment of four conditions:
- presenting a VAT invoice, receipt or other proof of purchase of the equipment to the Manufacturer, photographic documentation of the defective Equipment, together with a brief description of the reasons for submitting a guarantee claim,
- reporting the defect within 14 (fourteen) days of its detection,
- delivering the Equipment in original packaging at the expense of the Manufacturer, to the address indicated above in the guarantee card or to the address of the Authorized Service Centre,
- designation of the place where the Manufacturer delivers the equipment after repairing it (limited to the country in which the Equipment was purchased).
- The guarantee period is extended for the duration of the repair, starting from the date of delivery of the Equipment to the Manufacturer or to the Authorized Service Centre, to the date on which the Equipment was returned to the Buyer.
- The responsibility of the Manufacturer or the Authorized Service Centre is to define the scope and the method of repairing the Equipment.
- The guarantee is limited to the repair of the Equipment. The Manufacturer reserves the right to replace the Equipment with a non-defective one, if the repair exceeds the price of the Equipment indicated in the proof of purchase. Under the guarantee, the Buyer shall not be entitled to demand that the Equipment be replaced with a new one. The guarantee, in particular, does not cover liability for losses or damages incurred by the Buyer in connection with the fact that one is not able to use the Equipment.
- The Manufacturer shall not be liable for any damage to the Equipment caused during the performance of the transport service by the delivery company until it is collected by the Manufacturer from the delivery company.
- If the shipment of the Equipment was ordered by the Manufacturer, the Buyer is obliged to check the technical condition of the Equipment upon its receipt. If the Buyer finds that the Equipment has been damaged during the transport, the Buyer is obliged to:
- immediately, not later than within 3 days from the date of receipt of the shipment, notify the Manufacturer of any damage to the Equipment that occurred during transport, in order to enable the Manufacturer to submit a complaint to the delivery company and pursue related claims,
- provide the Producer with a complaint report drawn up between the Buyer and the delivery company.
- The guarantee regulations contained in this document are the sole and exclusive guarantee rules for HABYS limited liability products.
Other language versions are available here:
www.habys.com/warrantymanuals
Manufacturer
ANJI BAISHENGJU FURNITURE CO., LTD
Green Home Furnishing Industrial Park,
Anji County, Huzhou City, Zhejiang Province, China Made in China
Authorized Representative
HABYS Sp. z o.o.
ul. Produkcyjna 16, 38-200 Jasło
tel.: +48 887 766 115,
[email protected]
www.habys.pl
Thank you for choosing AVENO LIFE products and congratulations on your purchase. We recall that the proper use and maintenance of the products ensures full satisfaction of their use for many years
























