Instruction manual & warranty for stationary massage tables
Evero
Please read the manual and the included safety instructions before using the table.
User Manual number : 011/2022
User Manual release date : 9.01.2023
APPLICATION
The stationary massage tables HABYS Evero enable the physiotherapists to perfom correct, safe and effective rehabilitation treatments, physiotherapy, physical therapy and massage aiming at treating or alleviating the course of illnesses and the results of injuries/impairments. The frame of the rehabilitation tables Evero enables an easy and complete access to the patient from each side.
INSTALLATION
- Unfolding
• Unfold the table.
• Check whether it has not been damaged during transportation. Should the table be damaged, do not install the table and inform the seller immediately. - Connection to the power supply
Before inserting the plug into the power socket, make sure that:
• the socket is properly grounded and complies with the binding regulations;
• the socket may sustain a load of the maximum power output of the device, given in the chart of the Technical Data;
• the voltage of the electrical power is in accordance with the data given in the chart of the Technical Data;
• the plug fits into the socket. Otherwise the socket needs to be replaced.
•
Do not install the devices in the open air.
• Electric actuators may work no longer than 2 minutes.
• Restart is possible after 18 minutes of rest.
• After installation of the table the power socket should be easily accessible.
• Do not use the extension cords.
• The cable should not be bent.
• The cable of the power supply may be replaced only by an authorised specialist.
• Independent repairs of the electric actuators cannot be performed.
• Avoid direct sunlight, UV radiations, rain, extensive dust, moisture.
Attention!
The manufacturer declines all responsibility if the user doesn’t follow the above mentioned rules.
OPERATION
- Electric height adjustment by using of hand-operated remote control (option available on selected models).
The tables are raised and lowered using a hand-operated remote control as described:
Control takes place by using of pressing the buttons marked with arrows – up/down. - Height adjustment by using of foot-operated remote control (option available on selected models).
The tables are raised and lowered using a foot-operated remote control as described:
Control takes place by using of pressing the buttons marked with arrows – up/down. - Height adjustment by means of walking-free foot controller (option available on selected models).
The tables are raised and lowered using a walking-free foot controller as described:
Control takes place by using of moving the walking-free foot control vertically (up or down) with a foot. The walking-free foot control is located around the base of the table.
By pushing the bar down, the tabletop goes up.
By lifting the bar upwards, the tabletop is going down. - Headrest adjustment
Headrest adjustment takes place by using a gas spring:
After releasing the lever, the headrest needs to be placed in the required position. - Armrests adjustment (option available on selected models).
The armrest can be adjusted by releasing the lock and moving it to the required height. In order to lift the armrest, just lift it without releasing the lever. - Adjustment of table top (option available in selected models).
Adjustment of table top tilting is made by pressing one of the buttons marked with symbols:
Adjustment of the back section takes place using a gas spring. After releasing the lever, place the back section in the required position.
- Drop-down side shelves of the middle section (option available on selected models)
To lower the side shelves, pull the fastening pin and reach the required position. To raise the side shelves to the horizontal position, raise them and lock with the fastening pin. The shelf locks automatically. - Chassis (option available on selected models)
The chassis is activated by raising the table with a foot lever. After pressing the lever down, table supported on wheels can be moved. In order to lock the table in the required position, lower the table so that it is supported on feet, by lifting lever to the upper position.
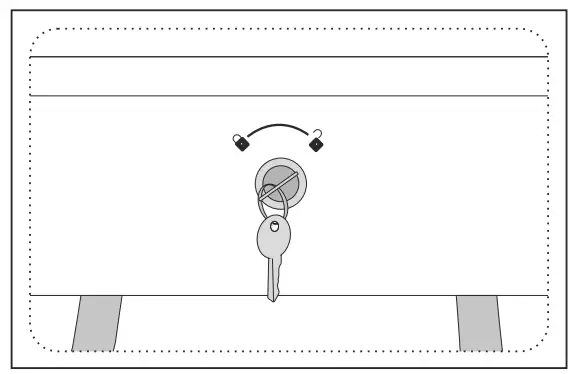
Sitting on the headrest, armrests or side shelves is forbidden. - Safety switch
The table is equipped with a safety switch. After turning the key to the “closed lock” position, power supply to the table is turned off.
RECOMMENDATIONS AND SAFETY RULES
- The table should be operated in accordance with its instruction manual.
- The damages caused as a result of non-compliance of the above-mentioned remarks shall not constitute a basis for complain.
- The device is not intended for use by the persons with limited physical or mental ability as well as people who do not have adequate experience and knowledge, unless they use it under proper supervision or after having obtained instructions from the person responsible for their safety.
- The table should be used exclusively by adult persons and in accordance with the instruction manual.
- The table is intended for use inside the dry and closed rooms and for the treatment of one person only at a time.
- It is unacceptable to move the table with a patient on it.
- Rapid sitting on the table (jumping on) is forbidden.
- Sitting, kneeling and leaning on the headrest, shelves and armrests is forbidden.
- If the patient is laid on the table without clothing, the therapist should use disposable covers or disinfect the table.
- Long-term contact of the table upholstery with oils should be avoided. For that purpose oilresistant covers or water-resistant sheets should be used.
- The table should be used and stored far away from the direct sources of fire and heat.
- The table should not be exposed to long-term solar radiation. It may cause discolouration of the table upholstery.
- The plug should not be removed from the power socket by pulling the cable.
- The device should not be disassembled and there should be no attempts to get into it.
- After bringing from a cold room, connect the table to the power supply after 15 minutes.
- Only after meeting the above recommendations there are no contraindications to use the product.
- Each serious incident related to the device should be reported to the manufacturer and the competent authority of the Member State in which the user and/or patient is established.
DISINFECTION, MAINTENANCE AND CLEANING
Steel and lacquered elements: Products that do not contain abrasives are recommended for cleaning such elements.
Disinfection: Disinfect when necessary and occasionally.
In accordance with the provisions of the law on electrical and electronic equipment waste, it is prohibited to dispose of used equipment marked with the symbol of the crossed out bin with other household waste. Used equipment should be returned to proper collection point. The above statutory obligations were introduced in order to limit the amount of waste generated from electrical and electronic equipment waste and ensure an appropriate level of collection, recovery and recycling of used equipment. The correct implementation of these obligations is important especially when used equipment contains hazardous components that have especially negative impact on the environment and human health.
DIMENSIONS AND WEIGHT
| Dimensions | Possible positions | Weight | Maximum load allowed | |
| Evero X7 | 100 kg | 200 kg | ||
| Evero X7 Integra | 107 kg | 200 kg | ||
| Evero V4 | 80 kg | 200 kg | ||
| Evero Bobath | 97 kg | 200 kg |
Power supply:
Voltage 230V ~50/60Hz; 150W; 0,7 A.
MEANING OF PICTOGRAPHS
| Attention | |
| Maximum load | |
| Medical device | |
| Authorized Representative in the EC | |
| Keep dry during storage | |
| CE mark – product compliance with the requirements of the Medical Devices Regulation (MDR) 2017/745/EU | |
| Importer | |
| Manufacturer’s name and address | |
| See the instruction manual for use | |
| Date of manufacture |
WARRANTY CONDITIONS
- For the purposes of the guarantee:
a) “Manufacturer” refers to HABYS Spółka z ograniczoną odpowiedzialnością (Limited Liability Company) with its registered seat in Jasło, ul. Produkcyjna 16, 38-200 Jasło, entered into the Register of Entrepreneurs kept by the District Court in Rzeszów, XII Commercial Division of the National Court Register, with the assigned KRS number: 0000513317, with the share capital in the amount of PLN 10.750.000 (ten million seven hundred fifty thousand zlotys), the capital has been fully paid up, NIP:
6852208438, REGON: 180186290.
b) “Buyer” refers to the final Buyer of the equipment, manufactured by the Manufacturer, including both the consumer and the entrepreneur.
c) “Distributor” refers to an entity that, under an agreement with the Manufacturer, sells the Equipment in a designated area.
d) “Authorized Service Centre” refers only to a service held by the Manufacturer or a service indicated by the Manufacturer and held by its Distributor,
e) “Equipment” refers to a movable item, manufactured by the Manufacturer, being the subject of the sales and to which the said warranty applies. - The manufacturer ensures good quality and efficient operation of the equipment for which the warranty card has been issued, for the period of: 2 years for constructional elements, 2 years for upholstered elements and 2 years for electronic and hydraulic accessories.
- The guarantee repair does not include the activities provided for in the manual, which the Buyer is obliged to perform on his own (installation of the Equipment, maintenance of the Equipment, etc.).
- Liability under the guarantee covers only defects resulting from causes inherent in the Equipment., In particular, the guarantee does not cover any damage resulting from improper or inconsistent use, storage, maintenance or transport of the Equipment, as well as colour differences between the parts exposed and not exposed to solar radiation, the influence of chemical or abrasive agents, atmospheric pollution or accidental punctures and abrasions, the presence of stains or rings from greasy or dying substances (fats, creams, lotions or oils), permanent staining with dyes such as inks, permanent markers or other nonpermanent dyes used in the
production of clothing (e.g. dyes used to make blue jeans). - The guarantee does not cover any mechanical damage to the Equipment.
- The buyer loses the guarantee rights in the event of:
a) the Manufacturer states that the Equipment was repaired by entity other than the Authorized Service,
b) making any design modifications to the Equipment without the prior written consent of the Manufacturer,
c) using the Equipment contrary to its intended use,
d) using the Equipment after revealing any defect in it. - Regardless of the loss of the guarantee rights, described above, in point 6, the Manufacturer shall not be liable for any damage to property or caused to third parties, which may be caused by the use of the Equipment covered by the guarantee.
- The guarantee does not exclude or limit the rights resulting from the warranty for defects. Exercising the rights under the guarantee does not affect the seller’s liability under the warranty for defects. If the Buyer exercises the rights under the guarantee, the time limit for the exercise of the rights under the warranty for defects is suspended on the date the Manufacturer is notified of the defect. The period runs further from the date of the Manufacturer’s refusal to perform the obligations arising from the guarantee or the ineffective expiry of the time for their performance.
- The scope of the guarantee coverage is limited to the territory of the country in which the Equipment was sold.
- The Manufacturer shall perform its obligations under the guarantee (removal of defects or damage to the structure of the Equipment arising from reasons inherent in the Equipment, and disclosed during the guarantee period) free of charge within 14 days from the date of delivery of the Equipment to the Manufacturer or the Authorized Service Centre. If the repair of the Equipment cannot be performed within the above-mentioned period, the Manufacturer shall inform the Buyer of the above, and also indicate the reasons for the delay and the expected date of fulfilment of the recognized guarantee request.
- The use of the guarantee rights requires the total (cumulative) fulfilment of four conditions:
a) presenting a VAT invoice, receipt or other proof of purchase of the equipment to the Manufacturer, photographic documentation of the defective Equipment, together with a brief description of the reasons for submitting a guarantee claim,
b) reporting the defect within 14 (fourteen) days of its detection,
c) delivering the Equipment in original packaging at the expense of the Manufacturer, to the address indicated above in the guarantee card or to the address of the Authorized Service Centre,
d) designation of the place where the Manufacturer delivers the equipment after repairing it (limited to the country in which the Equipment was purchased). - The guarantee period is extended for the duration of the repair, starting from the date of delivery of the Equipment to the Manufacturer or to the Authorized Service Centre, to the date on which the Equipment was returned to the Buyer.
- The responsibility of the Manufacturer or the Authorized Service Centre is to define the scope and the method of repairing the Equipment.
- The guarantee is limited to the repair of the Equipment. The Manufacturer reserves the right to replace the Equipment with a non-defective one, if the repair exceeds the price of the Equipment indicated in the proof of purchase. Under the guarantee, the Buyer shall not be entitled to demand that the Equipment be replaced with a new one. The guarantee, in particular, does not cover liability for losses or damages incurred by the Buyer in connection with the fact that one is not able to use the Equipment.
- The Manufacturer shall not be liable for any damage to the Equipment caused during the performance of the transport service by the delivery company until it is collected by the Manufacturer from the delivery company.
- If the shipment of the Equipment was ordered by the Manufacturer, the Buyer is obliged to check the technical condition of the Equipment upon its receipt. If the Buyer finds that the Equipment has been damaged during the transport, the Buyer is obliged to:
a) immediately, not later than within 3 days from the date of receipt of the shipment, notify the Manufacturer of any damage to the Equipment that occurred during transport, in order to enable the Manufacturer to submit a complaint to the delivery company and pursue related claims,
b) provide the Producer with a complaint report drawn up between the Buyer and the delivery company. - The guarantee regulations contained in this document are the sole and exclusive guarantee rules for HABYS limited liability products.
Other language versions available here:
www.habys.com/warrantymanuals
Manufacturer
Shanghai Sintang Industrial Co., Ltd,
Linsheng Road No. 136, Tinglin Town,
Jinshan District, Shanghai, China
Made in China
Authorized Representative
HABYS Sp. z o.o.
ul. Produkcyjna 16, 38-200 Jasło
tel.: +48 887 766 115, [email protected]
www.habys.pl
Control takes place by using of pressing the buttons marked with arrows – up/down.
Control takes place by using of pressing the buttons marked with arrows – up/down.
Control takes place by using of moving the walking-free foot control vertically (up or down) with a foot. The walking-free foot control is located around the base of the table.
After releasing the lever, the headrest needs to be placed in the required position.
The armrest can be adjusted by releasing the lock and moving it to the required height. In order to lift the armrest, just lift it without releasing the lever.
Adjustment of table top tilting is made by pressing one of the buttons marked with symbols:
Adjustment of the back section takes place using a gas spring. After releasing the lever, place the back section in the required position.
To lower the side shelves, pull the fastening pin and reach the required position. To raise the side shelves to the horizontal position, raise them and lock with the fastening pin. The shelf locks automatically.
The chassis is activated by raising the table with a foot lever. After pressing the lever down, table supported on wheels can be moved. In order to lock the table in the required position, lower the table so that it is supported on feet, by lifting lever to the upper position.
The table is equipped with a safety switch. After turning the key to the “closed lock” position, power supply to the table is turned off.


















