User Manual number: 001/2022
Instruction Manual
Vesta Portable Massage Tables
Instruction manual & warranty for portable massage tables
Thank you for choosing AVENO LIFE products and congratulations on your purchase. We recall that the proper use and maintenance of the products ensure full satisfaction of their use for many years.
Application
Portable rehabilitation tables enable the physiotherapist correct, safe and effective conduct of rehabilitation treatment, physiotherapy, physical therapy, massage, aiming at treating or alleviating the course of illnesses and the results of injuries /impairments. Used at the medical and doctor’s offices, they allow patients to adopt the correct posture for conducting effective and safe treatment or examination.
The construction of the rehabilitation tables enables the physiotherapist easy and complete access to the patient from each side, thanks to which all various treatments produce desired results and ensure proper conditions for the conduct of a treatment/examination.
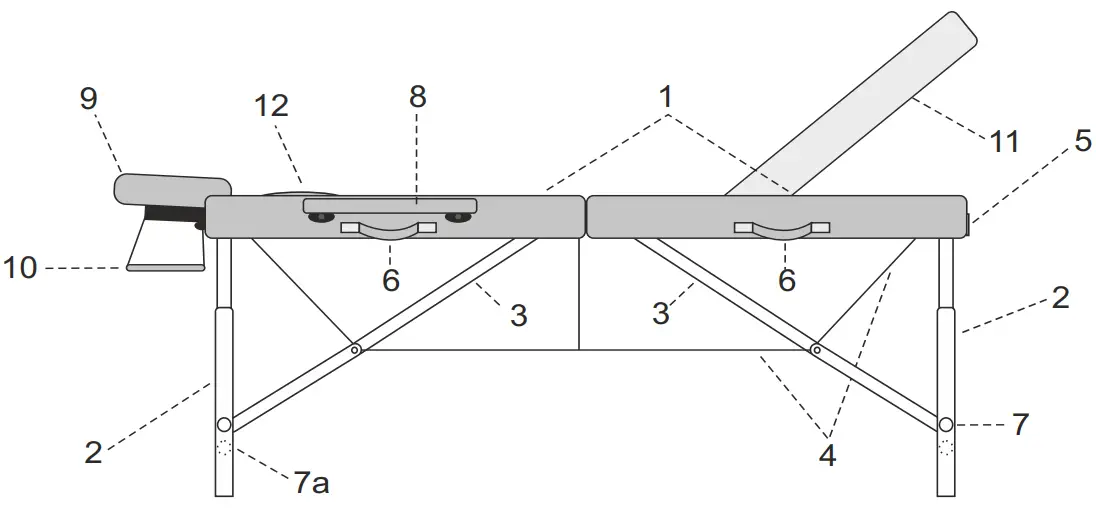
Construction of the portable table

| 1. Wooden table top covered with upholstery 2. External legs 3. External legs’ spacers 4. System of cables 5. Suitcase lock 6. Transport handles | 7. Locking pin 7a. Additional locking pin (regards Aura and Eden) 8. Armrests (regards Aura, Eden, Verona and Athena) 9. Headrest 10. Arms front shelf (additional option) 11. Elevated backrest (regards stołu Eden, Vesta i Athena) 12. Face hole filler |
Operation
Sequence of unfolding the table:
- Table in the folded condition constitutes a suitcase.
- Open the lock (5).
- Turn the table tops aside (1).
- Draw out the equipment (8, 9 ,10) from the table inside.
- Unfold the legs outside (2) maximally extended.
- Put the table on a hard and even foundation.
(Prior to loading the centre of the table top should be tilted up approx. 3 cm). - Check the tension of the system of cables (4).
- Set the appropriate table height according to the table entitled ”Height adjustment”.
- Install the headrest and the remaining equipment (9) (8, 10).
- Lifting of the mobile part of the table takes place by means of:
a) unlocking elevated backrest,
b) lifting on the required height.* - Lowering of the mobile part of the table takes place by its maximum lifting and then lowering it down and locking.*
Tab. Height adjustment
| 1 | 2 | 3 | Tables | Description of activities |
![]() | eSpirit | 1. Unscrew a knob. 2. Remove the mobile leg from the fixing screw, move the mobile leg to the chosen position. 3. Tighten the knob. | ||
![]() | Aura Eden Elza Olivia | 1. Unscrew a knobs. 2. Remove the mobile leg from the fixing screw, move the mobile leg to the chosen position. 3. Tighten the knobs. | ||
![]() | Verona II Altus, Vesta Luna Light Luna Light Mini | 1. Drive in the locking pin. 2. Remove the mobile leg to the chosen position. 3. Drive out the locking pin. | ||
![]() | Torina Fairlane ThermaTop Cinnamon | 1. Unscrew a knobs. 2. Remove the mobile leg from the fixing screw, move the mobile leg to the chosen position. 3. Drive out the locking pin. | ||
Heated table top*
- Turn on the table top heating by pressing the button ON/OFF on the remote control (1).
- Set the requested temperature by pressing the buttons located below the HEAT ‘+’ or ‘-‘ (2) , in the range from 1 to 10. Heated table top warms up to a maximum temperature of 32°C.
- Set the auto-off function by pressing the buttons located below the AUTO OFF ‘+’ or ‘-‘(3), in the range from 1 to 10. The digits represent the number of hours. By default, the heating will turn off after 1 hour. If we set 3, for example, the heating will automatically switch off after 3 hours, etc.

NOTE:
When the heating in the tabletop switches off automatically, you can reset it by pressing the button ON / OF (1). If the letter ‘F’ displays on the remote control(4), disconnect the remote control from the table and the power supply, wait at least 20 seconds and reconnect it.
Laying the patient
The patient sits at the table side onto the upholstered top and adopts a comfortable horizontal position.
The above-mentioned activities are safeguarded by the massage therapist, who determines the correct position on the table for the patients, and after the finished treatment helps them get down safely from the table.
Folding the table down
- Dismount the headrest (9) and the remaining accessories (8, 10) (if any).
- Reset the table from the working condition to the folding position (lateral position on the rubber feet).
Fold the external legs paying attention to the correct location of the cables and their fastening parts. - Put the equipment inside the table, close the suitcase by means of lock (5) and Place the suitcase in the carry case (if any).
Disinfection, maintenance and cleaning
- Lacquered elements. For cleaning products that do not contain abrasives are recommended.
- Wood, plywood. Surfaces made of wood or plywood should be cleaned by means of soft damp cloth wiping them until dry. No chemical agents should be used.
Notice! Wood as a natural raw material may have differences in the tree ring layout, differences in the shades as well as natural inserts like: streaks, dots. Such properties do not constitute a basis for a complaint. - Upholstery.
• Avoid contact with oils. To do this, use oil-resistant or waterproof cover sheets.
• Upholstery should be used and stored away from direct sources of fire and heat.
• Upholstery should not be exposed to long-lasting sunlight.
• Do not use: pastes, waxes, sprays, strong detergents, agents containing solvents, cleaning agents for natural leather.
• Dirt from oils, creams must be immediately removed with a mild detergent solution (warm water with potassium soap solution) and a soft cloth or sponge.
• Daily soiling should be cleaned with a mild detergent, preferably potassium soap solution with a sponge or soft brush. At the end, wipe the cleaned place with a damp cloth and then wipe dry.
• Stronger spot soiling should be cleaned using a 25% solution of ethyl alcohol. Wipe gently with soaked gauze swab. At the end, wipe the cleaned place with a damp cloth and then wipe dry.
• Disinfect if necessary disinfectants dedicated to PVC, PU upholsteries. After disinfecting the tabletop or the mattress with any disinfectant thoroughly dry up the upholstery before inserting it into the carrying case. Otherwise upholstery could be permanently stained.
Attention: Before using other agent than mild detergent you need to check its influence on the place out of eyeshot. Cleaning should be carried out carefully.
Exploitation remarks
- The table is intended for use inside the dry and closed rooms and for the treatment of one person only at a time.
- It is unacceptable to shift the table along with a patient on it. Rapid sitting on the table (jumping on), sitting, kneeling and basing on the headrest, shelves and armrests is forbidden .
- While folding and closing the table attention should be paid to avoid snapping the cables.
- The table should be used and stored far away from the direct sources of fire and heat.
- Only after meeting the above recommendations there are no contraindications to use the product.
- Each serious incident related to the device should be reported to the manufacturer and the competent authority of the Member State in which the user and/or patient is established.
Technical data
| Table | Length | Width | Adjustable height | Dimensions after folding | Weight without accessories | Dynamic resistance* | Static resistance** |
| eSpirit | 184 cm | 60 cm 70 cm | 58 – 79 cm 58 – 79 cm | 92x60x20 cm 92x70x20 cm | 13,0 kg 14,5 kg | 270 kg | 1000 kg |
| Aura | 184 cm | 64 cm | 61 – 87 cm | 92x68x18 cm | 13,4 kg | 250 kg | 900 kg |
| Eden | 184 cm | 64 cm | 61 – 87 cm | 92x68x18 cm | 14,5 kg | 250 kg | 900 kg |
| Elza | 192 cm | 71 cm | 62 – 87 cm | 96x71x18 cm | 15,4 kg | 250 kg | 900 kg |
| Olivia | 184 cm | 71 cm | 62 – 87 cm | 92x71x24 cm | 16,3 kg | 270 kg | 1000 kg |
| Verona II | 184 cm | 71 cm | 60 – 80 cm | 92x71x18 cm | 12,0 kg | 250 kg | 900 kg |
| Altus | 184 cm | 60 cm 71 cm | 60,5 – 81,5 cm 60,5 – 81,5 cm | 93x60x20 cm 93x71x20 cm | 12,5 kg 13,5 kg | 270 kg | 1000 kg |
| Vesta | 184 cm | 71 cm | 61,5 – 81,5 cm | 92x71x20 cm | 16,8 kg | 250 kg | 900 kg |
| Luna Light | 184 cm | 60 cm | 61 – 81 cm | 92x60x20 cm | 10,3 kg | 270 kg | 1000 kg |
| Torina | 184 cm | 71 cm | 61 – 81 cm | 92x71x18 cm | 15,5 kg | 270 kg | 1000 kg |
| Fairlane Therma-Top Cinnamon | 183 cm | 70 cm | 58 – 84 cm | 93x71x18 cm | 15,4 kg | 270 kg | 1000 kg |
*Dynamic resistance – measurement made with an evenly distributed dynamic load, simulating the tensions that occur during a typical classical massage.
**Static resistance – measurement made with an evenly distributed, fixed static load.
Meaning of pictographs
![]() | Attention |
| Maximum load | |
| Medical device | |
| Authorized Representative in the EC | |
| Keep dry during storage | |
![]() | CE mark – product compliance with the requirements of the Medical Devices Regulation (MDR) 2017/745/EU |
| Importer | |
![]() | Manufacturer’s name and address |
![]() | See the instruction manual for use |
| Date of manufacture |
WARRANTY CONDITIONS
- For the purposes of the guarantee:
a) “Manufacturer” refers to HABYS Spółka z ograniczoną odpowiedzialnością (Limited Liability Company) with its registered seat in Jasło, ul. Produkcyjna 16, 38-200 Jasło, entered into the Register of Entrepreneurs kept by the District Court in Rzeszów, XII Commercial Division of the National Court Register, with the assigned KRS number: 0000513317, with the share capital in the amount of PLN 10.750.000 (ten million seven hundred fifty thousand zlotys), the capital has been fully paid up, NIP:
6852208438, REGON: 180186290.
b) “Buyer” refers to the final Buyer of the equipment, manufactured by the Manufacturer, including both the consumer and the entrepreneur.
c) “Distributor” refers to an entity that, under an agreement with the Manufacturer, sells the Equipment in a designated area.
d) “Authorized Service Centre” refers only to a service held by the Manufacturer or a service indicated by the Manufacturer and held by its Distributor,
e) “Equipment” refers to a movable item, manufactured by the Manufacturer, being the subject of the sales and to which the said warranty applies. - The manufacturer ensures good quality and efficient operation of the equipment for which the warranty card has been issued, for the period of: 2 years for constructional elements and 12 months for upholstered elements.
- The guarantee repair does not include the activities provided for in the manual, which the Buyer is obliged to perform on his own (installation of the Equipment, maintenance of the Equipment, etc.).
- Liability under the guarantee covers only defects resulting from causes inherent in the Equipment., In particular, the guarantee does not cover any damage resulting from improper or inconsistent use, storage, maintenance or transport of the Equipment, as well as colour differences between the parts exposed and not exposed to solar radiation, the influence of chemical or abrasive agents, atmospheric pollution or accidental punctures and abrasions, the presence of stains or rings from greasy or dying substances (fats, creams, lotions or oils), permanent staining with dyes such as inks, permanent markers or other nonpermanent dyes used in the production of clothing (e.g.
dyes used to make blue jeans). - The guarantee does not cover any mechanical damage to the Equipment.
- The buyer loses the guarantee rights in the event of:
a) the Manufacturer states that the Equipment was repaired by entity other than the Authorized Service,
b) making any design modifications to the Equipment without the prior written consent of the Manufacturer,
c) using the Equipment contrary to its intended use,
d) using the Equipment after revealing any defect in it. - Regardless of the loss of the guarantee rights, described above, in point 6, the Manufacturer shall not be liable for any damage to property or caused to third parties, which may be caused by the use of the Equipment covered by the guarantee.
- The guarantee does not exclude or limit the rights resulting from the warranty for defects. Exercising the rights under the guarantee does not affect the seller’s liability under the warranty for defects. If the Buyer exercises the rights under the guarantee, the time limit for the exercise of the rights under the warranty for defects is suspended on the date the Manufacturer is notified of the defect. The period runs further from the date of the Manufacturer’s refusal to perform the obligations arising from the guarantee or the ineffective expiry of the time for their performance.
- The scope of the guarantee coverage is limited to the territory of the country in which the Equipment was sold.
- The Manufacturer shall perform its obligations under the guarantee (removal of defects or damage to the structure of the Equipment arising from reasons inherent in the Equipment, and disclosed during the guarantee period) free of charge within 14 days from the date of delivery of the Equipment to the Manufacturer or the Authorized Service Centre. If the repair of the Equipment cannot be performed within the above-mentioned period, the Manufacturer shall inform the Buyer of the above, and also indicate the reasons for the delay and the expected date of fulfilment of the recognized guarantee request.
- The use of the guarantee rights requires the total (cumulative) fulfilment of four conditions:
a) presenting a VAT invoice, receipt or other proof of purchase of the equipment to the Manufacturer, photographic documentation of the defective Equipment, together with a brief description of the reasons for submitting a guarantee claim,
b) reporting the defect within 14 (fourteen) days of its detection,
c) delivering the Equipment in original packaging at the expense of the Manufacturer, to the address indicated above in the guarantee card or to the address of the Authorized Service Centre,
d) designation of the place where the Manufacturer delivers the equipment after repairing it (limited to the country in which the Equipment was purchased). - The guarantee period is extended for the duration of the repair, starting from the date of delivery of the Equipment to the Manufacturer or to the Authorized Service Centre, to the date on which the Equipment was returned to the Buyer.
- The responsibility of the Manufacturer or the Authorized Service Centre is to define the scope and the method of repairing the Equipment.
- The guarantee is limited to the repair of the Equipment. The Manufacturer reserves the right to replace the Equipment with a non-defective one, if the repair exceeds the price of the Equipment indicated in the proof of purchase. Under the guarantee, the Buyer shall not be entitled to demand that the Equipment be replaced with a new one. The guarantee, in particular, does not cover liability for losses or damages incurred by the Buyer in connection with the fact that one is not able to use the Equipment.
- The Manufacturer shall not be liable for any damage to the Equipment caused during the performance of the transport service by the delivery company until it is collected by the Manufacturer from the delivery company.
- If the shipment of the Equipment was ordered by the Manufacturer, the Buyer is obliged to check the technical condition of the Equipment upon its receipt. If the Buyer finds that the Equipment has been damaged during the transport, the Buyer is obliged to:
a) immediately, not later than within 3 days from the date of receipt of the shipment, notify the Manufacturer of any damage to the Equipment that occurred during transport, in order to enable the Manufacturer to submit a complaint to the delivery company and pursue related claims,
b) provide the Producer with a complaint report drawn up between the Buyer and the delivery company. - The guarantee regulations contained in this document are the sole and exclusive guarantee rules for HABYS limited liability products.
Other language versions available here:
www.habys.com/warrantymanuals
Manufacturer
Shanghai Sintang Industrial Co., Ltd,
Linsheng Road No. 136, Tinglin Town,
Jinshan District, Shanghai, China
Made in China
Authorized Representative
HABYS Sp. z o.o.
ul. Produkcyjna 16, 38-200 Jasło
tel.: +48 887 766 115, [email protected]
www.habys.pl



























