ifm SI5006 Electronic Flow Monitors

Preliminary note
Symbols used
Instruction
Reaction, result
Designation of buttons, switches or indications
Cross-reference
Important note
Non-compliance can result in malfunctions or interference.
Safety instructions
- The device described is a subcomponent for integration into a system.
- The manufacturer is responsible for the safety of the system.
- The system manufacturer undertakes to perform a risk assessment and to create documentation in accordance with legal and normative requirements to be provided to the operator and user of the system. This documentation must contain all necessary information and safety instructions for the operator, the user and, if applicable, for any service personnel authorized by the manufacturer of the system.
- Read this document before setting up the product and keep it during the entire service life.
- The product must be suitable for the corresponding applications and environmental conditions without any restrictions.
- Only use the product for its intended purpose (→ Functions and features).
- Only use the product for permissible media (→ Technical data).
- If the operating instructions or the technical data are not adhered to, personal injury and/or damage to property may occur.
- The manufacturer assumes no liability or warranty for any consequences caused by tampering with the product or incorrect use by the operator.
- Installation, electrical connection, set-up, operation and maintenance of the unit must be carried out by qualified personnel authorized by the machine operator.
- Protect units and cables against damage.
Functions and features
This is a class A product. This product may cause radio interference in domestic areas.
If required, take appropriate EMC screening measures.
Application area
The unit monitors the flow of liquid and gaseous media.
Operating principle flow monitoring
- The unit detects the flow speed to the calorimetric measuring principle and switches the output:
- output closed if medium is flowing / output open if no medium is flowing. This applies to the unit on delivery: output = normally open. In case of need you can change the output to normally closed (→ 8.2). It then applies: output open if medium is flowing.
- If the flow speed increases, the switching status changes when the switch point is reached.
- If the flow speed falls again, the switching status changes if the value “SP minus hysteresis” is reached.
The hysteresis changes with the flow speed and it is essentially influenced by the set monitoring range.
It is 2…5 cm/s for the setting 5…100 cm/s (= factory setting), it increases with higher flow speeds. - The typical response time of the unit is 1…10 s. It can be influenced by the setting of the switch point:
- Low switch point = quick reaction with rising flow.
- High switch point = quick reaction with falling flow.
Installation
Using process adapters the unit can be adapted to different process connections.
- Adapters have to be ordered separately as accessories.
A correct fit of the unit and ingress resistance of the connection are only ensured using ifm adapters. - For small flow rates ifm adapter blocks are available.
Installation location
| General | ![]() |
| ||
| UK | ||||
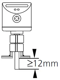
| • The sensor tip is to be completely sur- rounded by the medium. • Insertion depth of the sensor: minimum 12 mm. | ||||
| Recommended | ![]()
| ![]() | ||
| • For horizontal pipes: mounting from the side, • For vertical pipes: mounting in the rising pipe. | ||||
| Conditional | ![]() | ![]() | ||
| • Horizontal pipe /mounting from the bottom: if the pipe is free from build-up. • Horizontal pipe /mounting from the top: if the pipe is completely filled with medium. | ||||
| To avoid | ![]() | ![]() | ||
| • The sensor tip must not be in contact with the pipe wall� • Do not mount in downpipes that are open at the bottom! |
Sources of interference in the pipe system
Components integrated in the pipes, bends, valves, reductions, etc. lead to turbulence of the medium. This affects the function of the unit.
Recommendation: Adhere to the distances between sensor and sources of interference:

D = pipe diameter; S = sources of interference
Mounting operation
- Ensure that the system is free of pressure during installation.
- Ensure that no media can leak at the mounting location during installa-tion.

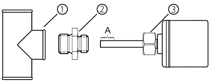
- Grease the threads of the process connection (1), adapter (2) and nut (3). Note: The sensor tip (A) must not be in contact with grease.
- Screw the suitable adapter into the process connection.
- Place the flow monitor onto the adapter and tighten the nut. Tightening torque 25 Nm. Ensure that the unit is correctly oriented.
Electrical connection
- The unit must be connected by a qualified electrician.
- The national and international regulations for the installation of electrical equip-ment must be adhered to.
- The unit complies with overvoltage category II.
- Caution: For the output circuit the same protective measures as for the supply circuit must be taken.
- Insert a miniature fuse according to IEC60127-2 Sheet 1 (≤ 5 A fast acting).
- The permissible potential difference between supply and output circuit is max.
300 V. - The metal parts of the housing must be properly grounded. For this, you can, for example, attach a grounding clip to the connector and ensure the grounding using a potential equalisation cable.
- The design of the unit corresponds to protection class II.
- Due to the integrated EMC filters, leakage currents of typ. < 0.5 mA can flow via the potential equalisation to the earth potential.
- If several units are used in parallel, take into account that the leakage currents add.
- The applicable standards must be adhered to.
- Disconnect power.
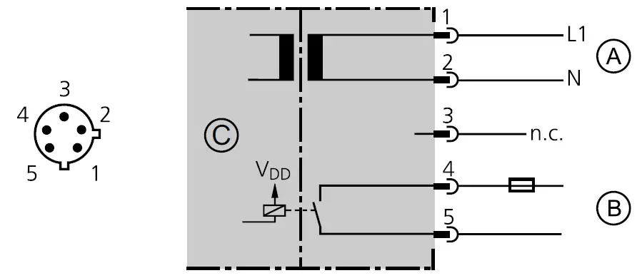
- Connect the unit as follows:

A: supply circuit; B: output circuit
: safe separation
Core colours of ifm sockets:
1 = BN (brown), 2 = BU (blue), 4 = BK (black), 5 = WH (white)
For information about available sockets go to www.ifm.com.
Operating and display elements

- Operation display
- The green LEDs indicate the current flow (the LEDs 0 to 9 represent the range between no flow and maximum flow).
- A lighting LED indicates the position of the switch point (orange = output closed, red = output open).
2, 3: Setting buttons for adjustment and configuration
Set-up and settings for water
(For media other than water → 8.1: Low flow adjustment).
- Switch on the supply voltage.
All LEDs light and go out again step by step. During this time the output is closed (if configured as normally open). The unit is in the operating mode. - Let the normal flow circulate in the installation.
- Check the display and determine further actions.
| 1 | ![]() | The factory setting is suitable for the application. No further settings are required. | ||
| UK | ||||
| 2 | ![]() | Your normal flow is below the representation range of the display. 2 setting options: Change the switch point (→ 7.1). Carry out high flow adjustment (→ 7.2). | ||
| 3 | ![]() | Your normal flow exceeds the representation range of the display (LED 9 flashes). Carry out high flow adjustment (→ 7.2). |
You can restore the factory setting any time. (→ 8.3).
Change the switch point (optional)
For the factory setting the switch point is at LED 7. A change makes sense in the folowing cases:
- the display shows example 2.
- the flow fluctuates much or pulsates.
- a faster response time of the unit is requested (low switch point = fast response with rising flow, high switch point = fast response with falling flow).
Briefly press the pushbutton![]()
- The switch point LED flashes.
Press the push button
as often as required. Each press of the pushbutton shifts the LED by one position in the indicated direction.
Note: If no pushbutton is pressed for 2 s, the unit returns to the operating mode with the newly set value.
High flow adjustment (optional)
The unit determines the existing flow as normal flow and adapts the display representation (all LEDs except the switch point LED light green).
- Let the normal flow circulate in the installation.
- Press the pushbutton
and keep it pressed.- LED 9 lights, after approx. 5 s it flashes.
- Release the pushbutton.
The unit is now adapted to your flow conditions. It passes into the operating mode, the display should now show example 1.
Note: The adjustment affects the switch point: It is increased proportionally (maximum up to LED 7).
Additional settings (optional)
Low flow adjustment
If the unit is used in media other than water, you should additionally adapt the unit to the minimum flow.
Note: The following adjustment must only be carried out after the high flow adjustment.
- Let the minimum flow circulate in the installation or ensure flow standstill.
- Press the pushbutton
and keep it pressed.- LED 0 lights, after approx. 5 s it flashes.
- Release the pushbutton. The unit adopts the new value and passes into the operating mode.
Configure the switching output
The unit is delivered as normally open. In case of need you can change the output to normally closed:
- Press the pushbutton
for at least 15 s. - LED 0 lights, after approx. 5 s it flashes.
- After 10 s the current setting is displayed: LEDs 5…9 light orange (= output normally open).
- After approx. 15 s LEDs 0…4 flash orange.
- Release the pushbutton. The output is changed to normally closed operation.
For a new changeover repeat the operation.
Restore the factory setting (reset)
- Press the pushbutton
for at least 15 s. - LED 9 lights, after approx. 5 s it flashes.
- After approx. 15 s LEDs 0…9 flash orange.
- Release the pushbutton. All settings are reset to the factory setting:
- operating area: 5 …100 cm/s for water
- switch point: LED 7
- output function: NO
- unlocked.
Lock / unlock the unit
The unit can be locked electronically to prevent unintentional settings.
- Press both setting pushbuttons simultaneously for at least 10 s in the operating mode.
- The indication goes out, the unit locks or unlocks.
On delivery: unlocked.
- The indication goes out, the unit locks or unlocks.
Error during adjustment
If no adjustment is possible, all LEDs flash red. The unit then passes into the operating mode with unchanged values.
Possible cause /aid:
| Error during installation. | ►Read chapter 4 Installation. Check whether all requirements have been met. |
| The difference between maximum flow and minimum flow is too small. | ►Increase the flow difference and carry out the adjustment once again. |
| The sequence high flow /low flow adjustment was not adhered to. | ►Carry out the two adjustment operations again in the right sequence. |
Operation
After every power on all LEDs light and go out again step by step (during this time the output is closed if configured as normally open). The unit is then ready for operation.
In case of power failure or interruption all settings remain.
| Operating indicators | |||
![]() | Green LED bar: Current flow within the representation range. Indication of the switch point (SP): LED orange: output closed. LED red: output open. | ||
| UK | |||
![]() | LED 9 flashes: current flow above the representation range. | ||
![]() | LED 0 flashes: current flow far below the representation range. | ||
| Interference indicators | |||
| Display OFF (no LED lights): | Operating voltage too low (< 85 V AC) or failed.Ensure a correct voltage supply. | ||
Maintenance
Recommended maintenance:
- Check the sensor tip for build-up from time to time.
- Clean it using a soft cloth. Stubborn build-up (e.g. lime) can be removed using a common vinegar cleaning agent.
Technical data
Technical data and scale drawing at www.ifm.com.
More information at www.ifm.com

































