

Operating instructions Flow monitors
SI0556
Preliminary note
1.1 Explanation of symbols Instruction
| Instruction | |
| Reaction to the action | |
| Reference to another section of this document | |
| Important note, especially to be adhered to | |
| Important note on the electrical connection | |
| LED lights green | |
| LED lights orange | |
| LED lights red | |
| LED flashes |
Safety instructions
- Please read the product description prior to set-up of the unit Ensure that the product is suitable for your application without any restrictions
- Improper or non-intended use may lead to malfunctions of the unit or to unwanted effects in your application
- That is why installation, electrical connection, set-up, operation, and maintenance of the unit must only be carried out by qualified personnel authorized by the machine operator
Functions and features
3.1 Application area
The unit monitors the flow and the temperature of liquid and gaseous media
3.2 Flow and temperature monitoring with output S1
The unit detects the flow velocity and the current medium temperature It links the two measured signals (logical function: AND) and switches output S1:
| flow switch point SP1 and medium temperature switch point SP2 | output S1 | |
| closed | ||
| flow < SP1 or temperature < SP2 or flow < SP1 and temperature < SP2 | open | |
This applies to the unit on delivery: output = normally open If necessary you can change the outputs to normally closed function ( 8.2). It then applies output S1 open if flow switch point SP1 and medium temperature switch point SP2.
On flow monitoring function:
- If the flow velocity increases, signal SP1 changes when the switch point is reached
- If the flow velocity falls again, signal SP1 changes when the value “SP1 minus hysteresis” is reached The hysteresis changes with the flow speed and it is essentially influenced by the set monitoring range It is 25 cm/s for the setting 5100 cm/s (= factory setting), it increases with higher flow speeds
3.3 Temperature monitoring with output S2
The unit detects the current medium temperature and switches the output S2: – Output S2 closed if medium temperature SP2 / output open if medium temperature < SP2 This applies to the unit on delivery: output = normally open In case of need you can change the outputs to normally closed ( 8.2). It then applies: output S2 open if medium temperature SP2.
Installation
Using process adapters the unit can be adapted to different process connections
- Adapters have to be ordered separately as accessories A correct fit of the unit and ingress resistance of the connection is only ensured using ifm adapters
- For small flow rates ifm adapter, blocks are available
4.1 Installation location
General
- The sensor tip is to be completely sur- rounded by the medium
- Insertion depth of the sensor: minimum
Recommended
- For horizontal pipes: mounting from the side
- For vertical pipes: mounting in the rising pipe
Conditional
- Horizontal pipe /mounting from the bottom: if the pipe is free from build-up
- Horizontal pipe /mounting from the top: if the pipe is completely filled with medium
To avoid
- The sensor tip must not be in contact with the pipe wall
- Do not mount in downpipes that are open at the bottom!
4.2 Sources of interference in the pipe system
Components integrated in the pipes, bends, valves, reductions, etc lead to the turbulence of the medium This affects the function of the unit
Recommendation: Adhere to the distances between the sensor and sources of interference:
D = pipe diameter; S = sources of interference
4.3. Mounting operation
Ensure that the system is free of pressure during installation- Ensure that no media can leak at the mounting location during installation

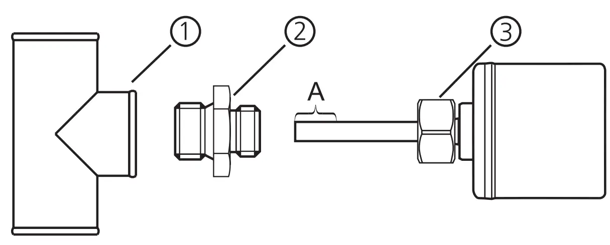
- Grease the threads of the process connection (1), adapter (2), and nut (3) Note: The sensor tip (A) must not be in contact with grease
- Screw the suitable adapter into the process connection
- Place the flow monitor onto the adapter and tighten the nut Tightening torque 25 Nm Ensure that the unit is correctly oriented
Electrical connection
The unit must be connected by a qualified electrician The national and international regulations for the installation of electrical equipment must be adhered to Voltage supply to EN 50178, SELV, PELV
- Disconnect power
- Connect the unit as follows:

S1: flow and temperature monitoring;
S2: temperature monitoring
Core colours of ifm sockets: 1 = BN (brown), 2 = WH (white), 3 = BU (blue), 4 = BK (black)
Operating and display elements

1: Operation display
- The green LEDs indicate the current flow (the LEDs 0 to 9 represent the range between no flow and maximum flow)
- A lighting LED indicates the position of the flow switch point (S1) (orange = output closed, red = output open)
2, 3: Setting buttons for adjustment and configuration
Set-up and settings for water
(For media other than water 8.1: Low flow adjustment).
- Switch on the supply voltage
> All LEDs light and go out again step by step During this time the output S1 is closed (if configured as normally open) The unit is in the operating mode - Let the normal flow circulate in the installation
- Check the display and determine further actions
| 1 | ![]() | The factory setting is suitable for the application No further settings are required for flow monitoring |
| 2 | ![]() | Your normal flow is below the representation range of the display 2 setting options: Change the switch point ( 7.1). Carry out high flow adjustment ( 7.2). |
| 3 | ![]() | Your normal flow exceeds the representation range of the display (LED 9 flashes) Carry out high flow adjustment ( 7.2). |
You can restore the factory setting any time. ( 8.3).
7.1 Change switch point SP1 (flow monitoring), optional
For the factory setting the switch, the point is at LED 7 A change makes sense if:
- the display shows example 2
- the flow fluctuates much or pulsates
- if a faster response time of the unit is requested (low switch point = fast response with the rising flow, high switch point = fast response with the falling flow)
Briefly press the pushbutton ![]()
The switch point LED flashes
Press the pushbutton
as often as required Each press of the push button shifts the LED by one position in the indicated direction
Note: If no pushbutton is pressed for 2 s, the unit returns to the operating mode with the newly set valu.
7.2 High flow adjustment (optional)
The unit determines the existing flow as normal flow and adapts the display representation (all LEDs except the switch point LED light green) Let the normal flow circulate in the installation Press the pushbutton
and keep it pressed > LED 9 lights after approx 5 s it flashes Release the pushbutton
The unit is now adapted to your flow conditions It passes into the operating mode, and the display should now show example 1
Note: The adjustment affects the switch point: It is increased proportionally (maximum up to LED 7)
7.3 Set the switch point SP2 (temperature)
Briefly press the pushbutton![]()
The current temperature and the current setting of the switch point are indicated for 5 seconds in steps of 10°C ( 10.1).
![]() | A row of LEDs red = current temperature, LED green or orange = current switch point |
| LED green if OUT = OFF; LED orange if OUT = ON | |
Briefly press the pushbutton within 5 s another time ![]()
The current setting of the switch point is displayed in steps of 1°C and can be changed
![]() | LED green = 1st digit (10 times X °C) LED green, flashing = 2nd digit (X °C) here: 51°C |
| LED green if OUT = OFF; LED orange if OUT = ON In addition the current temperature is indicated in steps of 10°C by red LEDs | |
Press the pushbutton
as often as required Each press of the pushbutton shifts the flashing LED (1st digit) by one position in the indicated direction
After LED 9 has been reached the cycle starts again at LED 0 The LED which is constantly lit (2nd digit) moves on by one position to the right (if the pushbutton
is used)
After LED 0 has been reached the cycle starts again at LED 9 The LED which is constantly lit (2nd digit) moves on by one position to the left (if the pushbutton is used)
Note: 5 s after the last press of the pushbutton the display returns to the temperature and switch point display mode (step 1) After another 5 s the unit goes to the operating mode with the newly set value
Additional settings (optional)
8.1 Low flow adjustment
If the unit is used in media other than water, you should additionally adapt the unit to the minimum flow
Note: The following adjustment must only be carried out after the high flow adjustment
Let the minimum flow circulate in the installation or ensure a flow standstill
Press the pushbutton
and keep it pressed > LED 0 lights, after approx 5 s it flashes
Release the pushbutton The unit adopts the new value and passes into the operating mode
8.2 Configure the switching outputs
The unit is delivered as normally open In case of need you can change the outputs to normally closed (the changing applies to both outputs):
Press the pushbutton
for at least 15 s.
- LED 0 lights, after approx 5 s it flashes
- After 10 s the current setting is displayed: LEDs 59 light orange (= outputs normally open)
- After approx 15 s LEDs 04 flash orange
- Release the pushbutton The outputs are changed to the normally closed operation
- For a new changeover repeat the operation
8.3 Restore the factory setting (reset)
Press the pushbutton
for at least 15 s
> LED 9 lights, after approx 5 s it flashes
> After approx 15 s LEDs 09 flash orange
Release the pushbutton All settings are reset to the factory setting:
– operating area: 5 100 cm/s for water
– switch point S1 (flow): LED 7
– switch point S2 (temperature): LED 0 (4°C)
– output function: NO
– unlocked
8.4 Lock / unlock the unit
The unit can be locked electronically to prevent unintentional settings
Press both setting pushbuttons simultaneously for at least 10 s in the operating mode
> The indication goes out, the unit locks or unlocks
On delivery: unlocked
Error during adjustment
If no adjustment is possible, all LEDs flash red The unit then passes into the operating mode with unchanged values
Possible cause /aid:
| Error during installation | Read chapter 4 Installation Check whether all requirements have been met |
| The difference between maximum flow and minimum flow is too small | Increase the flow difference and carry out the adjustment once again |
| The sequence high flow /low flow adjustment was not adhered to | Carry out the two adjustment operations again in the right sequence |
Operation
After every power on all LEDs light and go out again step by step (during this time the outputs are closed if configured as normally open)
The unit is then ready for operation
In case of power failure or interruption all settings remain
10.1 Indication of the current temperature and switch point SP2
Briefly press the pushbutton ![]()
The current temperature and the current setting of the switch point are indicated for 5 seconds in steps of 10°C
Row of LEDs red = current temperature T in °C
| LED | 0 | 0…1 | 0…2 | 0…3 | 0…9 | |
| T | 0…9 | 10…19 | 20…29 | 30…39 | *** | 90…99 |
LED green or orange = current switch point S2 in °C LED
| LED | 0 | 1 | 2 | 3 | 4 | 5 | 6 | 7 | 8 | 9 |
| S2 | 2…4 | 5…14 | 15…24 | 25…34 | 35…44 | 45…54 | 55…64 | 65…74 | 75…80 | — |
LED green if OUT = OFF; LED orange if OUT = ON
10.2 Operating indicators
![]() | Green LED bar: Current flow within the representation range Indication of the flow switch point (S1): – LED orange: output closed -LED red: output open |
![]() | LED 9 flashes: current flow above the representation range |
![]() | LED 0 flashes: current flow far below the representation range |
10.3 Interference indicators
![]() | Short circuit at the switching output S1 The operating indicator and 5 red LEDs on the left hand light alternately If the short circuit has been rectified, the unit immediately passes into the normal operating state The current operating state is displayed |
![]() | Short circuit at the switching output S2 The operating indicator and 5 red LEDs on the right hand light alternately If the short circuit has been rectified, the unit immediately passes into the normal operating state The current operating state is displayed |
| Display OFF (no LED lights): | Operating voltage too low (< 19 V) or failed Ensure a correct voltage supply |
Maintenance
Recommended maintenance:
- Check the sensor tip for build-up from time to time
- Clean it using a soft cloth Stubborn build-up (eg lime) can be removed using a common vinegar cleaning agent
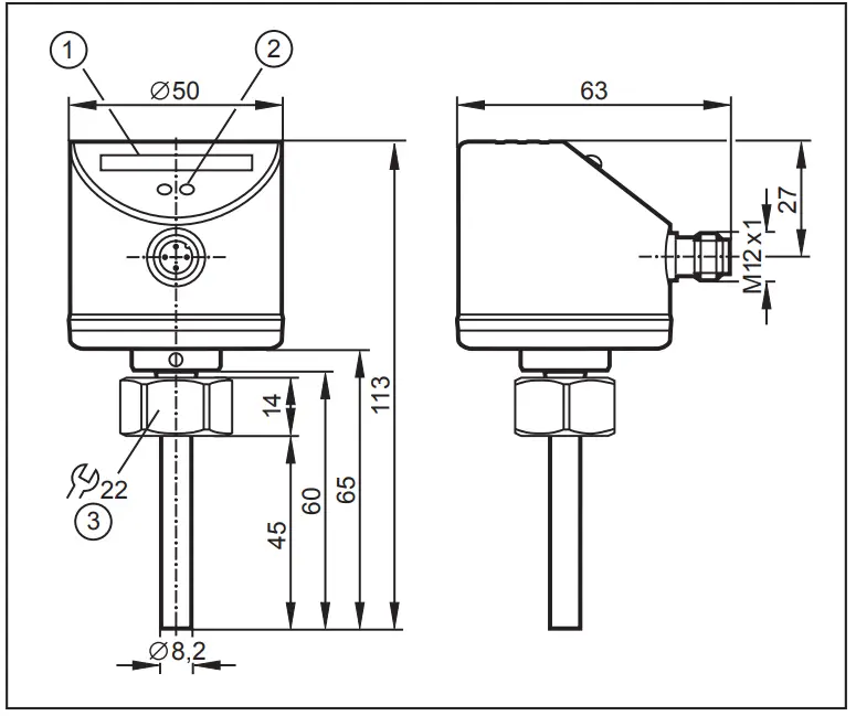
Scale drawing

- LED bar display
- set button
- tightening torque to 25 Nm
Technical data
Application area……………………………………..liquids and gases
Operating voltage…………………………. [V]19 36 DC1)
Current rating………………………………………………… [mA] 2 x 250
Short-circuit protection, pulsed; reverse polarity/overload protection
Voltage drop…………………………………………… [V] < 25
Current consumption………………………………………………….. [mA] < 60
Power-on delay time…………………………………. [s] 10, optically indicated
Flow monitoring
Liquids
Medium temperature [°C]…………………………… -25 +80
Setting range [cm/s]……………………………..3 300
Greatest sensitivity [cm/s]……………………….. 3100
Temperature gradient [K/min]…………………………………….. 300
Gases
Medium temperature [°C] …………………………………………………-25 +80
Setting range [cm/s…………………………..200. 3000
Greatest sensitivity [cm/s………………………………………..]200 800
Switch point accuracy [cm/s] ± 2± 102) ……………………………….Hysteresis [cm/s] 252)
Repeatability [………………………………………cm/s] 152)
Temperature drift………………….. [cm/s x 1/K]013)
Response time……………………………………………….. [s]1 10Temperature monitoring
Setting range……………………………………………………………….. [°C] 280
Resolution………………….. [K] 1
Hysteresis………………………………….. [K] 2
Repeatability …………………………………..[K] ± 2
Accuracy of switch point [K] ………………………….± 3 (v > 5cm/s; liquids))
Response time temperature (typ………………………….) [s] 5
Pressure resistance [bar]……………………….300
Operating temperature [°C]……………………………………. -25 80
Protection rating …………………………IP 67
Protection class ………………………………..III
Shock resistance [g] ……………………………………………..50 (DIN / IEC 68-2-27, 11 ms)
Vibration resistance [g]………………………………… 20 (DIN / IEC 68-2-6, 55-2000 Hz)
Housing materials ……………………………………….stainless steel 316L / 14404; stainless steel 304 / 14301; PC (Makrolon); PBT-GF 20; EPDM/X (Santoprene)
Materials (wetted parts) ……………………..stainless steel 316L / 14404 O-ring: FPM 8×15 gr 80° Shore A
EMC
EN 61000-4-2 ESD:……………………………….. 4 kV CD / 8 kV AD
EN 61000-4-3 HF radiated:…………………………. 10 V/m
EN 61000-4-4 Burst:………………………………… 2 kV
EN 61000-4-6 HF conducted:……………………… 10 V
- to EN50178, SELV, PELV;
- for water; 5100 cm/s; 25°C (factory setting)
- for water; 5100 cm/s; 1070°C
The sensor conforms to the standard EN 61000-6-2
More information at www.ifm.com






























