Dwyer IS/PX/TX Series Insite In-Line Flowmeter Instruction

Operating Instructions
The Series IS/PX/TX Insite™
Air/Liquid In-Line Flowmeter is available in a variety of materials including PVC, aluminum, brass, or 316 stainless steel. The variety of optional materials allows the flowmeters to be used in many different applications. The Series IS/PX/TX Insite™ flowmeters are also available with an optional field adjustable reed switch for high and low alarms.
INSTALLATION
Inlet and outlet ends are marked on the flowmeter body, and an arrow on the printed scale indicates flow direction. Insite™ flowmeters can be mounted in any convenient orientation (vertical, horizontal or anything in-between) without affecting performance. The end fittings are connected to the plastic body with O-ring sealed straight threads for a strong connection and to prevent leakage. There is no need to over torque or use sealant, plumbing tape or pipe dope. These end fittings accept pipe with tapered threads (NPT). Teflon® tape should be used on the pipe threads and standard torques applied, to make leak-free connections. Put your wrench only on the end fitting when piping meter inline. Do not apply wrenches on the plastic body when connecting to pipe, only end fittings. Many users find that a disconnect fitting, installed upstream of the flowmeter, makes for easier removal of the flowmeter, for cleaning internals. Control valves should be installed downstream of the flowmeters.
HOW IT WORKS
Fluid enters at end marked “IN” and forces the piston to move with it, against spring pressure, enough to pass given flow around piston periphery. The knife edge of the piston is visible through the transparent housing; its position under the printed scale gives the flow rate.
SPECIFICATIONS
- Service: Compatible gases or liquids.
- Wetted Materials: Flowtube: PVC or Polysulfone; Fittings: Aluminum, brass, 316 SS, PVC, or PVDF; Seal: Viton® or Kalrez®.
- Temperature Limits: See model chart.
- Pressure Limits: See model chart.
- Switch Type: Optional 3-wire reed switch.
- Electrical Rating: 0.3 A @ 120 VAC/100 VDC.
- Accuracy: ±5% FS; 3 GPM: ±7% FS.
- Process Connections: 1/2˝, 3/4˝, 1˝, or 1-1/2˝ selectable.
- Weight: 0.8 to 2.6 lb (0.36 to 1.09 kg).
- Compliance: CSA (switch only).
| TEMPERATURE AND PRESSURE | |||||
| Fluid Temperature | Max. Pressure | ||||
| Liquid | Air | ||||
| °F | °C | psig | bar | psig | bar |
| PVC | |||||
| 70 | 21 | 200 | 13.79 | 60 | 4.1 |
| 100 | 38 | 100 | 6.90 | 50 | 3.41 |
| 125 | 52 | 75 | 5.17 | 35 | 2.41 |
| Polysulfone with 316 SS Fittings | |||||
| 210 | 99 | 200 | 13.8 | 60 | 4.1 |
| Polysulfone with PVDF Fittings | |||||
| 120 | 49 | 150 | 10.35 | – | – |
| ACCESSORIES | |
| Model | Description |
| ISS-15-B | Small series switch kit |
| ISS-50-B | Large series switch kit |
| ISS-15-B-T | Small series switch kit Teflon® |
| ISS-50-B-T | Large series switch kit Teflon® |
| MODEL CHART | ||||||||
| Example | PX | -30GPM | -8 | -F | -F | PX-30GPM-8-F-F | ||
| Series | PX IS TX | PVC tube flowmeter Polysulfone tube flowmeter PVC tube flowmeter | ||||||
| Range | Low | High | 3 GPM water 5 GPM water 10 GPM water 15 GPM water 20 GPM water 30 GPM water 40 GPM water 50 GPM water 20 LPM water 38 LPM water 55 LPM water 75 LPM water 110 LPM water 150 LPM water 200 LPM water 50 SCFM air 100 SCFM air 135 SCFM air 200 SCFM air 300 SCFM air 400 SCFM air 500 SCFM air 1400 SLPM air 2500 SLPM air 3600 SLPM air 5500 SLPM air 8000 SLPM air 11000 SLPM air 14000 SLPM air | |||||
| 3GPM* 5GPM 10GPM 15GPM – – – – 20LPM 38LPM 55LPM – – – – 50SCFM 100SCFM 135SCFM – – – – 1400SLPM 2500SLPM 3600SLPM – – – – | – – – – 20GPM 30GPM 40GPM 50GPM – – – 75LPM 110LPM 150LPM 200LPM – – – 200SCFM 300SCFM 400SCFM 500SCFM – – – 5500SLPM 8000SLPM 11000SLPM 14000SLPM | |||||||
| Process Connection | 4 6 8 12 | 1/2˝ (low range only) 3/4˝ 1˝ 1-1/2˝ (high range only) | ||||||
| Connection Material | D F I M4 V | Aluminum Brass 316 SS PVDF (IS) PVC (PX and TX only) | ||||||
| Seal Material | F | Viton® | ||||||
| Options | EP IS1 IS2 IS1T IS2T ST | Electro polished SS shaft and spring (IS only) Installed with one switch kit Installed with two switch kit Installed with one switch kit (IS/TX) Installed with two switch kit (IS/TX) SS identification tag | ||||||
| *Only available with PX series. | ||||||||
The air flowmeter is calibrated (reading in SCFM/SLPM), at 90 psi pressure and 70°F temperature. If the flowmeter is used with air at pressures and/or temperatures that differ from the above, correction factors can be applied to 90-PSI air scale readings to get correct SCFM values. See Tables 1 and 2 below.
Correction factors when monitoring air flow at other than 90 psi at 70°F.
NOTICE
Refer to pressure and temperature chart to determine appropriate operating limits.
| TABLE 1 PRESSURE | |
| psig | Factor |
| 10 | .49 |
| 20 | .58 |
| 30 | .65 |
| 40 | .72 |
| 50 | .79 |
| 60 | .84 |
| 70 | .90 |
| 80 | .95 |
| 90 | 1.00 |
| 100 | 1.05 |
| 110 | 1.09 |
| 120 | 1.13 |
| 125 | 1.16 |
| TABLE 2 TEMPERATURE | |
| Temperature °F | Factor |
| 30 | 1.04 |
| 50 | 1.02 |
| 70 | 1.00 |
| 90 | 0.98 |
| 100 | 0.97 |
| 120 | 0.96 |
| 125 | 0.95 |
When operation at a pressure other than 90 psig, or a temperature other than 70°F, multiply the applicable factor to the SCFM reading on the tube for corrected SCFM reading.
| REPLACEMENT PARTS NUMBERS FOR MODELS | ||||||
| Flow Rates and Connection Sizes | PX-3, 5, 10, and 15 | PX-20, 30, 40, and 50 | IS-5, 10, and 15 | IS-20, 30, 40, and 50 | Description | |
| 3 | 1161-AS | – | – | – | Flow tube assembly | |
| 5 | 1158-AS | – | 1119-AS | – | with max. flow | |
| 10 | 1159-AS | – | 1116-AS | – | reading | |
| 15 | 1160-AS | – | 1117-AS | – | ||
| 20 | – | 1147-AS | – | 1173-AS | ||
| 30 | – | 1148-AS | – | 1174-AS | ||
| 40 | – | 1149-AS | – | 1175-AS | ||
| 50 | – | 1150-AS | – | 1176-AS | ||
| End fittings | 1/2 | 1194-4 | – | 1194-4 | – | Aluminum |
| for NPT line | 3/4 | 1194-6 | 1196-6 | 1194-6 | 1196-6 | |
| sizes and | 1 | 1194-8 | 1196-6 | 1194-8 | 1196-6 | |
| materials | 1-1/2 | – | 1196-12 | – | 1196-12 | |
| 1/2 | 1193-4 | – | 1193-4 | – | Brass | |
| 3/4 | 1193-6 | 1195-6 | 1193-6 | 1195-6 | ||
| 1 | 1193-8 | 1195-8 | 1193-8 | 1195-8 | ||
| 1-1/2 | – | 1195-12 | – | |||
| 1/2 | 1188-4 | – | 1188-4 | – | 316 SS | |
| 3/4 | 1188-6 | 476-6 | 1188-6 | 476-6 | ||
| 1 | 1188-8 | 476-8 | 1188-8 | 476-8 | ||
| 1-1/2 | – | 476-12 | – | 476-12 | ||
| 1/2 | 1191-4 | – | – | – | PVC* | |
| 3/4 | 1191-6 | 477-6 | – | – | ||
| 1 | 1191-8 | 477-8 | – | – | ||
| 1-1/2 | – | 477-12 | – | – | ||
| 2 (required) | 1112 | 396 | 1112 | 396 | Viton® seal | |
| *Not available on IS units. | ||||||
RECOMMENDED FILTRATION
System filtration of at least a 74 micron filter or a 200 mesh screen is recommended. it has been found that inadequate filtration may cause meter failure, normally in the open position. Filtration is recommended to avoid meter contamination. Proper filtration allows meter components to function properly and avoid premature wear and tear on meter components. 
SWITCH KITS
Flowmeters can be equipped with one or two electric switches so that any flow rate
within the range of the meter can be made to trigger a signal (or signals). Switch
settings are easily adjusted. Switches are supplied in kit form for installation in the field. Each switch kit consists of a ring shaped ceramic magnet, that fits around the flowmeter piston, and a proximity switch in a housing that clamps to the body of the flowmeter. As the magnet moves with the piston, its field trips the proximity switch. An adjustment screw changes the actuation point by moving the switch.
Switch contact ratings (max.) are 8 watts @ 120 VAC/100 VDC. Do not exceed 8 watts with any combination of specified volts or current. Switch has three wires: Black for
normally open, Blue for normally closed, and White for common. Switch specs contact
ratings: 12 VDC @ .66 A, 28 VDC @ .285 A, 120 VAC @ .066 A (at 77°F).
For 3 to 15 GPM
Order No. ISS-15-B.
For 20 to 50 GPM
Order No. ISS-50-B
Note: Switch has a 25% of full-scale operating band. Within the band, the relay activates. Above and below the band, the relay deactivates. Thus, one switch can be used as a deviation alarm.
SWITCH INSTALLATION
- Step 1: Installing the magnet. You must disassemble the flowmeter to do this. Follow instructions found under the heading “Maintenance”. Remove piston from the shaft and place the magnet between piston and spring. Be sure that the piston is installed as in the drawing on the previous page, and the spring is seated on the magnet and piston. Insert into tube and replace outlet end fittings.
- Step 2: Installing the foam gasket. It has an adhesive on one side, covered with a protective paper. Peel off and press the gasket firmly into place on the switch housing.
- Step 3: Installing the switch housing(s) on the flowmeter body.
- A) Single switch: push the capscrews through the switch housing tabs, and thread them into the half-collars, as shown. Use the washers provided. The nuts may be discarded.
- Dual switches, match up the tabs on the two switch housings and push Do not the capscrews through both collar tabs. Put the nuts on the threaded ends of the capscrews and tighten. Use the washers provided. (The half-collars and extra magnet may be discarded.)
Note: There is no “wrong orientation” of the switch housing. If you are installing two switch housings, they can both be oriented the same way, as in the photo, or one “up” and the other “down”. Install to suit your needs in wiring and switch adjustment.
SETTING THE SWITCH POINTS
Flowmeter installed:
Simply adjust the amount of flow to move the piston to the level on the indicator where a switch signal is desired, then turn the switch adjustment screw until switch actuates. (Switch moves toward the adjustment screw head as you turn it clockwise. Use an ohmmeter to determine actuation.) If you are using two switches, repeat procedure for second switch.
Flowmeter NOT installed:
Simulate flow by pushing the eraser-end of a pencil (or a similar tool) through the inlet end of the tube, contacting the float, and moving it against the spring pressure until the knife edge of the float is at the desired reading on the scale. (If your unit has a 1/2 in pipe fitting, remove it to gain better access.) Then, turn the switch adjustment screw until the switch actuates. (Switch moves toward the adjustment screw head as you turn it clockwise. Use an ohmmeter to determine actuation.) If you are using two switches, repeat procedure for second switch.
Note: When connecting the switch wires, leave enough lead length (as a pigtail) to allow full travel of the switch.
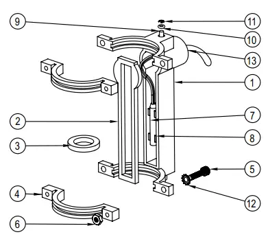
INSITE SWITCH PARTS DESCRIPTION
- HOUSING
- GASKET
- MAGNET
- HALF-COLLARS (2)
- CAPSCREWS (4)
- CAPSCREW NUTS (2)
- SWITCH
- SWITCH CARRIER
- ADJUSTMENT SCREW
- O-RING (2)
- RETAINER CLIP
- LOCKWASHERS (4)
- 1/2˝ NPTF CONDUIT CONNECTION
MAINTENANCE/REPAIR
Normally, the only servicing required is a periodic cleaning of the tube and three internal parts. Use wrenches on the end fittings to remove the flowmeter from the line. apply wrenches to the plastic body when breaking pipe connections, only end fittings. With the flowmeter out of the line, completely remove the end fitting from the outlet end of the tube. Use a bent wire or other hook to grab the shaft, piston and spring and remove from tube. Inspect all parts for damage. The interior of the tube can be swabbed out, and the parts wiped off, with a soft dry cloth. If dirt or residue cannot be removed with a dry cloth, use water and a mild non-abrasive soap. DO NOT USE SOLVENT OF ANY KIND.
Replace any worn or damaged parts.
When reassembling the Insite™ flowmeter, be sure the piston is installed as shown in the drawing. Don’t put in upside down. Inspect O-rings for damage and replace if necessary. Wet O-rings with water prior to assembly to improve sealing.
WARRANTY/RETURN
Refer to “Terms and Conditions of Sale” in our catalog and on our website. Contact customer service to receive a Return Materials Authorization (RMA) number before shipping the product back for repair. Be sure to include a brief description of the problem plus any additional application notes.
Phone: 219-879-8000 Fax: 219-872-9057
www.dwyer-inst.com
e-mail: [email protected]




















