Dwyer RM Series Rate-Master Flowmeters

Specifications – Installation and Operating Instructions

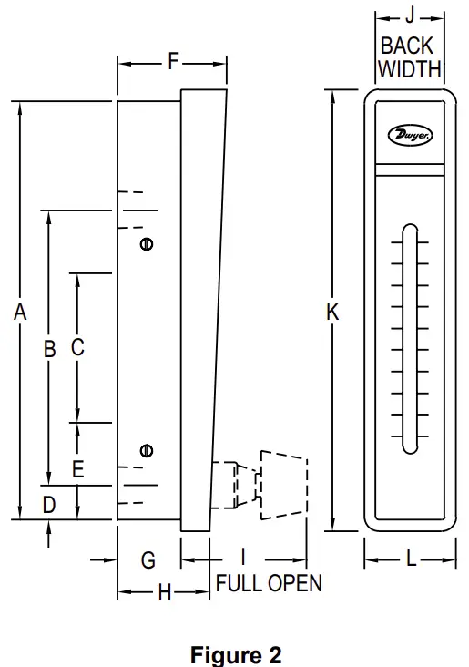
DIMENSIONS IN INCHES (CENTIMETERS) | |||
| Model RMA | Model RMB | Model RMC | |
| A | 4-9/16 [11.59] | 8-1/2 [21.59] | 15 -1/8 [38.42] |
| B | 3 [7.62] | 6-7/16 [16.35] | 12 -1/4 [31.12] |
| 1/8 NPT CONN. | 1/4 NPT CONN. | 1/2 NPT CONN. | |
| C | 1-5/8 [4.13] | 3-15/16 [10.00] | 8-3/4 [22.23] |
| 10 – 32 Thds. | 1/4 – 20 Thds. | 3/8 – 24 Thds. | |
| D | 3/8 [.95] | 5/8 [1.59] | 1 [2.54] |
| E | 1-1/16 [2.70] | 1-7/8 [4.76] | 2-3/4 [6.99] |
| F | 1-3/16 [3.02] | 1-3/4 [4.45] | 2-1/2 [6.35] |
| G | 11/16 [1.75] | 1 [2.54] | 1-7/16 [3.65] |
| H | 61/64 [2.42] | 1-7/16 [3.65] | 1-31/32 [5.00] |
| I (OPEN) | 1-3/8 [3.49] | 1-13/16 [4.60] | 2-1/2 [6.35] |
| J | 3/4 [1.91] | 1-1/4 [3.18] | 2 [5.08] |
| K | 4-13/16 [12.22] | 8-3/4 [22.23] | 15-3/8 [39.05] |
| L | 1 [2.54] | 1-1/2 [3.81] | 2-1/4 [5.72] |
PANEL CUTOUT FOR FLUSH MOUNTING | |||
High Wide | 4-5/8 (11.75) 7/8 (2.22) | 8-9/16 (21.75) 1-5/16 (3.33) | 15 -3/16 (38.58) 2-1/16 (5.24) |
PANEL HOLE SIZES FOR SURFACE MOUNTING | |||
Pipe Bolt | 7/16 (1.11) 1/4 (0.64) | 5/8 (1.59) 9/32 (0.71) | 15/16 (2.38) 13/32 (1.03) |
The Series RM Rate-Master® Flowmeters are furnished in three models (see Figure 2), each available in a broad array of flow ranges with direct reading scales for air, gas or water. Installation, operation and maintenance are very simple. Only a few common- sense precautions must be observed to assure long, trouble-free service.
Rate-Master® Flowmeters are designed to provide satisfactory long term service when used with air, water or other compatible media. Refer to factory for information on questionable gases or liquids. Avoid solutions of acids, bases or salts having a pH below 5.0 or above 8.5. Caustic solutions, antifreeze (ethylene glycol) and aromatic solvents should definitely not be used.
Calibration
Each Rate-Master® Flowmeter is calibrated at the factory. If at any time during the meter’s life, you wish to re-check its calibration, do so only with devices of certified accuracy. DO NOT attempt to check a Rate-Master® Flowmeter with a similar flowmeter, as seemingly unimportant variations in piping and back pressure may cause noticeable differences in the indicated reading. If in doubt, return your Rate- Master® Flowmeter to the factory. Before proceeding with installation, check to be sure you have the Rate-Master® flowmeter model and flow range you require
LOCATION: Temperature, Pressure, Atmosphere and Vibration: Rate-Master® Flowmeters are exceptionally tough and strong. They are designed for use at pressures up to 100 psi (6.89 bar) and temperatures up to 130°F (54°C).
DO NOT EXCEED THESE LIMITS! The installation should not be exposed to strong chlorine atmospheres or solvents such as benzene, acetone, carbon tetrachloride, etc. The mounting panel should be free of excessive vibration, as it may prevent the unit from operating properly.
Inlet Piping Run: It is good practice to approach the flowmeter inlet with as few elbows and restrictions as possible. In every case, the inlet piping should be at least as large as the connection to the flowmeter; i.e.,1/8˝ Iron Pipe Size for RMA models 1/4˝ IPS for RMB models,1/2˝ IPS for RMC models. Length of inlet piping makes little difference for normal pressure-fed flowmeters.
For flowmeters on vacuum air service, the inlet piping should be as short and open as possible. This will allow operation near atmospheric pressure and thereby insure the accuracy of the device. (Note: for vacuum air service, the flow control valve, if any, should be on the discharge side of the flowmeter. Either the TMV unit or a separate in-line valve may be applied.).
Discharge Piping: As on the inlet, discharge piping should be at least as large as the flowmeter connection. Also, for pressure-fed flowmeters on air or gas service, the discharge piping should be as short and open as possible. This will allow operation of the flow tube at near atmospheric pressure and insure the accuracy of the device. This is of less importance on water or liquid flowmeters, as the flowing medium is generally incompressible and moderate back pressure will not affect the accuracy of the instrument as calibrated.
POSITIONING AND MOUNTING
All Rate-Master® Flowmeters must be mounted in a vertical position with inlet connection at the bottom rear and outlet at the top rear.
Bezel or Through-Panel Mounting: Make panel cutout using appropriate dimensions from Figure 2. Flowmeter must fit into panel
freely without forcing or squeezing. Insert the flowmeter from the front of the panel and install the mounting clamps from the rear.
Insert and tighten the clamp bolts in the locations shown in Figure 3. Do not exceed 5 in./lbs. Make connections to inlet and outlet ports using pipe thread sealant tape to avoid leakage. Avoid excess torque, which may damage the flowmeter body.
Surface Mounting: Drill appropriate holes in panel, using the dimensions shown in Figure 2. Hold the flowmeter in position in front of the panel and install the clamp bolts from the rear. (The mounting clamps may be used as washers, if desired, by installing them backwards or straightening them out.) Pipe up inlet and discharge following the directions in the previous sections
Surface Mounting on Piping Only: An alternate method of surface mounting, omitting the clamp bolts and supporting the flowmeter solely on the connecting piping, is possible. For this method, extra-long or straight pipe threads should be used so that nuts may be run onto the pipe and later tightened against the back of the panel to retain the unit in proper position. Use appropriate hole layout in formation from Figure 2, but omit the small holes.
Surface Mounting on Piping Only Without Panel: For a temporary or laboratory type installation, the panel may be omitted altogether and the flowmeter installed directly in rigid piping. Its light weight permits this without difficulty.
OPERATION
To start system, open valve slowly to avoid possible damage. Control valves on SSV models are turned clockwise to reduce flow, counter-clockwise to increase flow (valve is designed for flow adjustment only, not intended to be used as an open/shut-off valve). A nylon insert is provided in the threaded section of the valve stem to give a firm touch to valve and to prevent change of setting due to vibration.
The performance of low range units used in air or gas applications may be affected by static electricity. Excessive static charge may cause the ball float to behave erratically or provide a false reading. To ensure the proper function of the unit, the application should be designed to minimize or dispel static electricity.
The standard technique for reading a Variable Area Flowmeter is to locate the highest point of greatest diameter on the float, and then align that with the theoretical center of the scale graduation. In the event that the float is not aligned with a grad, an extrapolation of the float location must be made by the operator as to its location between the two closest grads. The following are some sample floats shown with reference to the proper location to read the float.
Variable Area Flowmeters used for gases are typically labeled with the prefix “S” or “N”, which represents “Standard” for English units or “Normal” for metric units. Use of this prefix designates that the flowmeter is calibrated to operate at a specific set of conditions, and deviation from those standard conditions will require correction for the calibration to be valid. In practice, the reading taken from the flowmeter scale must be corrected back to standard conditions to be used with the scale units. The correct location to measure the actual pressure and temperature is at the exit of the flowmeter, except when using the Top Mounted Valve under vacuum applications, where they should be measured at the flowmeter inlet. The equation to correct for nonstandard operating conditions is as follows:
Where: Q1 = Actual or Observed Flowmeter Reading
Q2 = Standard Flow Corrected for Pressure and Temperature
P1 = Actual Pressure (14.7 psia + Gage Pressure)
P2 = Standard Pressure (14.7 psia, which is 0 psig) T1 = Actual Temperature (460 R + Temp °F)
T2 = Standard Temperature (530 R, which is 70°F)
Example: A flowmeter with a scale of 10-100 SCFH Air. The float is sitting at the 60 grad on the flowmeter scale. Actual Pressure is measured at the exit of the meter as 5 psig. Actual Temperature is measured at the exit of the meter as 85°F
Example: A flowmeter with a scale of 10-100 SCFH Air. The float is sitting at the 60 grad on the flowmeter scale. Actual Pressure is measured at the exit of the meter as 5 psig. Actual Temperature is measured at the exit of the meter as 85°F
Do not completely unscrew valve stem unless the flowmeter is unpressurized and drained of any liquid. Removal while in service will allow gas or liquid to flow out the front of the valve body and could result in serious personal injury. For applications involving high pressure and/or toxic gases or fluids, please contact factory for details.
MAINTENANCE
The only maintenance normally required is occasional cleaning to assure reliable operation and good float visibility
Disassembly: The flowmeter can be disassembled for cleaning simply as follows:
- Remove valve knob from RMB-SSV or RMC-SSV unit by pulling the knob It is retained by spring pressure on the stem half-shaft so that a gentle pull will remove it. On RMA-SSV models, turn the valve knob counter-clockwise until the threads are disengaged. Then withdraw the stem from the valve by gently pulling on the knob.
- Remove the four mounting bracket screws located in the sides of the flowmeter. See Figure 3. Pull the flowmeter body gently forward away from the back plate to avoid undue strain on the Leave the piping connections intact. There is no need to disturb them. See Figure 4.
- Threaded body style flowmeters – Remove the slip cap with a push on a screwdriver as shown in Figure 5. Remove the plug ball stop as shown in Figure 6 using allen wrench sizes as follows: Model RMA – 1/4˝, Model RMB – 1/2˝ and Model RMC – 3/4˝ threadless body style flowmeters – Release the plastic retaining clip with a screw driver (Figure 5B), it will unclip from the valve body (TMV option) or the plug ball stop, slide the clip back until the valve body or ball stop can be removed. The clip will remain in the body for convenience. Using a screwdriver gently lift up on the plug in the groove as shown in Figure 6B until the O-ring seal is released and remove the For the TMV option gently pull up on the valve knob to release the valve body seals and remove the valve.

- Take out the ball or float by inverting the body and allowing the float to fall into your hand, as shown in Figure 7. (Note: It is best to cover the discharge port to avoid losing the float through that )

DWYER INSTRUMENTS, INC.
P.O. BOX 373 • MICHIGAN CITY, INDIANA 46360, U.S.A.
Phone: 219-879-8000
www.dwyer-inst.com
Fax: 219-872-9057
e-mail: [email protected]





















