
Tow‑Pro® Elite
Electric Trailer Brake Controller
12V or 24V, 1 to 3 Axles
User Manual



MODEL: EBRH‑ACCV3
EBRH-ACCV3 Tow-Pro Elite Electric Trailer Brake Controller
The Tow‑Pro® Elite is an electric trailer brake controller designed to suit most common trailer braking applications. It requires minimal dash space and is simple to install and operate.
The Tow‑Pro® Elite has selectable Proportional or User Controlled trailer braking modes that allow you to choose the braking style depending on the road or terrain conditions, vehicle type, or driver preference.
The Tow‑Pro® Elite features Active Calibration which constantly monitors the direction of travel and will even calibrate with no trailer attached, and can be mounted in any orientation.
The unit is able to operate electric trailer brakes foremother 12 V or 24 V vehicle systems without the needfor manual selection or extra components or wiring.
The unit is able to operate Electric/Hydraulic trailer brakes from 24 V vehicle systems when installed with a suitable adapter such as a REDARC EB24A. The Tow‑Pro® Elite is ADR compliant when installed as directed and is approved for use with AL ‑KO ESC and Dexter DSC sway control systems.

WARNINGS AND SAFETY INSTRUCTIONS
SAVE THESE INSTRUCTIONS — This manual contains important safety instructions for the Tow‑Pro® Elite Electric Trailer Brake Controller.
Do not operate the controller unless you have read and understood this manual and the controller is installed as per these installation instructions. REDARC recommends that the charger be installed by a suitably qualified person.
SAFETY MESSAGE CONVENTIONS
Safety messages in this manual include a signal word to indicate the level of the hazard as follows:
WARNING
Indicates a potentially hazardous situation which could result in death or serious injury to the operator or to bystanders.
CAUTION
Indicates a potentially hazardous situation which may result in moderate or minor injury to the operator or to bystanders.
NOTICE
Indicates a situation that may cause equipment damage.
WARNING
- Ensure that your trailer brakes are installed and are operating correctly; Improperly installed and/or faulty trailer brakes can cause erratic vehicle or trailer behaviour with the potential to cause a road accident. For this reason, it is of utmost importance that your trailer braking system be installed/maintained by a qualified installer.
- Always check brakes at low speed each time a trailer is attached to your vehicle.
- Early sign of problems related to the safety and integrity of the braking system need to be investigated and corrected with urgency including, but not limited to: locking of trailer brakes, brake-away system not operating or incorrectly fused, permanent illumination of vehicle stop lamps and/or dashboard warning lamps. Left unchecked these type of issues can involve loss of braking and/or severe damage of the equipment and the vehicle.
CAUTION
- Ensure that the Tow‑Pro ® Elite is mounted securely in a fixed location. Failure to mount securely will result in inaccurate braking force measurements and incorrect braking of the trailer.
- Ensure that the Tow‑Pro® Elite is installed inside the vehicle cabin and away from any environmental conditions that may cause damage, including engine heat, submersion in water, salt spray and humidity. Exposure to these conditions may cause damage to the unit’s circuitry and may cause erratic trailer braking.
- A Fuse or Circuit Breaker of appropriate rating must be installed to protect the vehicle system. Please refer to the installation instructions starting on page 9 for specific instructions on where to install the Fuse or Circuit Breaker and for appropriate Fuse or Circuit Breaker rating. The Fuse or Circuit Breaker must be installed as close as possible to the battery.
- Ensure the remote head push‑button activates correctly when installed into surfaces with a thickness greater than 3.75 mm (0.15″). Failure to activate correctly would result in not being able to activate the override function or change modes.
- Ensure that the wire(s) and all connections used to install the Tow‑Pro® Elite are suitably rated to supply the required current to simultaneously operate the trailer electric brakes and stop lamps. Incorrect wiring can result in reduced (or total loss of) trailer braking and/or damage to property or persons.
- The Tow‑Pro® Elite is suitable for trailers with electric brakes up to three axles. Note that Federal and State laws apply to trailer weights and brake controller requirements. Please consult your local authority to ensure you comply with the legal requirements.
- Do not drive with the Tow‑Pro® Elite while a fault code is active. Fault codes of the Tow‑Pro® Elite may indicate conditions that make it unsafe or illegal to drive, including unreliable trailer brakes or failure of brake lights.
- During the calibration step of the Tow‑Pro® Elite, braking of the trailer may be inconsistent. REDARC recommends calibrating the Tow‑Pro® Elite without a trailer attached. A normal drive of a few kilometres will do for this purpose. If calibrating with a trailer attached, then the recommended dial setting for the Tow‑Pro® Elite is 4 or less.
NOTICE
- Ensure that a correct grounding point is used. Vehicles often have ungrounded metal reinforcements under the dash and these points are not suitable grounds. Bad grounding of the unit will result in poor or no operation.
- The Tow‑Pro® Elite does not act as a trailer lights voltage converter. If the trailer brake lights operate on a different voltage, damage to the vehicle; trailer and/or Tow‑Pro® Elite and associated wiring may result. This may also result in reduced (or total loss of) trailer braking.
- When installing the Tow‑Pro® Elite Remote Control to a thin panel, washers are recommended to reinforce the structure of the panel.
- Do NOT exceed Tow Vehicle and Trailer weights and specifications. Failure to abide by the towing regulations, including maximum loads, may result in a fine, or in case of an accident, refusal of the insurance claim, and the possibility of further legal action.
- If no trailer is connected, Active Calibration may occur as normal without any indication from the LED. The LED will already be Blue when the trailer is connected. Essentially, whether a trailer is connected or not, just drive normally and Active Calibration will ensure the Tow‑Pro® Elite learns the correct direction of travel.
KIT CONTENTS

- Main Unit
- Remote Head Assembly
- Remote Head Body
- Remote Head Nut
- Remote Head Knob
- Remote Head Bezel
- Main Unit Wires and Connector 0.5 m (1’7″)
- Remote Head Cable 1m (3’3″)
SPECIFICATIONS
| Part Number | EBRH-ACCV3 | |
| Operating Voltage | 9 V to 32 V | |
| Nominal Input System Voltage | 12 V | 24 V |
| Brake Input Signal Voltage | OFF: 0 V ON: +12 V nominal | OFF: 0 V ON: +24 V nominal |
| Brake Coil Voltage | 12 V | |
| Max. Trailer Axles | 3 Axles | |
| Nominal Current Draw | 18 A | |
| Max. Rated Current | 25 A | 30 A |
| Standby Current | < 5 mA | |
| Operating Temp | –20°C to +60°C (−4°F to 140°F) | |
| Weight | 200 g (7.05 oz) | |
| Warranty | 2 years |
DIMENSIONS AND CONNECTION

INSTALLATION
3.1 MOUNTING THE MAIN UNIT
The Tow‑Pro® Elite should be mounted inside the vehicle cabin using either M4 (5 ⁄32″) diameter screws or other secure fitting methods at the mounting points provided. It is essential to mount the unit in a location which allows access to the intended remote head location.
The Tow-Pro® Elite can be mounted in any orientation as long as the installation is secure and the main unit cannot move or change orientation once installed. A change of orientation will affect the system calibration.
CAUTION
- Ensure that the Tow‑Pro® Elite is mounted securely in a fixed location. Failure to mount securely will result in inaccurate braking force measurements and incorrect braking of the trailer.
- Ensure that the Tow‑Pro® Elite is installed inside the vehicle cabin and away from any environmental conditions that may cause damage, including engine heat, submersion in water, salt spray and humidity. Exposure to these conditions may cause damage to the unit’s circuitry and may cause erratic trailer braking.

Do Not Mount to Cables/Wiring Looms (Must be mounted to a solid object or surface)
3.2 WIRING THE BRAKE CONTROLLER
CAUTION
- A Fuse or Circuit Breaker of appropriate rating must be installed to protect the vehicle system. Please refer to the installation instructions starting on page 9 for specific
instructions on where to install the Fuse or Circuit Breaker and for appropriate Fuse or Circuit Breaker rating. The Fuse or Circuit Breaker must be installed as close as possible to the battery. - Ensure that the wire(s) and all connections used to install the Tow‑Pro® Elite are suitably rated to supply the required current to simultaneously operate the trailer electric brakes and stop lamps. Incorrect wiring can result in reduced (or total loss of) trailer braking and/or damage to property or persons.
NOTICE
The Tow‑Pro® Elite does not act as a trailer lights voltage converter. If the trailer brake lights operate on a different voltage, damage to the vehicle; trailer and/or Tow‑Pro®
Elite and associated wiring may result. This may also result in reduced (or total loss of) trailer braking.
3.2.1 RED WIRE (VEHICLE BRAKE LIGHT) CONNECTION
The requirements for a suitable connection of a brake controller trigger wire are quite specific.
This connection point must:
- Provide a voltage of the same voltage level as the “Start Battery*” while the vehicle brakes are applied.
- Have 0 V output while the vehicle brakes are not applied.
- Accept battery voltage input when the brake controller manual over‑ride is operated and illuminate at least the trailer brake lights.
- Accept the battery voltage input as above without causing any damage, spurious vehicle operation or erroneous fault indication.
A relay should not be installed to drive the red wire as this would prevent the override feature from working and may introduce dangerous voltage spikes.
For many vehicles, the brake light terminal of the trailer lighting socket provides a suitable connection, however this is not necessarily suitable for all vehicles. Unfortunately REDARC cannot recommend where to make this connection on a specific vehicle’s OEM wiring. For further information contact the vehicle manufacturer.
* Start Battery voltage output means directly from the Start Battery and within 0.4 V of Supply (Black wire) voltage.
3.2.2 WIRING — ELECTRIC BRAKES
For 12 V and 24 V vehicle electrical systems, the Tow‑Pro® Elite is designed to operate electric brakes without the need for any additional converters.

For wire selection refer to the wiring gauge guide in Section 3.2.5 (page 14).
For red wire selection refer to Section 3.2.1 (page 10).
NOTICE
The Input Power (Black) wire must be connected directly to the positive terminal of the start battery via a Fuse (25 A) or Circuit Breaker (30 A) and not through an Ignition source.

For red wire selection refer to Section 3.2.1 (page 10).
3.2.3 WIRING — ELECTRIC/HYDRAULIC BRAKES
NOTICE
Always refer to the manufacturer’s specifications for your Electric/Hydraulic Braking system prior to installation and usage of the Tow‑Pro® Elite.
12 V VEHICLE SYSTEMS
The Tow‑Pro® Elite is designed to operate both Electric trailer brake systems and 12 V Electric/Hydraulic trailer brake systems. However, most Electric/Hydraulic systems require a separate 12 V power feed for the hydraulic pump. For example:

24 V VEHICLE SYSTEMS
Both Electric / Hydraulic braking and ESC systems can be sensitive to 24 V inputs depending on the electronics within the hydraulic pump system or the ESC system. To supply a 12 V input to the Electric / Hydraulic or an ESC system, a REDARC EB24A can be used in a 24 V vehicle to provide 12 V Red and Black wires of the Tow‑Pro® Elite. For example:

THE REDARC EB24A
- Converts a 24 V brake signal to a 12 V signal for the Tow‑Pro® Elite (Red wire).
- Allows the Tow‑Pro® Elite override button to switch on 24 V brake lights.
- Provides charge equalization of the supply batteries so 12 V can be supplied from the 24 V battery bank.

For red wire connection, see Section 3.2.1 (page 10).
3.2.4 WIRING — VEHICLES WITH CAN BUS SYSTEM
Many modern vehicles use a CAN Bus system for signaling when to apply the vehicles brakes as required by safety systems including adaptive cruise control, stability control, Autonomous Emergency Braking (AEB) and hill descent control. For these vehicles, REDARC recommend the following wiring configuration.

3.2.5 WIRING GAUGE GUIDE
This diagram outlines the required wire cross sectional areas for the Tow‑Pro® Elite installations detailed in Section 3.2 (page 10).
All wire ratings refer to the minimum required cross sectional area of copper only (not including insulation). Always use a wire gauge equal to or greater than what is specified in this guide.

3.3 BRAKE SIGNAL SOURCE
Brake Light terminal of Trailer Plug
For CAN Bus vehicles, REDARC recommend sourcing the brake signal from the brake light wire of the trailer plug as it will capture all braking events that illuminate the vehicle brake lights. Please note that if the brake signal is sourced at the trailer plug, a diode MUST be fitted on the vehicles brake light wire on the vehicle side of the point where the brake signal is sourced.
This prevents the back feeding of the 12 V into the vehicle when the Tow‑Pro® Elite is manually activated whilst illuminating the trailer brake lights.

3.3.1 BRAKE PEDAL SWITCH
Sourcing the brake signal at the brake pedal will only detect braking events when the brake pedal is depressed (and the switch activated) and not brake applications activated by other on board systems such as AEB.
NOTE: Only connect to the brake pedal switch of specified by vehicle manufacturer.
3.4 MOUNTING THE REMOTE HEAD
The Tow‑Pro® Elite remote head is designed to be mounted at a distance from the main unit, allowing for a neat, convenient installation and not impeding on lower leg airbags or driver leg room. The Tow‑Pro® Elite remote head is designed to be mounted on or around the vehicle dashboard and when installed correctly, complies with Australian Design Rule (ADR) 21, which sets requirements for devices mounted on the dashboard.
The Tow‑Pro® Elite remote head can be mounted directly to the dashboard, to the center console or through a spare knock‑out switch panel and requires only one hole to be drilled as per the Mounting Guide in Section 3.4.2 on page 16. For easy access in an emergency situation, REDARC recommend installing the remote head within reach of the driver such as the regions shaded in the diagram.

3.4.1 INSTALLATION ACCESSORIES
REDARC offer a range of vehicle specific switch inserts and vehicle specific wiring kits designed to make the installation of the Tow‑Pro® Elite easier.
The range includes most popular SUV and LCV’s and is frequently being updated and added to. A full listing of Switch Inserts and Wiring Kits is available for purchase on the REDARC website.


http://redarcqr.com/electricbrakes
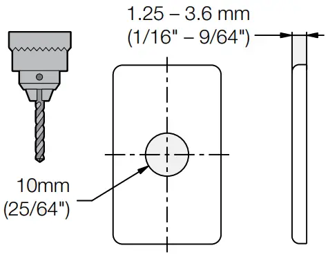
3.4.2 MOUNTING THE REMOTE HEAD ON A DASH OR CONSOLE PANEL
Ensure that there is enough space behind the mounting location to fit the Tow‑Pro control head and remote head cable before drilling any holes.
- Drill a small pilot hole, then Drill a 10 mm (25⁄64″) mounting hole.

- Gently bend bezel to aid removal of white backing tape. Apply adhesive bezel (optional) to cleaned surface.

- Insert Remote Head shaft through the hole and fasten with nut.

- Turn shaft fully anti‑clockwise.

- Apply knob with ‘0’ aligned to level marker on the bezel.

- Test installed remote head for correct function.

CAUTION
Ensure the remote head push‑button activates correctly when installed into panels with a thickness greater than 3.75 mm ( 1⁄8″). Failure to activate correctly would result in not being able to activate the override function or change modes.
3.5 ACTIVE CALIBRATION
When the unit is first powered, Active Calibration must first become confident in the vehicle direction of travel. Until this time the LED will flash Blue/Green.

Active Calibration constantly monitors the vehicle’s direction of travel and allows the Tow‑Pro® Elite to ‘learn’ and continuously confirm its mounting orientation. This process occurs whilst the vehicle is moving and the brake is applied and will occur with or without a trailer connected.
When the Tow‑Pro® Elite is first installed it will begin learning its mounting orientation through Active Calibration as soon as you start driving, at this point Proportional Mode is selected but not yet fully operational.
Until the Tow‑Pro® Elite has determined its mounting orientation the unit will function as if in User‑Controlled mode, this is indicated by the LED glowing green with blue flashes. As the Tow‑Pro® Elite becomes more confident of its direction of travel the length of the Blue flash will increase, to the point that the LED is solid Blue which indicates it is now operating completely in Proportional mode.
Under normal driving conditions the Tow‑Pro® Elite will learn its mounting orientation within 20 brake applications. Note that the braking must be perceptible (applying the brake while stopped will not assist calibration).
If power is disconnected (for example, if the vehicle battery is changed) calibration memory will be lost and the unit will recalibrate itself using active calibration. This is similar to a radio losing its clock or preset station memory.
NOTICE
If no trailer is connected, Active Calibration may occur as normal without any indication from the LED. The LED will already be Blue when the trailer is connected. Essentially, whether a trailer is connected or not, just drive normally and Active Calibration will ensure the Tow‑Pro® Elite learns the correct direction of travel.
OPERATION




4.1 ADJUSTING THE BRAKING FORCE
In both modes the braking level can be adjusted to suit varying trailer loads, braking requirements or user comfort by adjusting the control knob on the remote head.The lower end of the scale (below level 5) should be used as a starting point and adjusted accordingly once braking requirements are established.
If a lighter braking level is required, turn the control knob to a lower number (anti‑clockwise) to reduce the trailer braking force. Similarly, turn the gain control knob to a higher number (clockwise) to increase the trailer braking force.
The braking level will be indicated by the LED changing to a shade of RED when the brakes are applied. The higher the braking level, the more RED the LED will glow.
A setting of ‘0’ will result in no trailer braking output.
4.2 MANUAL OVERRIDE
Pressing the gain control knob whilst driving will apply the manual override brake. The manual override brake will apply the trailer brakes only, and will also apply the trailer brake lights and will turn the LED indicator RED.
Depending on the vehicle wiring it may also apply the vehicle brake lights.
The manual override is designed to be used when the trailer brakes need to be applied without the vehicle brakes, such as correcting trailer ‘sway’ whilst traveling. In Proportional mode the manual override will apply the trailer brake to a level equivalent to ‘light’ vehicle braking.
In User Controlled mode the manual override will apply the trailer brakes to the level set on the gain control knob.
In both modes the braking force can be adjusted by turning the gain control knob, either higher or lower, even whilst applying the manual override brakes.
Manual override should not be used in place of the regular vehicle brakes.
4.3 OPERATING MODES
The Tow‑Pro® Elite offers two modes of operation — Proportional and User Controlled. On the first application of power to the black wire, the Tow‑Pro® Elite will start‑up in Proportional mode.
Every time a trailer is connected, the Tow‑Pro® Elite will start up in the mode that was last selected (provided the black wire has remained connected to power/battery positive).
4.3.1 PROPORTIONAL MODE (BLUE LED)
If the status indication LED on the control knob is glowing BLUE, the Tow‑Pro® Elite is in Proportional Mode. In Proportional Mode, the Tow‑Pro® Elite will apply the trailer brakes at a level proportional to the vehicle deceleration. The control knob setting, 0 to 10, will set the brakes from a lighter to a heavier trailer brake application. Simply put, the harder the vehicle brakes are applied, the harder the trailer will brake. This mode is designed for highway traveling or everyday use and requires minimal input from the user whilst traveling.
4.3.2 USER CONTROLLED MODE (GREEN LED)
If the status indication LED on the control knob is glowing GREEN, the Tow‑Pro® Elite is in User Controlled Mode. In User Controlled Mode, the Tow‑Pro® Elite will apply the trailer brakes to the level set by the user on the gain control knob. The control knob setting, 0 to 10, will set the brakes from Zero to Full trailer brake application. Simply put, the trailer will brake to the level set by the control knob (regardless of how hard the vehicle brakes). This mode is often preferred for off road or precision use and may require frequent attention from the user.
NOTICE
It is important to consider the road surface and conditions when selecting a mode and level setting. When changing conditions we advise to review your controller settings and adjust according to your preference.
4.3.3 CHANGING MODES
Changing modes can only be completed with a trailer connected. Ensure the vehicle has come to a complete stop before beginning the mode change process.
Changing between modes requires the user to complete the following process:
- Rotate the knob fully counter‑clockwise.

- Apply Vehicle Brakes.

- Double‑click the knob (two pushes within 1 second).

- Release Vehicle Brakes.

NOTICE
If you are unable to change modes, check that the remote head is not installed into a panel which is too thick and that the button is able to be depressed fully. Refer to Section 3.4 (page 15) for details.
Ensure you reset the dial to a suitable braking level after changing modes.
4.4 PARK BRAKE FEATURE
If the Tow‑Pro® Elite detects that the vehicle brakes are applied for longer than 3 seconds whilst the vehicle is stationary, it will apply the trailer brakes in an intelligent manner to reduce the required braking effort whilst decreasing the risk of rolling forward or backward whilst stopped. If the controller determines the trailer brakes are not required to keep the vehicle stationary, the output will be decreased to Zero.
4.5 VISUAL USER GUIDE
| 1 Rotate knob to adjust brake level. 1 Rotate knob to adjust brake level. | ![]() ![]() |
| 2 Brake applied (Red LED). 2 Brake applied (Red LED). | ![]() ![]() |
| 3 Light application of Trailer Brakes only. 3 Applies Trailer Brakes only, to the level set on the gain control knob. | ![]() ![]() |
4.6 LED INDICATION
The Tow‑Pro® Elite will indicate both Mode and Fault Condition through colour and flash sequences of the LED indicator. The table shows how the Tow‑Pro®
Elite will indicate Operation of the unit.
NOTE: LEDs will glow full brightness when gain control is adjusted or manual override is pressed.
After release of the gain control knob the LED brightness will reduce. This is designed to be less intrusive on driver’s vision at night.
| Table 4.6.1: LED Indications | ||
| Status | Indication | |
| Mode | Proportional | User Controlled |
| Calibration | Blue/Green flashing | Not Applicable |
| Sleep Mode1 | Blue ‘Breathing’ on button push2 | |
| Trailer Connected | Solid Blue | Solid Green |
| Braking | Blue to Red3 | Green to Red3 |
| Fault Code (Trailer braking performance potentially compromised) | Flashing in any sequence (other than Blue/Green) Refer to Section 4.7 (page 23) or contact an experienced auto‑electrician. |
- Sleep Mode occurs when there is no trailer connected to the vehicle.
- ‘Breathing’, as opposed to flashing, is the LED gradually getting brighter until its brightest point and then gradually dimming until off. In the event of trailer disconnection, breathing will occur after 1 minute.
- The LED will vary between the Mode Colour (Blue or Green) and Red depending on the braking force.
4.7 TROUBLESHOOTING
The Tow‑Pro® Elite features sophisticated diagnostics to warn the operator of faults in the vehicle and trailer brake wiring. Wiring faults are indicated by a series of colour coded flash patterns on the Tow‑Pro® Elite LED.
Most faults turn out to be something simple such as a poor connection from a dirty trailer socket, however a fault indication should not be ignored. It is a warning; if left unattended such wiring faults can become worse and may lead to deterioration or loss of trailer braking.
Refer to the table on pages 20 and 21 for the list of flash patterns, showing the cause and recommended course of action for each of the conditions which may be detected.
NOTICE
Even intermittent faults are detected and may be indicated until cleared.
Fault codes can be cleared by unplugging the trailer for 1 minute then reconnecting.
| LED Sequence | Symptom/Description | Possible Cause | Suggested Action |
![]() | BLUE Breathing when the Override button is pushed | The trailer brakes have not been detected OR the trailer is not plugged in | Check the trailer plug and all connections between the controller and brakes |
![]() | Flashing a Blue/Green sequence | The unit is in the process of calibrating, this is NOT a fault | Keep driving normally and the unit will calibrate |
![]() | The LED is YELLOW and flashes PURPLE twice | There is a fault with the unit and/or the installation | Check and clean trailer plug connection. Please contact REDARC or visit your local auto‑ electrician for further assistance |
![]() | The LED is YELLOW and flashes RED once per second | There is a short circuit somewhere on the brake output line (BLUE wire) | Check all wiring from the unit to the trailer brakes for any wiring faults, including at trailer plug |
![]() | The LED is YELLOW and flashes RED twice per second | There is a short circuit somewhere on the brake light circuit (RED wire) | Check all wiring from the unit to the brake light trigger for any wiring faults |
![]() | The LED is YELLOW and flashes RED four times per second | There is a break/open circuit somewhere along the Tow‑Pro® Elite’s Ground circuit (WHITE wire) |
Check all ground connections and associated wiring for any wiring faults |
![]() | The LED is BLUE and flashes RED once per second when vehicles brake not applied | The unit has detected that the Remote Cable is faulty or it is in calibration mode with a permanent input on the brake light trigger | Check the Remote cable is fully plugged in, otherwise replace; check red wire has 0 V when vehicle brake is not applied |
| The LED is flashing RED | The unit has detected an internal fault of your Al‑Ko iQ7 hydraulic/pneumatic system | Check for faults according to the manual for the Al‑Ko iQ7 actuator | |
| There is a voltage drop between the trailer ground and the vehicle ground | If you don’t have an Al‑Ko iQ7, check for suitable wiring on the trailer ground circuit |
| LED Sequence | Symptom/Description | Possible Cause | Suggested Action |
| The LED is flashing GREEN only whilst braking | Loss of supply power or Circuit Breaker cycling | Check supply (BLACK) wire for good connection & check circuit breaker/fuse not blown and correct value | |
| The LED is flashing GREEN at any time | Hesitation during connection of BLACK wire possibly causing incomplete startup sequence | Disconnect BLACK wire, wait 1 minute and reconnect BLACK wire to the battery |
| The LED is flashing GREEN at any time or only when not braking | Low continuous voltage on brake light (RED) wire | Check that RED wire is connected to a point that is 0 V when the brakes are off and 12 V (or 24 V for Electric Brake installation) with the brakes applied | |
| The LED is flashing BLUE | The Remote Head cable may be damaged | Replace the cable between the Remote Head and the Main Unit | |
| The LED is flashing BLUE | The power supply to the unit is not stable | Check the BLACK and WHITE wires for loose connections | |
| The LED is flashing BLUE | The RED wire is (constantly) at a low voltage | Check the voltage at the RED wire and reassess the connection point if necessary | |
![]() | The LED flashes an unusual colour sequence randomly whilst braking | There is a short circuit on the output (BLUE) wire or the Fuse or Circuit Breaker is overloaded | Check for short circuit on brake light (RED) circuit |
| Check for short circuit on trailer brake (BLUE) circuit, including moving brake swing arms | |||
| Check that no other devices are running from the same Fuse or Circuit Breaker as the Tow‑Pro® Elite | |||
![]() | LED only lights up when braking | The power wire is most likely not connected brake light fuse may have blown | Check supply (BLACK) wire for connection problems and check circuit breaker/fuse is not blown |
![]() | The LED is not working at all | There is a bad connection to the trailer | Check the trailer wiring as the unit is not recognizing that a trailer is connected |
![]() | The LED is not working at all | There is a bad connection between the Main Unit and Remote Head | Check that the Remote Head cable is correctly plugged in to both the Main Unit and Remote Head |
PERIODIC MAINTENANCE AND CHECKS
WARNING
Ensure that your trailer brakes are installed and are operating correctly:
Improperly installed and/or faulty trailer brakes can cause erratic vehicle or trailer behavior with the potential to cause a road accident. For this reason, it is of utmost importance that your trailer braking system be installed/maintained by a qualified installer.
Always check brakes at low speed each time a trailer is attached to your vehicle.
Immediately After Installation (To be done by a qualified Auto‑Electrician), Test the installation/ vehicle wiring. Testing your vehicle wiring is best done by connecting a test light (max. 21 W filament globe) to the brake output, pushing the manual override and having someone check that the test lamp lights up.
BEFORE EACH TRIP
It is important to ensure that your system is operating correctly before you set out. The following should be checked, along with standard mechanical maintenance, each time you attach your trailer:
- Correct brake light operation on both your vehicle and trailer.
- Correct operation and setting of the electric brake controller.
- Correct operation of your trailer brakes.
- Check that your breakaway system is operating correctly and that the breakaway battery is healthy (if applicable).
- Ensure that the tow hitch, and safety chains and weight distribution systems are setup correctly.
PERIODICALLY
It is important to have a qualified technician check the function of your trailer system on a periodic basis to ensure that everything is operating correctly. REDARC recommend that you visit a qualified technician before the beginning of each holiday season to ensure that any towing aids or systems are working correctly.
OTHER CONSIDERATIONS
Please consider these points whilst towing a trailer:
- Ensure that your vehicle is capable of towing the trailer.
- Ensure that you adjust your driving style to allow more time to change lanes and brake.
- Always remember that your electric brake controller is designed to supplement your vehicle brakes; do NOT use the Tow‑Pro® Elite manual override in place of your vehicle foot brake.
- REDARC recommend professional towing training before attempting to tow a trailer.
FREQUENTLY ASKED QUESTIONS
A Blue/Green flash sequence indicates that the unit is in the process of calibration, as the unit becomes more confident in it’s calibration the Blue will appear for longer. Continue driving and eventually this will turn to a solid Blue.
See Section 4.3.3 (page 20).
Yes, see Section 3.2.3 (page 12).
Yes, the unit can be installed inside the vehicle at any angle, provided it is firmly secured and in a location which allows access to the intended remote head location. See “Mounting the main unit” (page 9), “Mounting the Remote Head” (page 15) and “Mounting the Remote Head on a Dash or Console Panel” (page 16) for more information.
The controller is capable of supplying 3‑axle setups at 12 V or 24 V inputs up to the maximum rated braking ability of the brakes. You must also ensure that your trailer brakes are adequate for the trailer load.
No, the remote head cable is not a standard cable and REDARC recommend not to cut and extend the supplied cable. REDARC have a range of non‑standard cable lengths available on our website.
Yes, the manual override can be adjusted whilst it is being applied by turning the gain control knob. For more information on manual override, see Section 4.2 on page 18.
The Tow‑Pro® Elite is designed to apply the trailer brakes whether the vehicle is travelling forward or in reverse. The effectiveness of the brake application in reverse will depend on the mechanical design of your particular electric brake system.
Yes, the Tow‑Pro® Elite is designed to operate up to 3‑axle trailers.
The knob, nut or bezel can be purchased as spare parts.
No, as most ‘power sockets’ are rated around 10 A which is insufficient to power trailer brakes and stop lamps circuits. In addition, these outlets may not be powered continuously.
WARRANTY
LIMITED WARRANTY
For full warranty terms and conditions, visit the Warranty page of the REDARC website.
Refer to the web address and contact details applicable to your region.
Australia, New Zealand & Europe
www.redarc.com.au/warranty
REDARC Electronics Pty Ltd
23 Brodie Road (North),
Lonsdale SA 5160
Australia
Australia
+61 8 8322 4848
New Zealand +64‑9‑222‑1024
UK & Europe +44 (0)20 3930 8109
North America
www.redarcelectronics.com/warranty
REDARC Corporation c/o Shallco, Inc.
308 Component Dr.
Smithfield, NC 27577
USA
+1 (704) 247‑5150
Canada +1 (604) 260‑5512
Mexico +52 (558) 526‑2898
CHECKING THE PRODUCT SERIAL NUMBER
The Product Serial Number is located on the side of the Main Unit and on the side of the Product Packaging.
The Serial Number Label contains the Part Number (circled in BLUE) and the Serial Number (circled in RED).
The first 4 digits of the serial number indicate the YEAR and MONTH of manufacture, in the format YYMM.

Design and specifications are subject to change without notice.
Copyright © REDARC Electronics Pty Ltd. All rights reserved.
REDARC®, THE POWER OF REDARC®, and Tow-Pro® are trademarks of REDARC Electronics Pty Ltd.

CONTACT
Tech Support 1300 REDARC (1300‑733‑272)
Australia +61 8 8322 4848
New Zealand +64 9 222 1024
UK & Europe +44 (0)20 3930 8109
redarc.com.au
USA +1 (704) 247‑5150
Canada +1 (604) 260‑5512
Mexico +52 (558) 526‑2898
redarcelectronics.com
WAREBRH-ACC3 REV6











































