frame displays DW-PNL-3-DW-CAB-3 Lit Back Panels

DW backboards with Cabinets
Step 1 use toggle bolts to attach Z-Brackets to the wal
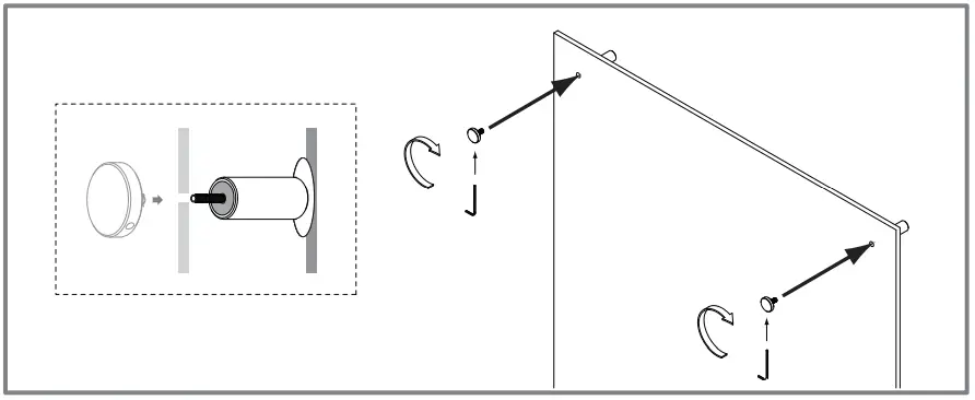
Step 2 Attach standoffs to the backboard (long bolt, washers, and nut)
Step 3 Attach LED Arms to the backboard
Step 4 Hang the backboard with the LED arm on the Z-brackets from step 1
Step 5 Attach the Pins to the acrylic panel
Step 6 Attach and secure the acrylic panel to the standoffs on the backboard
Step 7 Screw in the Cabinet legs
Step 8 Place the cabinet below DW panel
















