LIGHTING THE WAY FOR SIXTY YEARS
ASSEMBLY INSTRUCTION
MODEL#BRK-A3702-BF
BRK-A3702-BF Carols Lighting

All electrical components must be installed by a licensed electrician in accordance with the National Electric Code and the appropriate local electrical codes.
You will need 2- Candelabra Base Bulb 40 Watts Recommended 60 Watts Max.
USE LED BULBS FOR EXTENDED USE This fixture is Dry rated
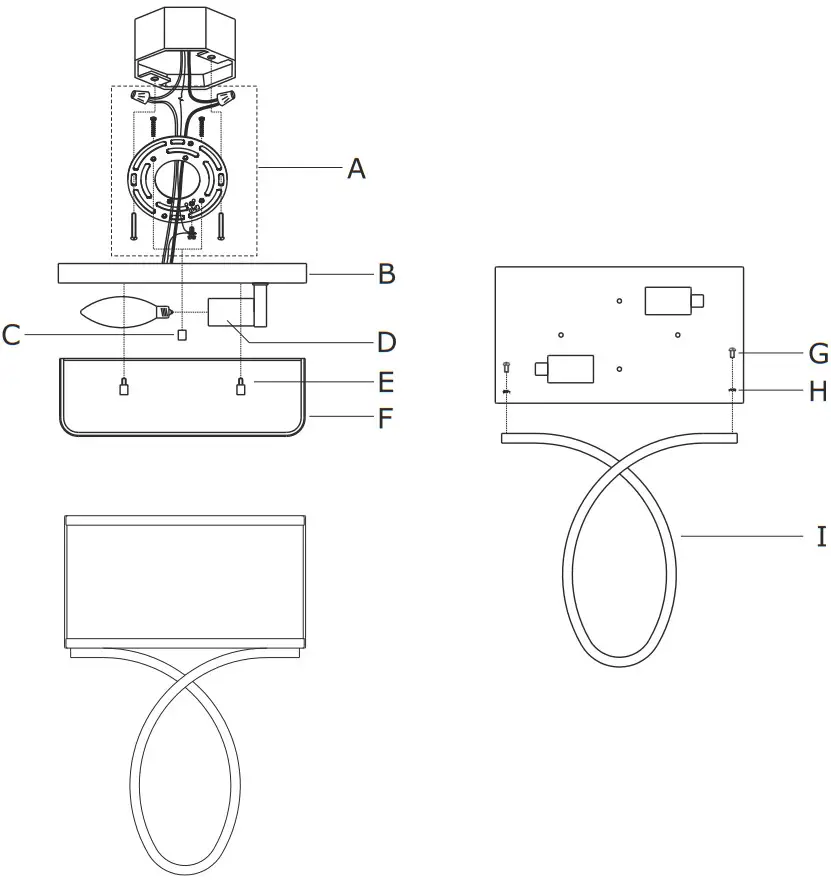
How to install
- Attach the decorative arm to the bottom of backplate with the lock washers and screws.
- Install the mounting plate to the outlet box using two outlet box screws.
- Install backplate onto the mounting plate, and secure with the ball nut.
- Install the fabric shade onto the backplate, and secure with the finial.
- Install the bulb(not included) into socket.
WARNING: This product can expose you to Lead which is known to the state of California to cause cancer and/or birth defects or reproductive harm. For more information go to www.P65Warnings.ca.gov
Part Number
Part Numbers
A. (1)-Mounting hardware
B. (1)-Backplate L10’’xW5-1/2’’xH3/4’’ #XRF3702BFBKP10IN
C. (2)-Ball nut #XRF3702BFBANUT
D. (2)-Socket
E. (2)-Finial #XRF3702BFFIN
F. (1)-Fabric shade #XRF3702SHA9.875IN
G. (2)-Screw
H. (2)-Lock washer
I. (1)-Decorative arm

















