FAR-6005-AG Northern Lights
Instruction Manual

FAR-6005-AG Northern Lights
ASSEMBLY INSTRUCTION MODEL #FAR-6005-AG

WARNING
All electrical components must be installed by a licensed electrician in accordance with the National Electric Code and the appropriate local electrical codes.![]()
You will need 4-Cand Bulb
40 Watts Recommended 60 Watts Max
Bulb not included USE LED BULBS FOR EXTENDED USE
This fixture is Damp rated
How to Install
- Place the mounting plate over the outlet box and mark the 4 points on the wall surface at the center of 4 holes on the mounting plate.
- Drill 4 holes at the marked points and insert the wall anchors.
- Attach the mounting plate over the outlet box using two outlet box screws. Insert the anchor screws into the wall anchors to tighten it.
- Install the recommended bulbs (not included) into each socket.
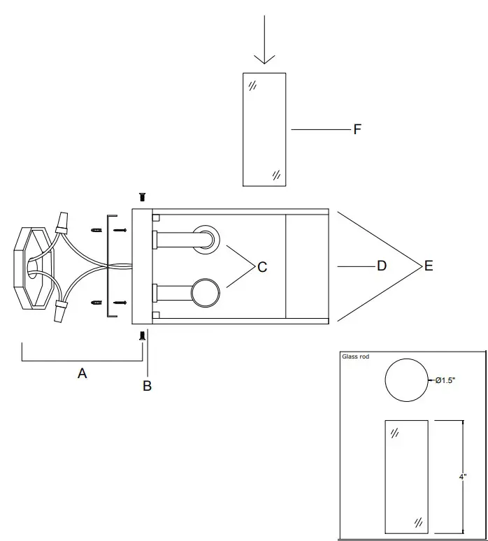
- Insert the glass rod into the slots on the frame.
WARNING: This product can expose you to Lead, which is known to the State of California to cause cancer and/or birth defects or reproductive harm. For more information go to www.P65Warnings.ca.gov
PART NUMBER MODEL #FAR-6005-AG
Part Number

Part Numbers
A.Mounting Hardware
(2)Wire Nut
(4)Wall anchor
(4)Anchor screw
(6)Screws
(1)Mounting Plate
(1)Green Ground Screw
B.(1)Back plate;21.3″x4″x0.7h;XMO6005AGBKP21.3IN
C.(4)Socket
D.(2)Metal rod
E.(1)Frame
F.(13)Glass rod;1.5″Wx4″H;XMO6000GLAROD4IN




















