HAMRON 014499 Rear Lights Set for Trailer

SAFETY INSTRUCTIONS
Only use the product as it is intended to be used. Do not dismantle or modify the product. Only use the spare parts and accessories recommended in these instructions. The use of other spare parts or accessories can result in personal injury and/or material damage.
SYMBOLS


DESCRIPTION
- Number plate light (white)
- Direction indicator (orange)
- Fog light (red)
- Reversing light (white)
- Rear light (red)
- Triangular reflector (red)
- Brake light (red)
- Bayonet connector right (green)
- Bayonet connector left (yellow)
- Trailer connector bayonet
INSTALLATION
IMPORTANT:
- Vehicle lighting, vehicle electronics and other vehicle parts should be installed by qualified personnel.
- The cord and connections should be well fastened to avoid loose contact or breakage as a result of vibration or other mechanical stress when in use.
- Do not overtighten the screws – risk of cracking the glass or socket.
POSITIONING
- As per ECE directive no. 48.
- A. Max 400 mm
- B. Min 350 mm
- C. Max 900 mm
- D. Min 600 mm






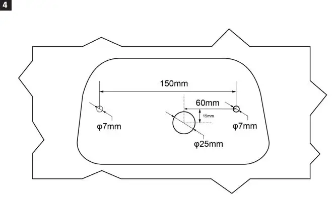
If there are no predrilled holes on the trailer, drill holes as per figure 3 (left rear light) and 4 (right rear light). Fasten the rear lights in the holes with the supplied screws and nuts. Connect the green bayonet connector to the right rear light and the yellow one to the left rear light as per the figure. Fit the guide pin in the slot on the bayonet connector (A) and press in place. Twist clockwise so that the bayonet connector locks in place.
MAINTENANCE
CLEANING
- Wash the glass under running water and it necessary With a mild car shampoo or the equivalent.
- Do not use strong detergent or degreaser solvent-this can cause the plastic glass to crack.
- Do not use abrasive detergent (scotchbrite or equivalent).



















