Installation Instructions

![Schlage Keyless Touchscreen Lever [FE695]](https://static-data1.manualsee.com/1/img/162/20272/2020/12/Schlage-Keyless-Touchscreen-Lever-FE695.jpg)
Schlage Keyless Touchscreen Lever [FE695]
Keyless Touchscreen Lever


Prepare for Installation
Tools Needed
- Phillips screwdriver, #1 and #2 bits
- Tape Measure
- Pencil
Optional
- Flathead Screwdriver
- Wood Block
- Hammer
IMPORTANT NOTES
DO NOT use a power drill for installation!
- Install and test lock with door open to avoid being locked out.
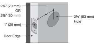
A Check door dimensions.
See consumer.schlage.com/Service-Support for door preparation instructions if dimensions are different.

B Change faceplate, if necessary.
Choose the drawing that matches your door edge. If the hole has no mortise, change to the circular faceplate.



Install Lock
1. Install latch.
Make sure latch angle faces door jamb.

2. Press levers onto lever posts.

3. Remove battery cover from the interior thumbturn assembly.
Unscrew the cover and lift down and out to remove.
![]()
4. Install the touchscreen on the outside of door.
Bar should slide smoothly through hole in latch. If not, check door dimensions.

5. Install the interior lever assembly.
5a Route wire through indicated hole below.

5b Secure interior assembly with screws.

6. Connect wire and battery.

7. Place battery in holder and tuck wires.
Tuck battery and wires behind the tabs.

8. Install battery cover.
Angle the cover up to install, then screw the cover in.

9. Install strike onto door jamb.

10. If needed, switch levers.




Test Lock
A. Unlock.

Yes. Lock is installed correctly.
No. Latch retracted but did not extend (latch bound). Uninstall the lock, check step 1, and make sure the latch is facing the right direction.
No. Nothing happened. Make sure the cable is connected in step 6, then try again.
If your lock is not working after the test, uninstall the lock and make sure that the thumbturn is vertical throughout installation!
Program Lock
See the Schlage Touch™ User Guide for additional information. Go to schlage.com for videos and more. Register your product at RegisterMySchlage.com.
Lock Removal
If you need to remove the lock from the door, reverse the installation steps. Remember to disconnect the cables before removing the lock!
Lifetime Limited Mechanical and Finish Warranty and 3-Year Limited Electronics Warranty
Subject to the terms and conditions of this warranty, Schlage extends a lifetime limited mechanical and finish warranty and a three-year limited electronics warranty to the original consumer user (“Original User”) of our Schlage brand product (“Product”) against defects in
material and workmanship, as long as the Original User occupies the residential premises upon
which the Product was originally installed.
What Schlage will do: Upon return of the defective Product to Schlage, Schlage’s sole obligation, at its option, is to either repair or replace the Product, or refund the original purchase
price in exchange for the Product.
Original User: This warranty only applies to the Original User of Products. This warranty is not
transferable.
What is not covered: The following costs, expenses and damages are not covered by the provisions of this limited Warranty: (i) labor costs including, but not limited to, such costs as the removal and reinstallation of Product; (ii) shipping and freight expenses required to return Product to Schlage; and (iii) any other incidental, consequential, indirect, special and/ or punitive damages, whether based on contract, warranty, tort (including, but not limited to, strict liability or negligence), patent infringement, or otherwise, even if advised of the possibility of such damages. Some local laws do not allow the exclusion or limitation of incidental or consequential damages, so the above exclusion or limitation may not apply to you.
The provisions of this warranty do not apply to Products: (i) used in commercial applications; (ii) used in common area applications; (iii) used for purposes for which they are not designed or intended; (iv) which have been subjected to alteration, abuse, misuse, negligence or accident; (v) which have been improperly stored, installed, maintained or operated; (vi) which have been used in violation of written instructions provided by Schlage; (vii) which have been subjected to improper temperature, humidity or other environmental conditions; or (viii) which, based on Schlage’s examination, do not disclose to Schlage’s satisfaction non- an implied warranty lasts, so that the above limitations may not fully apply. Refer to your local laws for your specific rights under this warranty.
Guaranteed Fit Program: Schlage products are designed to fit standard residential door
preparations and retrofit existing tubular locks. Note: Mortise locks and preparations are not
considered standard and are not guaranteed under this program.
During the initial installation, if there is a problem with the Product’s performance, the Original
User may simply contact Schlage Customer Service at 888-805-9837 in the U.S. and Canada or 800-506-7866 in Mexico for assistance.Program and warranty claims: If you encounter a residential door preparation or fit issue under the Guaranteed Fit Program or have a claim under
this warranty, please contact Schlage Customer Service for repair, replacement or refund of the
original purchase price in exchange for the return of the Product to Schlage.
Schlage Customer Service
Calling From:
U.S.A.: (888) 805-9837
Canada: (800) 997-4734
Mexico: 018005067866

© Allegion 2014
Printed in U.S.A.
P516-866 Rev. 08/14-B
Read More About This Manual & Download PDF:
Schlage Keyless Touchscreen Lever [FE695] Instructions Manual – Optimized PDF
Schlage Keyless Touchscreen Lever [FE695] Instructions Manual – Original PDF

![Schlage Keyless Touchscreen Deadbolt [be375] Instructions Manual Schlage Keyless Touchscreen Deadbolt [be375] Instructions Manual](https://static-data1.manualsee.com/1/img/161/20267/2020/12/Schlage-Keyless-Touchscreen-Deadbolt.png)











![Schlage Keypad Lock [fe575] User Manual Schlage Keypad Lock [fe575] User Manual](https://static-data1.manualsee.com/1/img/167/20295/2020/12/Schlage-Keypad-Lock.png)




