SchlageTouch Keyless Touchscreen Lock
Model FE695, Lever

Prepare for Installation
Tools Needed
- Phillips screwdriver, #1 and #2 bits
- Tape Measure
- Pencil
Optional
- Flathead Screwdriver
- Wood Block
- Hammer
IMPORTANT NOTES
DO NOT use a power drill for installation!
- Install and test lock with door open to avoid being locked out.
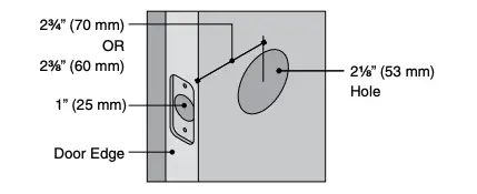
A. Check door dimensions.
See consumer.schlage.com/Service-Support for door preparation instructions if dimensions are different.

B. Change faceplate, if necessary.
Choose the drawing that matches your door edge. If the hole has no mortise, change to the circular faceplate.

Install Lock
1. Install latch.
Make sure latch angle faces door jamb.

2. Press levers onto lever posts

3. Remove battery cover from the interior thumbturn assembly
Unscrew the cover and lift down and out to remove.

4. Install the touchscreen on the outside of door.
Bar should slide smoothly through hole in latch. If not, check door dimensions.

5. Install the interior lever assembly.
5a Route wire through indicated hole below.

5b Secure interior assembly with screws.

6. Connect wire and battery.

7. Place battery in holder and tuck wires.
Tuck battery and wires behind the tabs.

8. Install battery cover.
Angle the cover up to install, then screw the cover in.

9. Install strike onto door jamb.

10. If needed, switch levers.


Test Lock
a. Unlock.

Did latch retract and then extend?
Yes. Lock is installed correctly.
No. Latch retracted but did not extend (latch bound). Uninstall the lock, check step 1, and make sure the latch is facing the right direction.
No. Nothing happened. Make sure the cable is connected in step 6, then try again.
Basic Programming Functions
Go to schlage.com/faqs-touch for videos, more advanced programming instructions, and more. Register your product at RegisterMySchlage.com.
ADD OR REMOVE USER CODE

CHANGE THE PROGRAMMING CODE

Battery Jump
The emergency battery jump start can be used if your battery is dead to unlock your door. Do not remove the battery until you have opened your door.
WARNING: The lock will remain unlocked until you change the battery or manually relock the door from the inside!

SchlageTouch Keyless Touchscreen Lock FE695 User Manual – Optimized PDF
SchlageTouch Keyless Touchscreen Lock FE695 User Manual – Original PDF
![Schlage Keyless Touchscreen Lever [fe695] Instructions Manual Schlage Keyless Touchscreen Lever [fe695] Instructions Manual](https://static-data1.manualsee.com/1/img/162/20272/2020/12/Schlage-Keyless-Touchscreen-Lever.png)



![Schlage Keyless Touchscreen Deadbolt [be375] Instructions Manual Schlage Keyless Touchscreen Deadbolt [be375] Instructions Manual](https://static-data1.manualsee.com/1/img/161/20267/2020/12/Schlage-Keyless-Touchscreen-Deadbolt.png)
![Schlage Keypad Lock [fe575] User Manual Schlage Keypad Lock [fe575] User Manual](https://static-data1.manualsee.com/1/img/167/20295/2020/12/Schlage-Keypad-Lock.png)













